TOP
|
特許
|
意匠
|
商標
特許ウォッチ
Twitter
他の特許を見る
公開番号
2025124410
公報種別
公開特許公報(A)
公開日
2025-08-26
出願番号
2024020447
出願日
2024-02-14
発明の名称
重荷重用タイヤ
出願人
住友ゴム工業株式会社
代理人
弁理士法人サンクレスト国際特許事務所
主分類
B60C
19/08 20060101AFI20250819BHJP(車両一般)
要約
【課題】静電気の蓄積を抑制でき、転がり抵抗の低減を達成できる、重荷重用タイヤ2の提供。
【解決手段】タイヤ2はトレッド4とを備える。トレッド4は複数の周方向溝46を有する。複数の周方向溝46によって構成される複数の陸部48は、複数のメイン陸部64を含む。隣り合うメイン陸部64間の周方向溝46は周方向細溝54である。周方向細溝54は胴部66と拡幅部68とを備える。拡幅部68の最大幅W2は胴部66の最小幅W1よりも広い。複数の前記メイン陸部64はそれぞれ、横断サイプ78を有する。横断サイプ78はサイプ本体80と管状部82とを備える。管状部82の最大幅W4はサイプ本体80の溝幅W3よりも広い。トレッド4は導電部42を備える。いずれか一つのメイン陸部64が導電部42を備える。
【選択図】図3
特許請求の範囲
【請求項1】
一対のビードと、
一対の前記ビードの間を架け渡すカーカスと、
前記カーカスの径方向外側に位置する補強層と、
路面と接する外周面と、前記補強層と接する内周面とを有するトレッドと
を備え、
前記トレッドが、周方向に連続してのびる複数の周方向溝を有し、
複数の前記周方向溝が、複数の陸部を前記トレッドに構成し、
複数の前記陸部が、隣り合う前記周方向溝間に位置する、複数のメイン陸部を含み、
隣り合う前記メイン陸部間に位置する前記周方向溝が周方向細溝であり、
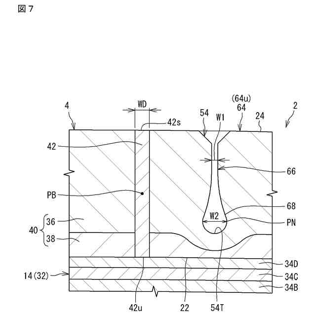
前記周方向細溝が、胴部と、前記胴部の径方向内側に位置する拡幅部とを備え、
前記拡幅部の最大幅W2が、前記胴部の最小幅W1よりも広く、
前記トレッドが路面と接地して変形することで、前記周方向細溝が有する一対の溝壁同士が前記胴部において互いに接触し、
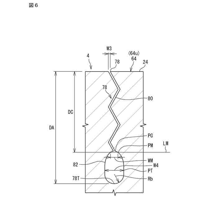
複数の前記メイン陸部がそれぞれ、前記メイン陸部を横断する横断サイプを有し、
前記横断サイプが、サイプ本体と、前記サイプ本体の径方向内側に位置する管状部とを備え、
前記管状部の最大幅W4が前記サイプ本体の溝幅W3よりも広く、
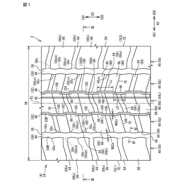
前記トレッドが、前記外周面と前記内周面との間を繋ぐ導電部を備え、
いずれか一つの前記メイン陸部が、前記導電部を備える、
重荷重用タイヤ。
続きを表示(約 750 文字)
【請求項2】
前記拡幅部の最大幅W2が、前記導電部の最大幅WXよりも広い、
請求項1に記載の重荷重用タイヤ。
【請求項3】
前記管状部の最大幅W4が、前記導電部の最小幅WNよりも広い、
請求項1に記載の重荷重用タイヤ。
【請求項4】
以下に定義されるランド比率が、75%以上である、
請求項1に記載の重荷重用タイヤ。
ランド比率:正規リムに組み、内圧を正規内圧に調整した前記タイヤに、キャンバー角を0度として正規荷重の100%の荷重をかけて平らな路面に前記タイヤを接地させて得られる、接地面全体の面積値に対する、前記接地面に含まれる複数の前記陸部の接地面の合計面積値の比率
【請求項5】
前記周方向細溝の溝底が、前記導電部の径方向中心の径方向内側に位置する、
請求項1に記載の重荷重用タイヤ。
【請求項6】
前記横断サイプの溝底が、前記導電部の径方向中心の径方向内側に位置する、
請求項1に記載の重荷重用タイヤ。
【請求項7】
前記周方向溝が複数の前記周方向細溝を含み、
隣り合う前記周方向細溝間に位置する前記メイン陸部が、内側メイン陸部であり、
前記導電部を有する前記メイン陸部が、前記内側メイン陸部である、
請求項1に記載の重荷重用タイヤ。
【請求項8】
前記導電部が、前記内側メイン陸部の軸方向中心を外して前記内側メイン陸部に配置される、
請求項7に記載の重荷重用タイヤ。
【請求項9】
前記内側メイン陸部の軸方向中心が、タイヤ赤道面と一致する、
請求項7に記載の重荷重用タイヤ。
発明の詳細な説明
【技術分野】
【0001】
本発明は、重荷重用タイヤに関する。
続きを表示(約 1,600 文字)
【背景技術】
【0002】
環境への影響が考慮され、転がり抵抗の低減がタイヤには強く求められている。
転がり抵抗の低減のために、低発熱性のゴムをトレッドに適用することが検討される。低発熱性のゴムはシリカを多く含む。低発熱性のゴムからなるトレッドの電気抵抗は、カーボンブラックを多く含むゴムからなるトレッドの電気抵抗に比べて高い。
低発熱性のゴムで形成したトレッドを有するタイヤを車両に装着した場合、車両に静電気が蓄積するという懸念がある。そのため、例えば、特許文献1に記載があるように、導電性のゴムからなる導電ブリッジ(以下、導電部)がトレッドに設けられる。
【先行技術文献】
【特許文献】
【0003】
特表2006-502909号公報
【発明の概要】
【発明が解決しようとする課題】
【0004】
本発明の目的は、静電気の蓄積を抑制でき、転がり抵抗の低減を達成できる、重荷重用タイヤを提供することである。
【課題を解決するための手段】
【0005】
本発明に係る重荷重用タイヤは、一対のビードと、一対の前記ビードの間を架け渡すカーカスと、前記カーカスの径方向外側に位置する補強層と、路面と接する外周面と前記補強層と接する内周面とを有するトレッドとを備える。前記トレッドは、周方向に連続してのびる複数の周方向溝を有する。複数の前記周方向溝は、複数の陸部を前記トレッドに構成する。複数の前記陸部は、隣り合う前記周方向溝間に位置する、複数のメイン陸部を含む。隣り合う前記メイン陸部間に位置する前記周方向溝は周方向細溝である。前記周方向細溝は、胴部と、前記胴部の径方向内側に位置する拡幅部とを備える。前記拡幅部の最大幅W2は、前記胴部の最小幅W1よりも広い。前記トレッドが路面と接地して変形することで、前記周方向細溝が有する一対の溝壁同士が前記胴部において互いに接触する。複数の前記メイン陸部はそれぞれ、前記メイン陸部を横断する横断サイプを有する。前記横断サイプは、サイプ本体と、前記サイプ本体の径方向内側に位置する管状部とを備える。前記管状部の最大幅W4は前記サイプ本体の溝幅W3よりも広い。前記トレッドは、前記外周面と前記内周面との間を繋ぐ導電部を備える。いずれか一つの前記メイン陸部が、前記導電部を備える。
【発明の効果】
【0006】
本発明によれば、静電気の蓄積を抑制でき、転がり抵抗の低減を達成できる、重荷重用タイヤが得られる。
【図面の簡単な説明】
【0007】
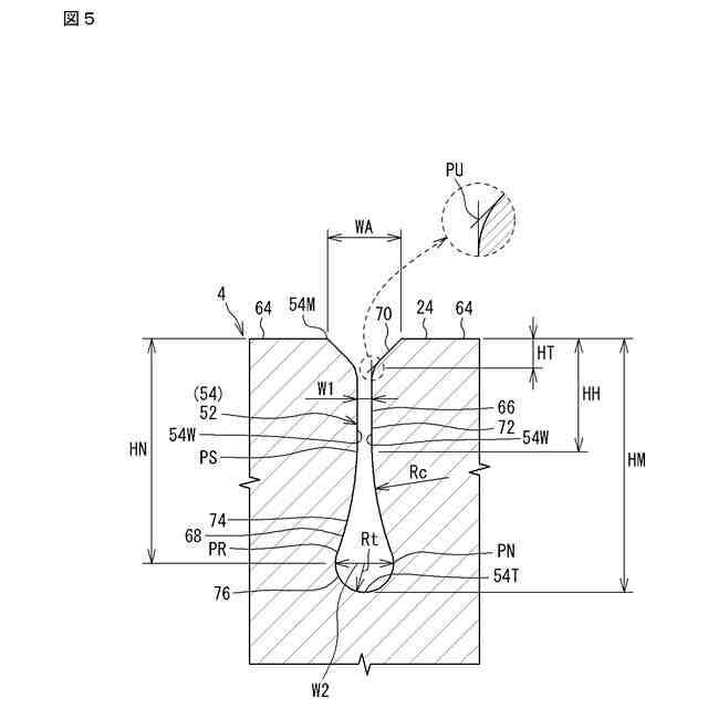
本発明の一実施形態に係る重荷重用タイヤのトレッドを示す展開図である。
図1の一部を示す拡大展開図である。
図1のIII-III線に沿った断面図である。
図1のIV-IV線に沿った断面図である。
図2のV-V線に沿った断面図である。
図2のVI-VI線に沿った断面図である。
図3の一部を示す拡大断面図である。
【発明を実施するための形態】
【0008】
以下、適宜図面が参照されつつ、好ましい実施形態に基づいて、本発明が詳細に説明される。
【0009】
本発明のタイヤはリムに組まれる。タイヤの内部には空気が充填され、タイヤの内圧が調整される。リムに組まれたタイヤはタイヤ-リム組立体とも呼ばれる。タイヤ-リム組立体は、リムと、このリムに組まれたタイヤとを備える。
【0010】
本発明において、タイヤを正規リムに組み、タイヤの内圧を正規内圧に調整し、このタイヤに荷重をかけていない状態は、正規状態と称される。
(【0011】以降は省略されています)
この特許をJ-PlatPat(特許庁公式サイト)で参照する
関連特許
住友ゴム工業株式会社
タイヤ
1か月前
住友ゴム工業株式会社
タイヤ
1か月前
住友ゴム工業株式会社
タイヤ
18日前
住友ゴム工業株式会社
タイヤ
17日前
住友ゴム工業株式会社
タイヤ
1か月前
住友ゴム工業株式会社
タイヤ
13日前
住友ゴム工業株式会社
タイヤ
12日前
住友ゴム工業株式会社
タイヤ
6日前
住友ゴム工業株式会社
タイヤ
6日前
住友ゴム工業株式会社
タイヤ
24日前
住友ゴム工業株式会社
タイヤ
1か月前
住友ゴム工業株式会社
タイヤ
4日前
住友ゴム工業株式会社
タイヤ
1か月前
住友ゴム工業株式会社
タイヤ
今日
住友ゴム工業株式会社
ゴルフボール
1か月前
住友ゴム工業株式会社
三次元構造体
1か月前
住友ゴム工業株式会社
ゴルフボール
13日前
住友ゴム工業株式会社
ゴルフボール
1か月前
住友ゴム工業株式会社
空気入りタイヤ
1か月前
住友ゴム工業株式会社
光硬化性組成物
1か月前
住友ゴム工業株式会社
空気入りタイヤ
1か月前
住友ゴム工業株式会社
空気入りタイヤ
1か月前
住友ゴム工業株式会社
重荷重用タイヤ
1か月前
住友ゴム工業株式会社
重荷重用タイヤ
1か月前
住友ゴム工業株式会社
空気入りタイヤ
1か月前
住友ゴム工業株式会社
空気入りタイヤ
今日
住友ゴム工業株式会社
空気入りタイヤ
1か月前
住友ゴム工業株式会社
重荷重用タイヤ
1か月前
住友ゴム工業株式会社
空気入りタイヤ
今日
住友ゴム工業株式会社
モデリング方法
18日前
住友ゴム工業株式会社
重荷重用タイヤ
3日前
住友ゴム工業株式会社
空気入りタイヤ
今日
住友ゴム工業株式会社
試料の作製方法
1か月前
住友ゴム工業株式会社
重荷重用タイヤ
13日前
住友ゴム工業株式会社
重荷重用タイヤ
1か月前
住友ゴム工業株式会社
バイアスタイヤ
3日前
続きを見る
他の特許を見る