TOP
|
特許
|
意匠
|
商標
特許ウォッチ
Twitter
他の特許を見る
10個以上の画像は省略されています。
公開番号
2025124389
公報種別
公開特許公報(A)
公開日
2025-08-26
出願番号
2024020402
出願日
2024-02-14
発明の名称
塗布具
出願人
三菱鉛筆株式会社
代理人
弁理士法人太陽国際特許事務所
主分類
A45D
34/04 20060101AFI20250819BHJP(手持品または旅行用品)
要約
【課題】本体を押圧することで開弁するバルブを有した塗布具にて、急激な液流出を防止しつつ適切な液供給を行う。
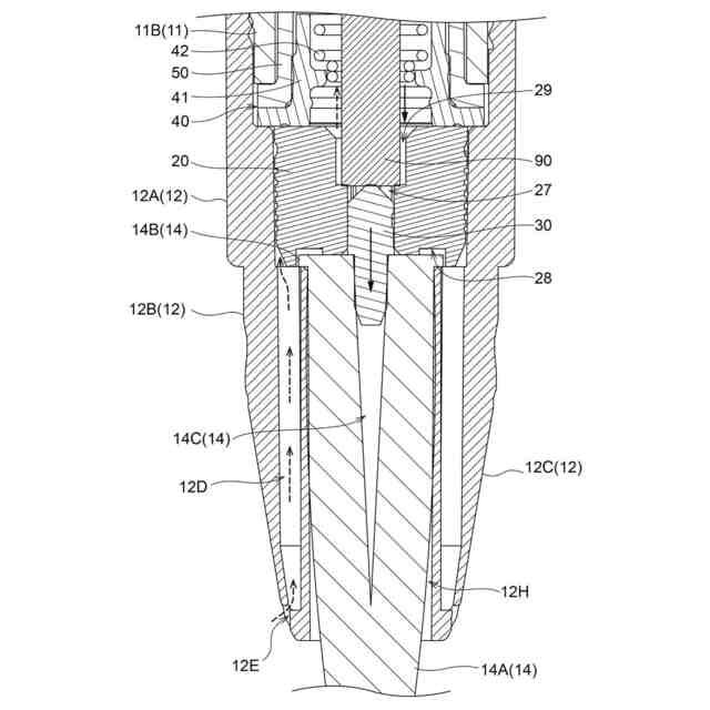
【解決手段】内部空間が塗布液を収容する塗布液収容部であるとともに、側面が押圧されることで変形可能な軸筒と、前記軸筒の内部空間の先端側に収容される弁機構と、前記塗布液を先端方向へ通すための液通孔が形成される塗布部と、前記塗布部が挿通されつつ前記軸筒の先端に装着される先軸と、前記先軸の内部と弁機構との間に収容されるとともに、前記塗布部の後端を先端方向に保持する筒状の塗布部保持部材と、前記塗布部保持部材の外周に形成される、複数箇所で折り返しつつ連続した1本の溝である空気置換溝と、を備える、塗布具。
【選択図】図3A
特許請求の範囲
【請求項1】
内部空間が塗布液を収容する塗布液収容部であるとともに、側面が押圧されることで変形可能な軸筒と、
前記軸筒の内部空間の先端側に収容される弁機構と、
前記塗布液を先端方向へ通すための液通孔が形成される塗布部と、
前記塗布部が挿通されつつ前記軸筒の先端に装着される先軸と、
前記先軸の内部と弁機構との間に収容されるとともに、前記塗布部の後端を先端方向に保持する筒状の塗布部保持部材と、
前記塗布部保持部材の外周に形成される、複数箇所で折り返しつつ連続した1本の溝である空気置換溝と、
を備える、塗布具。
続きを表示(約 500 文字)
【請求項2】
前記先軸は、
前記塗布部が挿通される塗布部挿通部と、
前記塗布部挿通部とは独立しているとともに前記空気置換溝と連通する空気置換路と、
を備えている、請求項1に記載の塗布具。
【請求項3】
前記弁機構は、
バルブ保持部材と、
前記バルブ保持部材の先端に装着される前方スプリング保持部材と、
前記バルブ保持部材に内蔵される第一バルブと、
前記第一バルブに内蔵される第二バルブと、
前記第一バルブの先端に装着されるとともに、前記第二バルブの先端部分と当接する後方スプリング保持部材と、
前記前方スプリング保持部材と前記後方スプリング保持部材との間に介装され、前記第一バルブを後方へ付勢する第一スプリングと、
前記第一バルブと前記第二バルブとの間に介装され、前記第二バルブを前方へ付勢する第二スプリングと、
前記第一スプリングの中に挿入され、前記塗布部保持部材と前記第二バルブとの間に前後に移動可能に改装される撹拌棒と、
を備える、請求項1又は請求項2に記載の塗布具。
発明の詳細な説明
【技術分野】
【0001】
本開示は、軸筒内部に弁機構を備え、軸筒押圧により塗布液を供給する塗布具に関する。
続きを表示(約 1,700 文字)
【背景技術】
【0002】
従来、軸筒内部に弁機構を備えた、いわゆるバルブ式の塗布具では軸筒の押圧で開弁する方法(特許文献1)や後端をノックすることで開弁する方法(特許文献2)などが知られている。一方、それらの方法では、ペン芯として筆穂のような軟質なものは使用できず、また、化粧料のような塗布液の吐出量をコントロールしにくいなどの課題があった。一方、キャップの装着により内部の弁機構が閉鎖される塗布具も開示されている(特許文献3)。また、容器内の圧力上昇を防ぐ塗布具も開示されている(特許文献4)。
【先行技術文献】
【特許文献】
【0003】
実開平6-3686号公報
特開平9-271710号公報
特開2021-115710号公報
特開2008-438号公報
【発明の概要】
【発明が解決しようとする課題】
【0004】
ここで、軸筒として弾性に富むブロー容器を使用し、容器側面を押圧することで開弁させ液を流出させる機構を有した塗布具では、液が開弁とともに噴出することがあった。そこで、本開示の態様は、本体を押圧することで開弁するバルブを有した塗布具にて、急激な液流出(いわゆるドバ落ちと称することがある)を防止するとともに、押圧の強弱で液吐出量のコントロールを容易にすることを課題とする。
【課題を解決するための手段】
【0005】
本開示の様態は、下記の通りである。
【0006】
<態様1>
態様1の塗布具は、内部空間が塗布液を収容する塗布液収容部であるとともに、側面が押圧されることで変形可能な軸筒と、
前記軸筒の内部空間の先端側に収容される弁機構と、
前記塗布液を先端方向へ通すための液通孔が形成される塗布部と、
前記塗布部が挿通されつつ前記軸筒の先端に装着される先軸と、
前記先軸の内部と弁機構との間に収容されるとともに、前記塗布部の後端を先端方向に保持する筒状の塗布部保持部材と、
前記塗布部保持部材の外周に形成される、複数箇所で折り返しつつ連続した1本の溝である空気置換溝と、
を備える。
【0007】
態様1の塗布具の構成によると、空気置換溝が空気は通すが塗布液は通さない構造であることで、液の急激な吐出を防ぎつつ適切な液供給を行うことが可能となる。
【0008】
<態様2>
態様2の塗布具は、態様1の構成に加え、前記先軸は、
前記塗布部が挿通される塗布部挿通部と、
前記塗布部挿通部とは独立しているとともに前記空気置換溝と連通する空気置換路と、
を備えている。
【0009】
ここで、空気置換路が塗布部挿通部とは独立しているとは、空気置換路と塗布部挿通部とは直接連絡していないことを意味する。態様2の塗布具の構成によると、先軸に空気通路を別途設けることで空気と液体の置換を促進し、より安定した液供給を行うことが可能となる。
【0010】
<態様3>
態様3の塗布具は、前記弁機構は、
バルブ保持部材と、
前記バルブ保持部材の先端に装着される前方スプリング保持部材と、
前記バルブ保持部材に内蔵される第一バルブと、
前記第一バルブに内蔵される第二バルブと、
前記第一バルブの先端に装着されるとともに、前記第二バルブの先端部分と当接する後方スプリング保持部材と、
前記前方スプリング保持部材と前記後方スプリング保持部材との間に介装され、前記第一バルブを後方へ付勢する第一スプリングと、
前記第一バルブと前記第二バルブとの間に介装され、前記第二バルブを前方へ付勢する第二スプリングと、
前記第一スプリングの中に挿入され、前記塗布部保持部材と前記第二バルブとの間に前後に移動可能に改装される撹拌棒と、
を備える。
(【0011】以降は省略されています)
この特許をJ-PlatPat(特許庁公式サイト)で参照する
関連特許
三菱鉛筆株式会社
鉛筆
1か月前
三菱鉛筆株式会社
筆記具
1か月前
三菱鉛筆株式会社
塗布具
5日前
三菱鉛筆株式会社
筆記具
10日前
三菱鉛筆株式会社
筆記具
5日前
三菱鉛筆株式会社
化粧料塗布具
12日前
三菱鉛筆株式会社
ノック式筆記具
1か月前
三菱鉛筆株式会社
化粧関連製品セット
5日前
三菱鉛筆株式会社
サイドノック式筆記具
12日前
三菱鉛筆株式会社
スピーカー用塗料組成物
20日前
三菱鉛筆株式会社
炭素繊維-樹脂複合シート
10日前
三菱鉛筆株式会社
筆記具用水性インク組成物
1か月前
三菱鉛筆株式会社
超音波探触子用バッキング材
24日前
三菱鉛筆株式会社
電極作製用単層カーボンナノチューブ分散液
1か月前
三菱鉛筆株式会社
非水系カーボンナノチューブスラリー及び正極用分散体
2日前
三菱鉛筆株式会社
水系化粧料組成物用顔料分散液、それを用いた水系化粧料組成物
1か月前
三菱鉛筆株式会社
筆記具用水性インク組成物、この水性インク組成物を搭載した筆記具
16日前
個人
包み箱
1か月前
個人
杖
3か月前
個人
傘
1か月前
個人
傘
6か月前
個人
折り畳み傘
3か月前
個人
財布
4か月前
個人
二重把手袋
6か月前
個人
バッグ
3か月前
個人
眼鏡ホルダー
2か月前
個人
シール
5か月前
個人
肩ベルトカバー
1か月前
個人
傘
8か月前
個人
美容用具
2か月前
個人
刺抜き具
7か月前
個人
シート状パック
6か月前
個人
滑らないヘアピン
9か月前
個人
傘の先端キャップ
5か月前
個人
補助持ち手付き傘
4か月前
ベス工業株式会社
整髪具
5か月前
続きを見る
他の特許を見る