TOP
|
特許
|
意匠
|
商標
特許ウォッチ
Twitter
他の特許を見る
10個以上の画像は省略されています。
公開番号
2025123446
公報種別
公開特許公報(A)
公開日
2025-08-22
出願番号
2025103439,2024064108
出願日
2025-06-19,2020-06-04
発明の名称
下地金具、仕上げ材取付用パネル、仕上げ材取付構造物および建物
出願人
旭化成建材株式会社
代理人
個人
,
個人
,
個人
,
個人
,
個人
主分類
E04F
13/08 20060101AFI20250815BHJP(建築物)
要約
【課題】地震時にパネルおよび仕上げ材のロッキングを阻害(拘束)しない下地金具、仕上げ材取付用パネル、仕上げ材取付構造物および建物を提供すること。
【解決手段】パネルに仕上げ材を取り付けるための複数の金具からなる下地金具であって、パネルの表面に取り付けられる第1の下地金具と、仕上げ材が直接または間接的に取り付けられる第2の下地金具と、を有し、第1の下地金具は、第1の取付軸で前記パネルに取り付けられ、第2の下地金具は、第1の取付軸と同軸上または略平行な第2の取付軸で第1の下地金具に取り付けられるとともに、第1の下地金具上で面内に回動可能とされており、第1の取付軸と第2の取付軸とは、同軸上にある場合は面外方向に取付け位置が分かれており、略平行の場合は第1または第2の取付軸を中心とした所定の半径方向に所定の間隔でずれていることを特徴とする。
【選択図】図1
特許請求の範囲
【請求項1】
パネルに仕上げ材を取り付けるための複数の金具からなる下地金具であって、
前記下地金具は、第1の下地金具と、前記仕上げ材が直接または間接的に取り付けられる第2の下地金具と、を有し、
前記第2の下地金具は、面内に回動可能とされており、
前記第2の下地金具が前記第1の下地金具に対して優先的に回動する、下地金具。
続きを表示(約 1,100 文字)
【請求項2】
前記第1の下地金具は、前記パネルに取り付けられるための第1の取付軸が挿通される挿通孔を有し、
前記第2の下地金具は、第2の取付軸が挿通される挿通孔を有し、該第2の取付軸を回動軸として面内に回動可能とされている、請求項1に記載の下地金具。
【請求項3】
前記第1の下地金具が、前記パネルに取り付けられるための第1の取付軸と、前記第2の下地金具に、前記仕上げ材が取り付けられるための第2の取付軸とは、同軸上にある場合は面外方向に取付け位置が分かれており、略平行の場合は該第1または第2の取付軸を中心とした所定の半径方向にずれている、請求項1または2に記載の下地金具。
【請求項4】
前記下地金具は、前記第1の下地金具に設けられた第2のボルトおよび該第2のボルトと螺合する第2のナット、を有し、
前記第2の下地金具は、前記第2のボルトが挿通される挿通孔を有し、該挿通孔を通じて前記第2のボルトと前記第2のナットとが螺合することにより、該第2の下地金具は前記第1の下地金具に取り付けられる、請求項1~3のいずれか一項に記載の下地金具。
【請求項5】
前記下地金具は、前記パネルに埋設された第1のナットおよび該第1のナットと螺合する第1のボルトを有し、
前記第1の下地金具は前記第1のボルトが挿通される挿通孔を有し、該挿通孔を通じて前記第1のナットと前記第1のボルトとが螺合することにより、該第1の下地金具は前記パネルに取り付けられる、請求項1~4のいずれか一項に記載の下地金具。
【請求項6】
前記第2の下地金具の固定度が、前記第1の下地金具の前記パネルに対する固定度よりも小さい、請求項1~5のいずれか一項に記載の下地金具。
【請求項7】
前記下地金具は、前記第1の下地金具に設けられた第2のボルトおよび該第2のボルトと螺合する第2のナット、を有し、
前記第2のナットが、ゆるみ止め機構を有するナット、又はダブルナットである、請求項4~6のいずれか一項に記載の下地金具。
【請求項8】
前記第1の下地金具と前記第2の下地金具との間にすべり材が配されている、請求項1~7のいずれか一項に記載の下地金具。
【請求項9】
前記第1の下地金具および/または前記第2の下地金具の断面形状が、L字、I字、コの字またはロの字形状、である、請求項1~8のいずれか一項に記載の下地金具。
【請求項10】
前記パネル1枚について、パネルの一辺に対して略平行、もしくは略水平方向に二か所以上、前記第1の下地金具が取り付けられている、請求項1~9のいずれか一項に記載の下地金具。
(【請求項11】以降は省略されています)
発明の詳細な説明
【技術分野】
【0001】
本発明は、下地金具、仕上げ材取付用パネル、仕上げ材取付構造物および建物に関する。
続きを表示(約 3,300 文字)
【背景技術】
【0002】
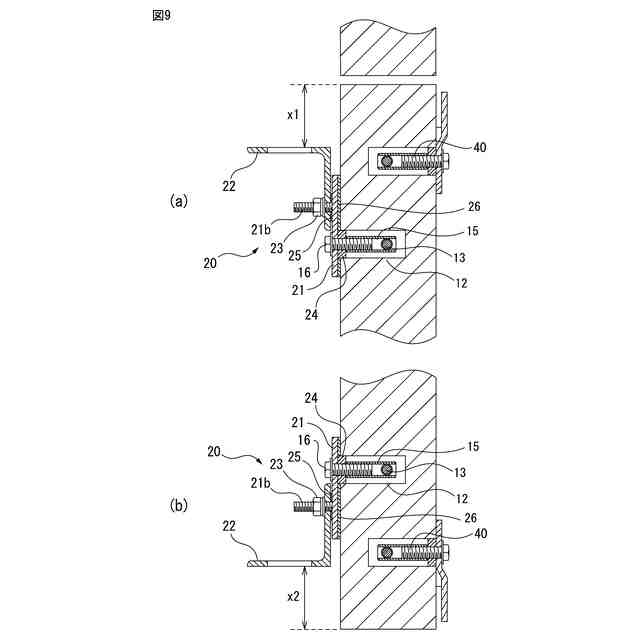
従来、パネルに仕上げ材(化粧板)による仕上げ(金属貼り、石貼り、陶板貼り等)をするために、図14に示すような仕上げ材取付用パネルが使用されている(例えば特許文献1)。
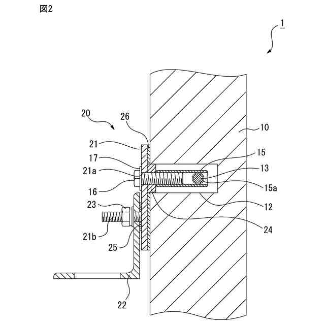
この仕上げ材取付用パネルでは、パネル110に係止用金具109によってプレート形の第2の下地金具113(受け金具)が取り付けられ、第2の下地金具113に連結部材130を介して仕上げ材131が取り付けられている。連結部材130は第2の下地金具113に溶接等で取り付けられた断面略L形の金具126と、ボルト123およびナット124により該金具126に結合されたプレート形の金具122から構成されている。
【0003】
金具122はボルト挿通孔を有するプレートの先端部に上下方向に突出する棒状の突起部を設けてなり、上側の仕上げ材131と下側の仕上げ材131のそれぞれの小口面に設けた孔に該突起部が嵌合されている。なお上側の仕上げ材131の自重はプレートにより支持されている。
【0004】
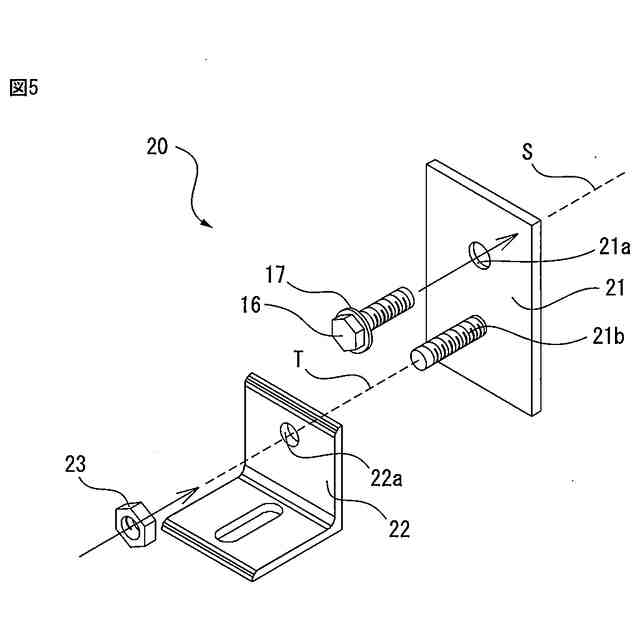
仕上げ材取付用パネルとしてALCパネルを想定した場合、図15(a)に示すように、建築用の躯体にパネル取付金具140を用いてパネル上下を2点で取付けている。この構造により、地震が起きた場合に、建物躯体の層間変位を、パネル自身がロッキングすることにより受け流している(図15(b)参照)。
【0005】
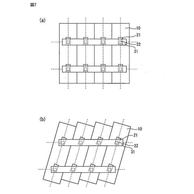
このパネルに上述の各種の金具を用いて第2の下地金具113を取付けた上に仕上げ材131が取付けられる。第2の下地金具113の場合、パネル1枚に数カ所の金具で固定された上に、金具126などの、仕上げ材131を取り付ける為の金具(連結部材)が必要となる。また、金具126は、直接に仕上げ材131を取り付ける為の定規金具(水平レベルガイド)となる。この金具126(連結部材)はそのレベルを一定にするため、パネル数枚に連続して取り付ける必要がある(図16参照)。
【先行技術文献】
【特許文献】
【0006】
特開平6-185159号公報
【発明の概要】
【発明が解決しようとする課題】
【0007】
しかしながら、RC(鉄筋コンクリート)造の壁パネルに仕上げ材を設ける場合には壁がロッキングしないが、鉄骨造でロッキング機構を有する壁パネルに仕上げ材を設ける場合には、仕上げ材が壁パネルのロッキングを拘束し、壁パネルおよび仕上げ材に地震力の負荷がかかってしまう。
【0008】
図16に示すように、仕上げ材を固定する連結部材(金具126)が、地震時にロッキング挙動が異なる隣接するパネル110を跨いで、直接もしくは金具を介してパネルに取付けられる場合、地震時に隣接するそれぞれのパネル110のロッキングを拘束することに加え、仕上げ材のロッキングも拘束してしまう。特に、パネルと仕上げ材間での回動に対し拘束力や摩擦力が高くスベリが悪いことにより、パネル、仕上げ材およびそれらを取り付ける各金具等に地震力による過剰な負荷がかかってしまう。
また、従来の取付構造では、下地金具の形状が限定的であるため、コストおよび施工性の面から汎用性がない。
【0009】
本発明は、このような従来の実情に鑑みて提案されたものであり、本発明の目的は、地震時にパネルおよび仕上げ材のロッキングを阻害(拘束)しない下地金具、仕上げ材取付用パネル、仕上げ材取付構造物および建物を提供することにある。
【課題を解決するための手段】
【0010】
[1]
パネルに仕上げ材を取り付けるための複数の金具からなる下地金具であって、
前記下地金具は、前記パネルの表面に取り付けられる第1の下地金具と、前記仕上げ材が直接または間接的に取り付けられる第2の下地金具と、を有し、
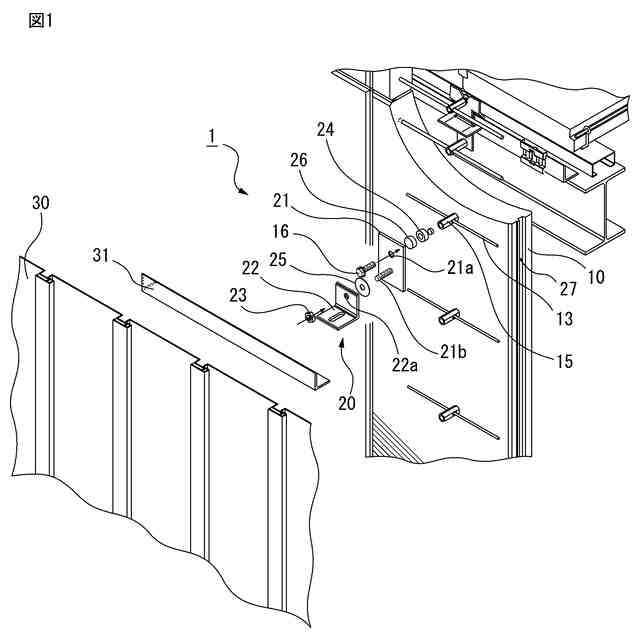
前記第1の下地金具は、第1の取付軸で前記パネルに取り付けられ、
前記第2の下地金具は、前記第1の取付軸と同軸上または略平行な第2の取付軸で前記第1の下地金具に取り付けられるとともに、該第1の下地金具に対し面内に回動可能とされており、
前記第1の取付軸と前記第2の取付軸とは、同軸上にある場合は面外方向に取付け位置が分かれており、略平行の場合は該第1または第2の取付軸を中心とした所定の半径方向に所定の間隔でずれていることを特徴とする、下地金具。
[2]
前記下地金具は、前記第1の下地金具に設けられた第2のボルトおよび該第2のボルトと螺合する第2のナット、を有し、
前記第2の下地金具は、前記第2のボルトが挿通される挿通孔を有し、該挿通孔を通じて前記第2のボルトと前記第2のナットとが螺合することにより、該第2の下地金具は前記第1の下地金具に取り付けられる、[1]に記載の下地金具。
[3]
前記下地金具は、前記パネルに埋設された第1のナットおよび該第1のナットと螺合する第1のボルトを有し、
前記第1の下地金具は前記第1のボルトが挿通される挿通孔を有し、該挿通孔を通じて前記第1のナットと前記第1のボルトとが螺合することにより、該第1の下地金具は前記パネルに取り付けられる、[1]または[2]に記載の下地金具。
[4]
前記第2の下地金具を前記第1の下地金具に取り付ける締め付けトルクが、前記第1の下地金具を前記パネルに取り付ける締め付けトルクと同等もしくは小さい、[1]~[3]のいずれかに記載の下地金具。
[5]
前記下地金具は、前記第1の下地金具に設けられた第2のボルトおよび該第2のボルトと螺合する第2のナット、を有し、
前記第2のナットが、ゆるみ止め機構を有するナット、又はダブルナットである、[2]~[4]のいずれかに記載の下地金具。
[6]
前記第1の下地金具と前記第2の下地金具との間にすべり材が配されている、[1]~[5]のいずれかに記載の下地金具。
[7]
前記第1の下地金具の断面形状が、L字、I字、コの字またはロの字形状、である、[1]~[6]のいずれかに記載の下地金具。
[8]
前記第2の下地金具の断面形状が、L字、I字、コの字またはロの字形状である、[1]~[7]のいずれかに記載の下地金具。
[9]
[1]~[8]のいずれかに記載の下地金具が取り付けられた、仕上げ材取付用パネル。
[10]
パネルに仕上げ材を固定するための複数の金具からなる下地金具が取り付けられた仕上げ材取付用パネルであって、
前記下地金具は、前記パネルの表面に取り付けられる第1の下地金具と、
前記仕上げ材が直接または間接的に取り付けられる第2の下地金具と、を有し、
前記第1の下地金具は、第1の取付軸で前記パネルに取り付けられ、
前記第2の下地金具は、前記第1の取付軸と同軸上または略平行な第2の取付軸で前記第1の下地金具に取り付けられるとともに、該第1の下地金具に対し面内に回動可能とされており、
前記パネルの長さ方向端部において、前記仕上げ材の固定位置が該パネルの長さ方向端部側に近くなるように、前記下地金具は、前記パネルへの取付け向きを上端側と下端側とで変えて取り付けられている、仕上げ材取付用パネル。
[11]
[9]または[10]に記載の仕上げ材取付用パネルの前記下地金具に、直接または連結部材を介して仕上げ材が取り付けられた、仕上げ材取付構造物。
[12]
前記連結部材は、複数枚の前記仕上げ材取付用パネルに亘って取り付けられる金具である、[11]に記載の仕上げ材取付構造物。
[13]
[11]または[12]に記載の仕上げ材取付構造物を備えた、建物。
【発明の効果】
(【0011】以降は省略されています)
この特許をJ-PlatPat(特許庁公式サイト)で参照する
関連特許
旭化成建材株式会社
接合構造及びパネル材
今日
旭化成建材株式会社
塗膜付き建材とその製造方法
1か月前
旭化成建材株式会社
断熱構造、及び断熱構造の製造方法
6日前
旭化成建材株式会社
鋼管継手構造とそのプラグ受け、および鋼管接合方法
今日
旭化成建材株式会社
フェノール樹脂発泡体
6日前
個人
接合構造
2か月前
個人
屋台
2か月前
個人
タッチミー
2か月前
個人
野良猫ハウス
3か月前
個人
フェンス
3か月前
個人
安心補助てすり
1か月前
個人
転落防止用手摺
3か月前
個人
筋交自動設定装置
2か月前
個人
ベンリナアングル
2か月前
積水樹脂株式会社
柵体
3か月前
ニチハ株式会社
建築板
3か月前
個人
居住車両用駐車場
3か月前
個人
免震建築構造
6日前
個人
熱抵抗多層断熱建材
3か月前
個人
補強部材
3か月前
個人
身体用シェルター
2か月前
株式会社シンケン
住宅
1か月前
成友建設株式会社
建物
3か月前
個人
防災建築物
1か月前
個人
住宅の省エネ方法
2日前
鹿島建設株式会社
壁体
3か月前
個人
身体用シェルター
2か月前
株式会社フジタ
合成床
6日前
三協立山株式会社
構造体
1か月前
三洋工業株式会社
床構造
1か月前
イワブチ株式会社
組立柱
3か月前
三協立山株式会社
構造体
2か月前
三協立山株式会社
構造体
29日前
三協立山株式会社
構造体
1か月前
株式会社大林組
接合構造
1か月前
三協立山株式会社
構造体
2か月前
続きを見る
他の特許を見る