TOP
|
特許
|
意匠
|
商標
特許ウォッチ
Twitter
他の特許を見る
10個以上の画像は省略されています。
公開番号
2025122547
公報種別
公開特許公報(A)
公開日
2025-08-21
出願番号
2024018115
出願日
2024-02-08
発明の名称
基板の製造方法
出願人
株式会社ディスコ
代理人
個人
,
個人
,
個人
,
個人
,
個人
,
個人
主分類
H01L
21/304 20060101AFI20250814BHJP(基本的電気素子)
要約
【課題】酸化ガリウムを素材とする被加工物から被加工物よりも薄い基板を製造する際の基板の生産性を向上させることが可能な基板の製造方法を提供する。
【解決手段】基板の製造方法は、被加工物の内部に複数列の剥離層を形成する剥離層形成ステップと、剥離層形成ステップの後に、複数列の剥離層を分離起点として被加工物を分離することによって基板を製造する分離ステップと、を備える。剥離層形成ステップは、それぞれが酸化ガリウムの結晶構造が乱れた部分である改質部を含み、かつ、互いに離隔する複数列の第一の剥離層を形成する第一の加工ステップと、第一の加工ステップの後に、それぞれが改質部と改質部から伸展するクラックとを含み、かつ、それぞれが複数列の第一の剥離層のうち隣接する一対の第一の剥離層の間に位置する複数列の第二の剥離層を形成する第二の加工ステップと、を含む。
【選択図】図2
特許請求の範囲
【請求項1】
酸化ガリウムを素材とする被加工物から該被加工物よりも薄い基板を製造する基板の製造方法であって、
該被加工物の内部に複数列の剥離層を形成する剥離層形成ステップと、
該剥離層形成ステップの後に、該複数列の剥離層を分離起点として該被加工物を分離することによって該基板を製造する分離ステップと、を備え、
該剥離層形成ステップは、
それぞれが改質部を含み、かつ、互いに離隔する複数列の第一の剥離層を形成する第一の加工ステップと、
該第一の加工ステップの後に、それぞれが該改質部と該改質部から伸展するクラックとを含み、かつ、それぞれが該複数列の第一の剥離層のうち隣接する一対の第一の剥離層の間に位置する複数列の第二の剥離層を形成する第二の加工ステップと、を含み、
該第一の加工ステップにおいては、
該酸化ガリウムを透過する波長のレーザービームが集光される集光点を該被加工物の内部に位置付けた状態で、該被加工物と該集光点とを第一の方向に沿って相対的に移動させる第一のレーザービーム照射ステップと、
該被加工物と該集光点が形成される位置とを該第一の方向と直交する第二の方向に沿って相対的に移動させる第一のインデックス送りステップと、が交互に繰り返され、
該第二の加工ステップにおいては、
該集光点を該隣接する一対の第一の剥離層の間に位置付けた状態で、該被加工物と該集光点とを該第一の方向に沿って相対的に移動させる第二のレーザービーム照射ステップと、
該被加工物と該集光点が形成される位置とを該第二の方向に沿って相対的に移動させる第二のインデックス送りステップと、が交互に繰り返される、基板の製造方法。
続きを表示(約 1,100 文字)
【請求項2】
該第一のレーザービーム照射ステップにおける該レーザービームの出力は、該第二のレーザービーム照射ステップにおける該レーザービームの出力より小さく設定され、
該第一の加工ステップにおいては、それぞれが該クラックを含む該複数列の第一の剥離層が形成され、
該複数列の第一の剥離層のそれぞれに含まれる該クラックは、該複数列の第二の剥離層のそれぞれに含まれる該クラックよりも小さい、請求項1に記載の基板の製造方法。
【請求項3】
該剥離層形成ステップは、該第二の加工ステップの後に、該クラックがさらに伸展するように該複数列の第一の剥離層の少なくとも一つに対して該レーザービームを照射する第三のレーザービーム照射ステップをさらに備える、請求項2に記載の基板の製造方法。
【請求項4】
該第一のレーザービーム照射ステップにおける該レーザービームの出力は、該第二のレーザービーム照射ステップにおける該レーザービームの出力より小さく設定され、
該第一の加工ステップにおいては、それぞれが該クラックを含まない該複数列の第一の剥離層が形成される、請求項1に記載の基板の製造方法。
【請求項5】
該剥離層形成ステップは、該第二の加工ステップの後に、該改質部から該クラックが伸展するように該複数列の第一の剥離層の少なくとも一つに対して該レーザービームを照射する第三のレーザービーム照射ステップをさらに備える、請求項4に記載の基板の製造方法。
【請求項6】
該第一のレーザービーム照射ステップにおける該レーザービームの出力は、該第二のレーザービーム照射ステップにおける該レーザービームの出力と同じに設定され、
該第一の加工ステップにおいては、それぞれが該クラックを含む該複数列の第一の剥離層が形成される、請求項1に記載の基板の製造方法。
【請求項7】
該剥離層形成ステップは、該第二の加工ステップの後に、該クラックがさらに伸展するように該複数列の第一の剥離層の少なくとも一つ及び/又は該複数列の第二の剥離層の少なくとも一つに対して該レーザービームを照射する第三のレーザービーム照射ステップをさらに備える、請求項6に記載の基板の製造方法。
【請求項8】
該第一のレーザービーム照射ステップにおける該集光点の該被加工物の表面からの深さは、該第二のレーザービーム照射ステップにおける該集光点の該表面からの深さと同じに設定される、請求項1乃至7のいずれかに記載の基板の製造方法。
発明の詳細な説明
【技術分野】
【0001】
本発明は、酸化ガリウムを素材とする被加工物から被加工物よりも薄い基板を製造する基板の製造方法に関する。
続きを表示(約 2,300 文字)
【背景技術】
【0002】
結晶多形である酸化ガリウム(Ga
2
O
3
)は、単斜晶系のβ相(β-Ga
2
O
3
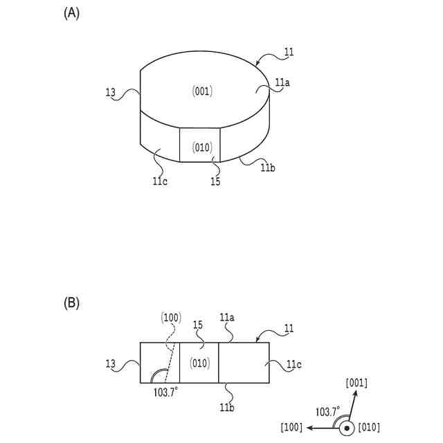
)が最安定相である。そして、β相の酸化ガリウム(以下、端に「酸化ガリウム」という。)は、そのバンドギャップが約4.8eVのワイドギャップ半導体である。そのため、酸化ガリウムは、パワーデバイス等の半導体デバイスの素材として期待されている。
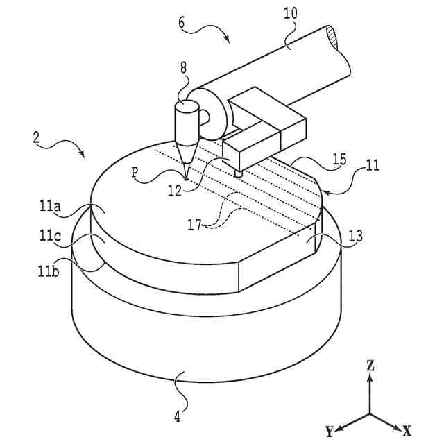
【0003】
半導体デバイスは、一般的に、円盤状の基板を利用して形成される。そして、この基板は、例えば、インゴットと呼ばれる円柱状のブロック等の被加工物に含まれる所定の厚みを有する部分を分離させるようにワイヤーソーを用いて被加工物を切断することによって製造される(例えば、特許文献1参照)。
【先行技術文献】
【特許文献】
【0004】
特開2016-13929号公報
【発明の概要】
【発明が解決しようとする課題】
【0005】
半導体デバイスの形成には、例えば、その厚みが約150μmの基板が利用される。また、ワイヤーソーの厚みは、例えば、約300μmである。そのため、ワイヤーソーを利用して被加工物から基板を製造する場合には、例えば、被加工物の60%~70%が切り代として廃棄され、その生産性が低くなる。
【0006】
この点に鑑み、本発明の目的は、酸化ガリウムを素材とする被加工物から被加工物よりも薄い基板を製造する際の基板の生産性を向上させることが可能な基板の製造方法を提供することである。
【課題を解決するための手段】
【0007】
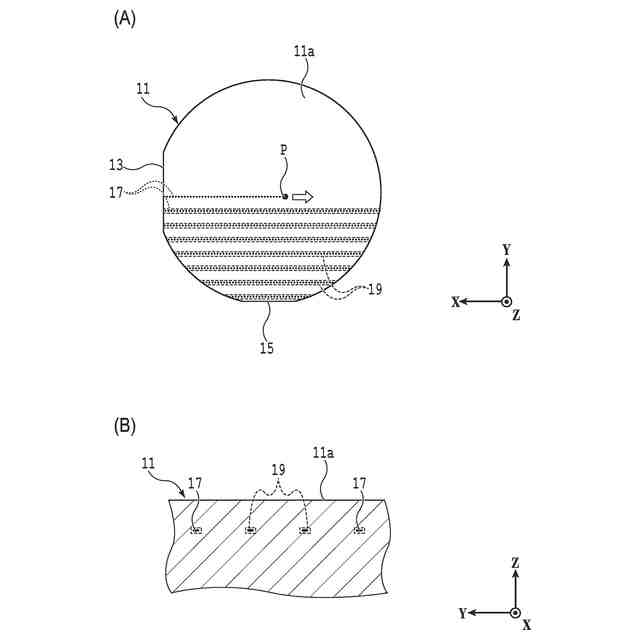
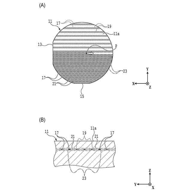
本発明によれば、酸化ガリウムを素材とする被加工物から該被加工物よりも薄い基板を製造する基板の製造方法であって、該被加工物の内部に複数列の剥離層を形成する剥離層形成ステップと、該剥離層形成ステップの後に、該複数列の剥離層を分離起点として該被加工物を分離することによって該基板を製造する分離ステップと、を備え、該剥離層形成ステップは、それぞれが改質部を含み、かつ、互いに離隔する複数列の第一の剥離層を形成する第一の加工ステップと、該第一の加工ステップの後に、それぞれが該改質部と該改質部から伸展するクラックとを含み、かつ、それぞれが該複数列の第一の剥離層のうち隣接する一対の第一の剥離層の間に位置する複数列の第二の剥離層を形成する第二の加工ステップと、を含み、該第一の加工ステップにおいては、該酸化ガリウムを透過する波長のレーザービームが集光される集光点を該被加工物の内部に位置付けた状態で、該被加工物と該集光点とを第一の方向に沿って相対的に移動させる第一のレーザービーム照射ステップと、該被加工物と該集光点が形成される位置とを該第一の方向と直交する第二の方向に沿って相対的に移動させる第一のインデックス送りステップと、が交互に繰り返され、該第二の加工ステップにおいては、該集光点を該隣接する一対の第一の剥離層の間に位置付けた状態で、該被加工物と該集光点とを該第一の方向に沿って相対的に移動させる第二のレーザービーム照射ステップと、該被加工物と該集光点が形成される位置とを該第二の方向に沿って相対的に移動させる第二のインデックス送りステップと、が交互に繰り返される、基板の製造方法が提供される。
【0008】
また、該第一のレーザービーム照射ステップにおける該レーザービームの出力は、該第二のレーザービーム照射ステップにおける該レーザービームの出力より小さく設定され、該第一の加工ステップにおいては、それぞれが該クラックを含む該複数列の第一の剥離層が形成され、該複数列の第一の剥離層のそれぞれに含まれる該クラックは、該複数列の第二の剥離層のそれぞれに含まれる該クラックよりも小さくてもよい。この場合、該剥離層形成ステップは、該第二の加工ステップの後に、該クラックがさらに伸展するように該複数列の第一の剥離層の少なくとも一つに対して該レーザービームを照射する第三のレーザービーム照射ステップをさらに備えることが好ましい。
【0009】
あるいは、該第一のレーザービーム照射ステップにおける該レーザービームの出力は、該第二のレーザービーム照射ステップにおける該レーザービームの出力より小さく設定され、該第一の加工ステップにおいては、それぞれが該クラックを含まない該複数列の第一の剥離層が形成されてもよい。この場合、該剥離層形成ステップは、該第二の加工ステップの後に、該改質部から該クラックが伸展するように該複数列の第一の剥離層の少なくとも一つに対して該レーザービームを照射する第三のレーザービーム照射ステップをさらに備えることが好ましい。
【0010】
あるいは、該第一のレーザービーム照射ステップにおける該レーザービームの出力は、該第二のレーザービーム照射ステップにおける該レーザービームの出力と同じに設定され、該第一の加工ステップにおいては、それぞれが該クラックを含む該複数列の第一の剥離層が形成されてもよい。この場合、該剥離層形成ステップは、該第二の加工ステップの後に、該クラックがさらに伸展するように該複数列の第一の剥離層の少なくとも一つ及び/又は該複数列の第二の剥離層の少なくとも一つに対して該レーザービームを照射する第三のレーザービーム照射ステップをさらに備えることが好ましい。
(【0011】以降は省略されています)
この特許をJ-PlatPat(特許庁公式サイト)で参照する
関連特許
株式会社ディスコ
ノズル
21日前
株式会社ディスコ
診断方法
11日前
株式会社ディスコ
加工方法
3日前
株式会社ディスコ
切削装置
21日前
株式会社ディスコ
切削装置
14日前
株式会社ディスコ
フレーム
21日前
株式会社ディスコ
研削装置
7日前
株式会社ディスコ
研磨装置
8日前
株式会社ディスコ
加工装置
21日前
株式会社ディスコ
加工装置
1日前
株式会社ディスコ
加工装置
1日前
株式会社ディスコ
搬送システム
7日前
株式会社ディスコ
加工水供給装置
14日前
株式会社ディスコ
ノズルユニット
11日前
株式会社ディスコ
ブレーキング装置
7日前
株式会社ディスコ
液体供給システム
21日前
株式会社ディスコ
切削ブレード治具
11日前
株式会社ディスコ
被加工物の加工方法
21日前
株式会社ディスコ
洗浄装置及び洗浄方法
8日前
株式会社ディスコ
検出方法及び処理装置
今日
株式会社ディスコ
搬出装置及び切削装置
今日
株式会社ディスコ
押圧試験装置の評価方法
21日前
株式会社ディスコ
搬送機構および搬送方法
8日前
株式会社ディスコ
積層ウェーハの加工方法
11日前
株式会社ディスコ
貼り合わせ基板の加工方法
21日前
株式会社ディスコ
窒化ガリウム基板の製造方法
3日前
株式会社ディスコ
加工方法及びレーザ加工装置
21日前
株式会社ディスコ
チャックテーブルの整形方法
2日前
株式会社ディスコ
試験装置、試験片の試験方法
11日前
株式会社ディスコ
端面処理工具及び端面処理方法
14日前
株式会社ディスコ
研磨装置及びウェーハの研磨方法
22日前
株式会社ディスコ
加工装置及び被加工物の加工方法
21日前
株式会社ディスコ
保護シート、及びシート配設方法
7日前
株式会社ディスコ
加工装置およびウェーハの加工方法
22日前
株式会社ディスコ
加工方法及びレーザ加工プログラム
21日前
株式会社ディスコ
板状ワークの研削方法及び研削装置
3日前
続きを見る
他の特許を見る