TOP
|
特許
|
意匠
|
商標
特許ウォッチ
Twitter
他の特許を見る
10個以上の画像は省略されています。
公開番号
2025118852
公報種別
公開特許公報(A)
公開日
2025-08-13
出願番号
2025080955,2024039538
出願日
2025-05-14,2019-04-19
発明の名称
ネットワークシステム、デバイスおよび処理方法
出願人
個人
,
コネクトフリー株式会社
代理人
弁理士法人深見特許事務所
主分類
H04L
61/503 20220101AFI20250805BHJP(電気通信技術)
要約
【課題】デバイスの認証済みの位置情報を取得することができるとともに、認証済みの位置情報を用いた様々なサービスを提供する。
【解決手段】複数のデバイスからなるネットワークシステムが提供される。複数のデバイスの各々は、他のデバイスとデータ通信を行うための通信部と、自デバイスのIPアドレスを決定するための公開鍵を含む電子証明書を格納する記憶部と、他のデバイスから受信した電子証明書に含まれる公開鍵に基づいて、他のデバイスのIPアドレスを決定する決定部とを含む。電子証明書は、対応するデバイスに関連付けられた位置情報を含む。
【選択図】図4
特許請求の範囲
【請求項1】
複数のデバイスからなるネットワークシステムであって、
前記複数のデバイスの各々は、
他のデバイスとデータ通信を行うための通信部と、
自デバイスのIPアドレスを決定するための公開鍵を含む電子証明書を格納する記憶部と、
他のデバイスから受信した電子証明書に含まれる公開鍵に基づいて、前記他のデバイスのIPアドレスを決定する決定部とを備え、
前記電子証明書は、対応するデバイスに関連付けられた位置情報を含む、ネットワークシステム。
続きを表示(約 1,200 文字)
【請求項2】
前記位置情報は、ゾーンを階層的に分割することで生成されるいずれかのゾーンを示す、請求項1に記載のネットワークシステム。
【請求項3】
前記位置情報は、対象とするゾーンの階層構造を反映したコードからなる、請求項2に記載のネットワークシステム。
【請求項4】
前記複数のデバイスのうちいずれかのデバイスは、自デバイスに関連付けられた位置情報が示すゾーンより上位の階層のゾーンに関連付けられた他のデバイスに対して、自デバイスに設定されるべき位置情報を要求する、請求項2または3に記載のネットワークシステム。
【請求項5】
前記複数のデバイスのうちいずれかのデバイスからの要求に応答して、要求元に格納すべき電子証明書に署名する認証局をさらに備える、請求項1~4のいずれか1項に記載のネットワークシステム。
【請求項6】
前記複数のデバイスのうちいずれかのデバイスは、他のデバイスとの間で電子証明書を交換してセッションを確立した後に、自デバイスにて生成または収集した情報を当該他のデバイスへ送信する、請求項1~5のいずれか1項に記載のネットワークシステム。
【請求項7】
前記複数のデバイスのうち第1のデバイスは、
前記第1のデバイスに関連付けられたリソースを管理するように構成されており、
前記複数のデバイスのうち第2のデバイスからの要求に応答して、管理しているリソースの少なくとも一部を割り当てるように構成されており、
前記リソースの割り当てに係る情報は、前記第1のデバイスおよび前記第2のデバイス間で共有される、請求項1~6のいずれか1項に記載のネットワークシステム。
【請求項8】
前記複数のデバイスのうちいずれかのデバイスは、他のデバイスからの現在位置の要求に応答して、当該現在位置に関連付けられたデバイスを特定するための特定情報を応答する、請求項1~7のいずれか1項に記載のネットワークシステム。
【請求項9】
前記複数のデバイスのうちいずれかのデバイスは、商品やサービスに対する対価となる価値を管理する機能を備える、請求項1~8のいずれか1項に記載のネットワークシステム。
【請求項10】
ネットワークシステムを構成するデバイスであって、
他のデバイスとデータ通信を行うための通信部と、
自デバイスのIPアドレスを決定するための公開鍵を含む電子証明書を格納する記憶部と、
他のデバイスから受信した電子証明書に含まれる公開鍵に基づいて、前記他のデバイスのIPアドレスを決定する決定部とを備え、
前記電子証明書は、対応するデバイスに関連付けられた位置情報を含む、デバイス。
(【請求項11】以降は省略されています)
発明の詳細な説明
【技術分野】
【0001】
本開示は、認証済みIPアドレスを有するデバイスからなるネットワークシステム、そのデバイスならびにネットワークシステムにおける処理方法に関する。
続きを表示(約 1,400 文字)
【背景技術】
【0002】
近年の情報通信技術(Information and Communication Technology:ICT)の進歩は目覚ましく、インターネットなどのネットワークに接続されるデバイスは、従来のパーソナルコンピュータやスマートフォンといった情報処理装置に限らず、様々なモノ(things)に広がっている。このような技術トレンドは、「IoT(Internet of Things;モノのインターネット)」と称され、様々な技術およびサービスが提案および実用化されつつある。将来的には、地球上の数十億人と数百億または数兆のデバイスとが同時につながる世界が想定されている。このようなネットワーク化された世界を実現するためには、よりシンプル、より安全、より自由につながることができるソリューションを提供する必要がある。
【0003】
このようなデバイスがどの位置にあるのかという情報は、各種サービスを提供する上で重要である。例えば、特表2012-504285号公報(特許文献1)は、インターネットに接続されたコンピュータ、モバイル装置、ウェブサイト訪問者またはその他の実際の地理的位置を識別する技術としてのジオロケーションを開示する。特に、特許文献1は、一般家庭顧客に割り当てられるIP(Internet Protocol)アドレスが変わることに伴
う位置情報の更新を支援する技術を開示する。
【先行技術文献】
【特許文献】
【0004】
特表2012-504285号公報
【発明の概要】
【発明が解決しようとする課題】
【0005】
上記特許文献1に開示されるように、デバイスに任意のIPアドレスを割り当てるというフレームワークに依存して、デバイスの位置情報を正しく決定することは難しかった。
【0006】
本開示は、認証済みIPアドレスを用いるフレームワークを採用することで、このような課題を解決するとともに、位置情報を用いた様々なサービスを提供できる解決策を提供する。
【課題を解決するための手段】
【0007】
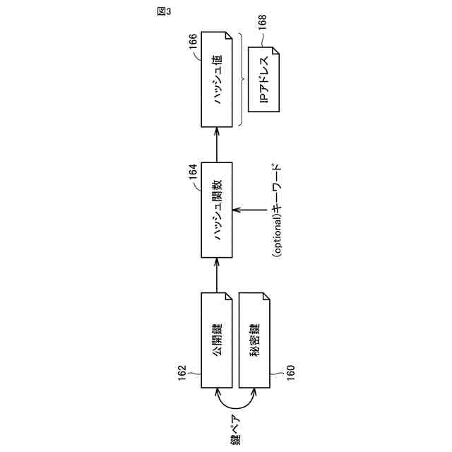
本開示のある形態によれば、複数のデバイスからなるネットワークシステムが提供される。複数のデバイスの各々は、他のデバイスとデータ通信を行うための通信部と、自デバイスのIPアドレスを決定するための公開鍵を含む電子証明書を格納する記憶部と、他のデバイスから受信した電子証明書に含まれる公開鍵に基づいて、他のデバイスのIPアドレスを決定する決定部とを含む。電子証明書は、対応するデバイスに関連付けられた位置情報を含む。
【0008】
位置情報は、ゾーンを階層的に分割することで生成されるいずれかのゾーンを示すものであってもよい。
【0009】
位置情報は、対象とするゾーンの階層構造を反映したコードからなっていてもよい。
複数のデバイスのうちいずれかのデバイスは、自デバイスに関連付けられた位置情報が示すゾーンより上位の階層のゾーンに関連付けられた他のデバイスに対して、自デバイスに設定されるべき位置情報を要求するようにしてもよい。
【0010】
ネットワークシステムは、複数のデバイスのうちいずれかのデバイスからの要求に応答して、要求元に格納すべき電子証明書に署名する認証局をさらに含んでいてもよい。
(【0011】以降は省略されています)
この特許をJ-PlatPat(特許庁公式サイト)で参照する
関連特許
個人
イヤーマフ
6日前
個人
監視カメラシステム
15日前
キーコム株式会社
光伝送線路
16日前
WHISMR合同会社
収音装置
1か月前
サクサ株式会社
中継装置
21日前
個人
スキャン式車載用撮像装置
15日前
サクサ株式会社
中継装置
22日前
キヤノン株式会社
撮像装置
2か月前
アイホン株式会社
電気機器
1か月前
サクサ株式会社
無線通信装置
21日前
サクサ株式会社
無線通信装置
21日前
サクサ株式会社
無線システム
20日前
株式会社リコー
画像形成装置
1か月前
個人
ワイヤレスイヤホン対応耳掛け
1か月前
株式会社リコー
画像形成装置
2か月前
株式会社リコー
画像形成装置
8日前
キヤノン電子株式会社
画像読取装置
1か月前
株式会社リコー
画像形成装置
2か月前
キヤノン電子株式会社
画像読取装置
14日前
個人
映像表示装置、及びARグラス
1日前
キヤノン株式会社
撮像システム
1か月前
ブラザー工業株式会社
読取装置
2か月前
日本電気株式会社
海底分岐装置
16日前
個人
発信機及び発信方法
20日前
株式会社JVCケンウッド
通信システム
27日前
有限会社フィデリックス
マイクロフォン
27日前
キヤノン電子株式会社
画像処理システム
14日前
株式会社NTTドコモ
端末
15日前
大日本印刷株式会社
写真撮影装置
1か月前
沖電気工業株式会社
画像形成装置
1か月前
パテントフレア株式会社
超高速電波通信
1か月前
株式会社NTTドコモ
端末
15日前
株式会社NTTドコモ
端末
16日前
株式会社NTTドコモ
端末
15日前
パテントフレア株式会社
水中電波通信法
2か月前
株式会社小糸製作所
画像照射装置
1か月前
続きを見る
他の特許を見る