TOP
|
特許
|
意匠
|
商標
特許ウォッチ
Twitter
他の特許を見る
公開番号
2025116663
公報種別
公開特許公報(A)
公開日
2025-08-08
出願番号
2024011205
出願日
2024-01-29
発明の名称
空気調和機用フィルタユニット
出願人
日本無機株式会社
代理人
個人
,
個人
,
個人
,
個人
主分類
F24F
1/0073 20190101AFI20250801BHJP(加熱;レンジ;換気)
要約
【課題】空気調和機内部への汚染された粒子の流入を低減できるフィルタユニットを提供する。
【解決手段】本実施形態における空気調和機用フィルタユニットは、空気調和機内に空気を下方から上方に吸い込む空調機側吸込口と、空調機側吸込口から吸い込まれた空気を上下方向に略直交する水平方向に導き調和し空気調和機の正面から吹き出す空調機側吹出口と、を有する空気調和機に取り付けられるフィルタユニットであって、水平方向に空気を吸い込むフィルタ側吸込口と、空調機側吸込口に連結しフィルタ側吸込口から吸い込まれた空気を空調機側吸込口に吸い込ませるフィルタ側吹出口と、を有するケーシングと、フィルタ側吸込口に取り付けられ粒子を捕集するエアフィルタと、備える。
【選択図】 図1
特許請求の範囲
【請求項1】
空気調和機内に空気を下方から上方に吸い込む空調機側吸込口と、前記空調機側吸込口から吸い込まれた空気を上下方向に略直交する水平方向に導き調和し前記空気調和機の正面から吹き出す空調機側吹出口と、を有する空気調和機に取り付けられるフィルタユニットであって、
前記水平方向に前記空気を吸い込むフィルタ側吸込口と、前記空調機側吸込口に連結し前記フィルタ側吸込口から吸い込まれた前記空気を前記空調機側吸込口に吸い込ませるフィルタ側吹出口と、を有するケーシングと、
前記フィルタ側吸込口に取り付けられ粒子を捕集するエアフィルタと、備える空気調和機用フィルタユニット。
続きを表示(約 290 文字)
【請求項2】
前記フィルタ側吸込口は、前記空気調和機の前記正面側から前記空気を吸い込む、請求項1記載の空気調和機用フィルタユニット。
【請求項3】
前記ケーシングは、前記フィルタ側吸込口を通過する空気の直進方向延長線上に位置する側壁と、前記側壁と連続し上下方向に直交する底面と、を有する、請求項1または2記載の空気調和機用フィルタユニット。
【請求項4】
前記ケーシングは、前記側壁に、前記フィルタ側吸込口から吸い込まれた前記空気の一部が前記フィルタ側吹出口に流れることを邪魔する邪魔板を有する、請求項3記載の空気調和機用フィルタユニット。
発明の詳細な説明
【技術分野】
【0001】
本発明は、空気調和機に使用されるフィルタユニットに関する。
続きを表示(約 1,500 文字)
【背景技術】
【0002】
従来、空気調和機の底面の吸込口に集塵を目的としてフィルタを収納したフィルタユニットを取り付けたものが特許文献1~3に開示されている。例えば、特許文献1には、送風機13の下方に、高性能フィルタ61を収容し、下面に吸込グリル37を備えたフィルタチャンバ51が開示されている。特許文献2には、空気調和装置1の吸込グリル37に装着可能なフィルタチャンバが開示されている。特許文献3には、空気調和機Zの下面の空気吸込口1に装着される空気清浄フィルタ11が開示されている。
【先行技術文献】
【特許文献】
【0003】
特開平11-101497号公報
特開2005-164215号公報
特開2006-090593号公報
【発明の概要】
【発明が解決しようとする課題】
【0004】
上記特許文献1~3に開示されたフィルタを収納したフィルタユニットは、下方から上方に空気を吸い込む構造であるために、フィルタユニットのフィルタを通過してしまった浮遊粒子が、空気調和機の空気吸込口に設けられた通常のフィルタや高性能フィルタを通過して、空気調和機の内部に吸い込まれ、熱交換器やファンが汚染されるという問題があった。
【0005】
本発明はこのような事情を考慮してなされたもので、空気調和機内部への汚染された粒子の流入を低減できる空気調和機用フィルタユニットを提供することを目的とする。
【課題を解決するための手段】
【0006】
本発明に係る空気調和機用フィルタユニットは、上述した課題を解決するために、空気調和機内に空気を下方から上方に吸い込む空調機側吸込口と、前記空調機側吸込口から吸い込まれた空気を上下方向に略直交する水平方向に導き調和し前記空気調和機の正面から吹き出す空調機側吹出口と、を有する空気調和機に取り付けられるフィルタユニットであって、前記水平方向に前記空気を吸い込むフィルタ側吸込口と、前記空調機側吸込口に連結し前記フィルタ側吸込口から吸い込まれた前記空気を前記空調機側吸込口に吸い込ませるフィルタ側吹出口と、を有するケーシングと、前記フィルタ側吸込口に取り付けられ粒子を捕集するエアフィルタと、備える。
【発明の効果】
【0007】
本発明に係る空気調和機用フィルタユニットにおいては、空気調和機内部への汚染された粒子の流入を低減できる。
【図面の簡単な説明】
【0008】
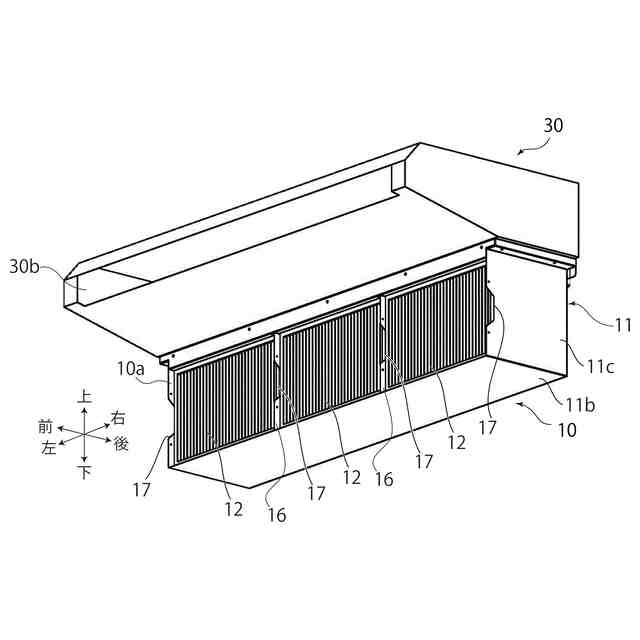
本発明の実施形態としてのフィルタユニットを空気調和機に接続した状態を示す斜視図。
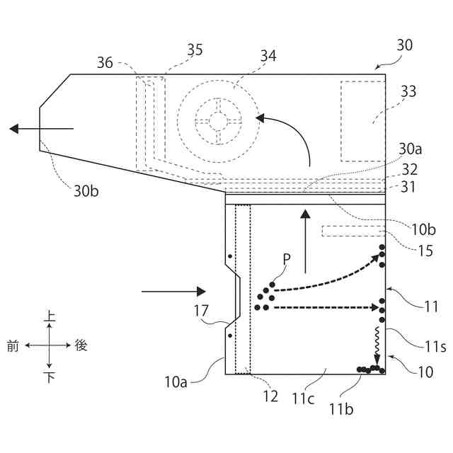
本発明の実施形態としてのフィルタユニットを空気調和機に接続した状態を示す側面図。
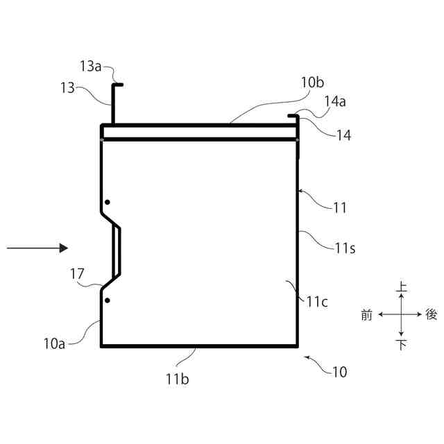
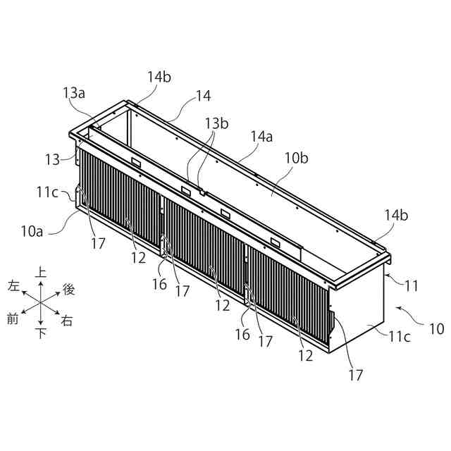
フィルタユニットの斜視図。
フィルタユニットの側面図。
本発明の実施の形態のフィルタユニットの変形例を示す側面図。
【発明を実施するための形態】
【0009】
以下、本発明に係る空気調和機用フィルタユニットの一実施形態を図面に基づいて説明する。
【0010】
本実施形態におけるフィルタユニット10は、空気調和機30に取り付けられる。空気調和機30は、空調機側吸込口30aと、空調機側吹出口30bと、を有する。空調機側吸込口30aは、空気調和機30内に空気を下方から上方に吸い込む。空調機側吹出口30bは、空調機側吸込口30aから吸い込まれ、上下方向に略直交する水平方向に導かれて調和された空気を、空気調和機30の正面(前方)から吹き出す。
(【0011】以降は省略されています)
この特許をJ-PlatPat(特許庁公式サイト)で参照する
関連特許
日本無機株式会社
オイルミスト用エアフィルタ
12日前
日本無機株式会社
空気調和機用フィルタユニット
2か月前
日本無機株式会社
フィルタパックおよびそれを備えるエアフィルタ
2日前
日本無機株式会社
フィルタパックおよびそれを備えるエアフィルタ
2日前
個人
空気調和機
4か月前
個人
エアコン室内機
4か月前
株式会社コロナ
加湿装置
5か月前
株式会社コロナ
空調装置
2日前
株式会社コロナ
空調装置
1か月前
株式会社コロナ
空調装置
3か月前
株式会社コロナ
空調装置
6か月前
株式会社コロナ
空調装置
12日前
株式会社コロナ
給湯装置
2か月前
株式会社コロナ
空調装置
1か月前
株式会社コロナ
加湿装置
22日前
株式会社コロナ
加湿装置
4か月前
株式会社コロナ
空気調和機
5か月前
個人
住宅換気空調システム
1か月前
株式会社コロナ
風呂給湯機
1か月前
株式会社コロナ
空気調和機
1か月前
株式会社コロナ
空気調和機
2か月前
株式会社コロナ
貯湯式給湯機
16日前
株式会社コロナ
貯湯式給湯機
4か月前
株式会社コロナ
貯湯式給湯機
8日前
ホーコス株式会社
排気フード
2か月前
株式会社コロナ
暖房システム
12日前
株式会社パロマ
給湯器
3か月前
株式会社コロナ
直圧式給湯機
1か月前
株式会社コロナ
直圧式給湯機
3か月前
株式会社コロナ
貯湯式給湯装置
4か月前
株式会社コロナ
貯湯式給湯装置
5か月前
三菱電機株式会社
送風機
5か月前
株式会社コロナ
貯湯式給湯装置
4か月前
株式会社コロナ
輻射式冷房装置
1か月前
ホーコス株式会社
換気扇取付枠
1か月前
株式会社コロナ
貯湯式給湯装置
3か月前
続きを見る
他の特許を見る