TOP
|
特許
|
意匠
|
商標
特許ウォッチ
Twitter
他の特許を見る
公開番号
2025116384
公報種別
公開特許公報(A)
公開日
2025-08-08
出願番号
2024010782
出願日
2024-01-29
発明の名称
冷却装置
出願人
シャープ株式会社
代理人
個人
,
個人
,
個人
主分類
F25D
21/06 20060101AFI20250801BHJP(冷凍または冷却;加熱と冷凍との組み合わせシステム;ヒートポンプシステム;氷の製造または貯蔵;気体の液化または固体化)
要約
【課題】本開示の目的は、冷却器の着霜量が多いことを検知するための新たな技術を提供する。
【解決手段】冷却室を有する冷蔵庫が提供される。冷蔵庫は、冷気を発生させる冷却器と、冷却室へ冷気を送るためのファンと、ファンの負荷に関する情報に基づいて冷却器の着霜の量が多いことを判断する制御部と、を備える。前記制御部は、前記ファンの負荷が基準値よりも大きい場合に前記冷却器の着霜の量が多いと判断する、冷蔵庫。
【選択図】図3
特許請求の範囲
【請求項1】
冷却室を有する冷蔵庫であって、
冷気を発生させる冷却器と、
前記冷却室へ前記冷気を送るためのファンと、
前記ファンの負荷に関する情報に基づいて前記冷却器の着霜の量が多いことを判断する制御部と、を備える、冷蔵庫。
続きを表示(約 500 文字)
【請求項2】
前記制御部は、前記ファンの負荷が基準値よりも大きい場合に前記冷却器の着霜の量が多いと判断する、請求項1に記載の冷蔵庫。
【請求項3】
前記基準値が前記ファンの回転数に応じて設定されている、請求項2に記載の冷蔵庫。
【請求項4】
前記冷却器からの冷気が通る通路に配置されるダンパをさらに備え、
前記基準値が前記ダンパの開閉毎に設定されている、請求項2に記載の冷蔵庫。
【請求項5】
前記冷却室の温度を測定するためのセンサをさらに備え、
前記制御部は、前記冷却室の温度の変化が大きい場合に前記判断を行う、請求項1に記載の冷蔵庫。
【請求項6】
前記制御部は、前記ファンが駆動され始めてから所定の時間が経過してから前記判断を行う、請求項1に記載の冷蔵庫。
【請求項7】
冷却室を有する冷蔵庫と通信するための通信インターフェイスと、
前記冷蔵庫から前記冷蔵庫のファンの負荷に関する情報を取得して、当該情報に基づいて前記冷蔵庫の冷却器の着霜の量が多いことを判断する制御部と、を備えるサーバ。
発明の詳細な説明
【技術分野】
【0001】
本開示は、冷却装置に関する。
続きを表示(約 1,300 文字)
【背景技術】
【0002】
例えば、特許文献1および特許文献2には、除霜時期の判定や着霜量の推定に関する技術が記載されている。
【先行技術文献】
【特許文献】
【0003】
特開2007-225158号公報
特開2019-100647号公報
【発明の概要】
【発明が解決しようとする課題】
【0004】
本開示の目的は、冷却器の着霜量が多いことを検知するための新たな技術を提供することである。
【課題を解決するための手段】
【0005】
本開示の一局面においては、冷却室を有する冷蔵庫が提供される。冷蔵庫は、冷気を発生させる冷却器と、冷却室へ冷気を送るためのファンと、ファンの負荷に関する情報に基づいて冷却器の着霜の量が多いことを判断する制御部と、を備える。
【発明の効果】
【0006】
本開示の一局面によれば、冷却器の着霜量が多いことを検知するための新たな技術が提供される。
【図面の簡単な説明】
【0007】
第1の実施の形態にかかる冷蔵庫の側面断面図である。
第1の実施の形態にかかる冷蔵庫の正面図である。
第1の実施の形態にかかる冷蔵庫の構成を示すブロック図である。
第1の実施の形態にかかる制御部による冷却ファンの回転数の制御構成を示すイメージ図である。
第1の実施の形態にかかるPWM信号を示すイメージ図である。
第1の実施の形態にかかるファンの回転のパルスを示すイメージ図である。
第1の実施の形態にかかる、冷却器の着霜量とDuty比との関係を示すグラフである。
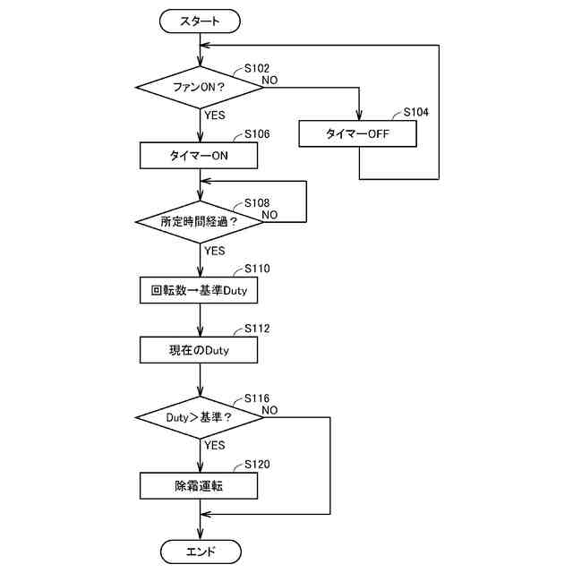
第1の実施の形態にかかる制御部による情報処理を示すフローチャートである。
第2の実施の形態にかかる制御部による情報処理を示すフローチャートである。
第3の実施の形態にかかる制御部による情報処理を示すフローチャートである。
第5の実施の形態にかかる冷蔵庫の構成を示すブロック図である。
第6の実施の形態にかかるネットワークシステム1の全体構成を示すイメージ図である。
第6の実施の形態にかかるサーバの構成を示すブロック図である。
【発明を実施するための形態】
【0008】
以下、図面を参照しつつ、本開示の各実施形態について説明する。以下の説明では、同一の部品には同一の符号を付してある。それらの名称及び機能も同じである。
<冷蔵庫の全体構成>
【0009】
先ず、図1および図2を参照しながら、冷却装置の一例としての、冷蔵室111と冷凍室112とを有する冷蔵庫100の全体構成について説明する。
【0010】
冷蔵庫100は、主として断熱箱体110で構成されている。この断熱箱体110によって冷蔵庫100の貯蔵空間が形成される。断熱箱体110によって形成される貯蔵空間は、例えば、水平方向に延びる断熱仕切りによって、上部に冷蔵室111が設けられ、下部に冷凍室112が設けられる。
(【0011】以降は省略されています)
この特許をJ-PlatPat(特許庁公式サイト)で参照する
関連特許
シャープ株式会社
冷蔵庫
28日前
シャープ株式会社
冷蔵庫
20日前
シャープ株式会社
表示装置
今日
シャープ株式会社
加湿装置
10日前
シャープ株式会社
表示装置
21日前
シャープ株式会社
加熱調理器
20日前
シャープ株式会社
空気調和機
14日前
シャープ株式会社
空気調和機
14日前
シャープ株式会社
空気調和機
14日前
シャープ株式会社
画像形成装置
20日前
シャープ株式会社
画像形成装置
13日前
シャープ株式会社
駐車制御装置
13日前
シャープ株式会社
画像形成装置
14日前
シャープ株式会社
画像形成装置
20日前
シャープ株式会社
画像形成装置
13日前
シャープ株式会社
画像形成装置
28日前
シャープ株式会社
ファクシミリ装置
21日前
シャープ株式会社
回収装置及び清掃具
7日前
シャープ株式会社
電子部品の筐体構造
28日前
シャープ株式会社
回収装置及び清掃具
7日前
シャープ株式会社
回収装置及び清掃具
7日前
シャープ株式会社
室外機及び空気調和機
14日前
シャープ株式会社
スタンド及び表示装置
22日前
シャープ株式会社
断熱箱体、および冷蔵庫
13日前
シャープ株式会社
画像形成装置の定着装置
28日前
シャープ株式会社
断熱箱体、および冷蔵庫
13日前
シャープ株式会社
通信装置および制御方法
1日前
シャープ株式会社
情報処理装置及び表示方法
20日前
シャープ株式会社
集塵装置および電気掃除機
29日前
シャープ株式会社
画像形成装置及び現像装置
13日前
シャープ株式会社
補助電源回路および電源装置
2日前
シャープ株式会社
固定機構および画像形成装置
13日前
シャープ株式会社
原稿送り装置及び画像形成装置
20日前
シャープ株式会社
端末装置、方法、および集積回路
6日前
シャープ株式会社
原稿搬送装置および画像形成装置
21日前
シャープ株式会社
端末装置、方法、および集積回路
6日前
続きを見る
他の特許を見る