TOP
|
特許
|
意匠
|
商標
特許ウォッチ
Twitter
他の特許を見る
公開番号
2025108762
公報種別
公開特許公報(A)
公開日
2025-07-23
出願番号
2025074333,2024025084
出願日
2025-04-28,2015-06-30
発明の名称
空調服
出願人
株式会社セフト研究所
代理人
個人
,
個人
主分類
A41D
13/002 20060101AFI20250715BHJP(衣類)
要約
【課題】ハーネス型安全帯を着用した場合であっても、冷却効果を発揮することができる高所作業用の空調服を提供する。
【解決手段】通気性の小さな又は通気性のないシート状素材で身体の少なくとも上半身を覆う形状に作製され、空気排出部を有する服本体10と、服本体10に設けられた開口孔を覆うように取り付けられ、空気を外部から取り込んで服本体と身体又は下着との間の空間に空気の流れを強制的に生じさせるファン4とを備え、服本体10は、背上部に形成されたフック貫通孔を開閉する開閉手段と、一方の端部が開閉手段を囲むように服本体側に取り付けられ他方の端部に空気漏れ防止手段23が設けられ、通気性の小さな又は通気性のない折り曲げ自在な筒状のワイヤー貫通手段2とを具備する。
【選択図】図1
特許請求の範囲
【請求項1】
通気性の小さな又は通気性のないシート状素材で身体の少なくとも上半身を覆う形状に作製され、空気排出部を有する服本体と、前記服本体に設けられた開口孔を覆うように取り付けられ、空気を外部から取り込んで前記服本体と身体又は下着との間の空間に空気の流れを強制的に生じさせるファンと、を備え、
前記服本体は、
背上部に形成されたフック貫通孔を開閉する開閉手段と、
一方の端部が前記開閉手段を囲むように前記服本体に取り付けられ他方の端部に空気漏れ防止手段が設けられ、通気性の小さな又は通気性のない折り曲げ自在な筒状のワイヤー貫通手段と、
を有することを特徴とする空調服。
続きを表示(約 460 文字)
【請求項2】
前記服本体の背上部の裏側に前記ワイヤー貫通手段を収納するための収納部が形成されていることを特徴とする請求項1記載の空調服。
【請求項3】
前記服本体の背上部の裏側に前記ワイヤー貫通手段を折り畳んだ状態で固定する固定手段が形成されていることを特徴とする請求項1記載の空調服。
【請求項4】
前記空気漏れ防止手段は、前記ワイヤー貫通手段の前記シート状素材に接合されていない側の端部に形成された紐通し部と前記紐通し部に通されたコードとコードストッパーにより構成されたことを特徴とする請求項1から3のいずれか一項に記載の空調服。
【請求項5】
前記空気漏れ防止手段は、前記ワイヤー貫通手段の前記シート状素材に接合されていない側の端部に外側に取り付けられた面ファスナーを有する帯であることを特徴とする請求項1から3のいずれか一項に記載の空調服。
【請求項6】
前記開閉手段はファスナーであることを特徴とする請求項1から5のいずれか一項に記載の空調服。
発明の詳細な説明
【技術分野】
【0001】
本発明は、身体又は身体の上に着用された下着等の表面に略平行な空気の流れを発生させることにより身体を冷却する空調服に関するものである。
続きを表示(約 1,900 文字)
【背景技術】
【0002】
近年、身体を冷却する空調服が実用化され急激に普及しつつある。従来の空調服101は、通気性の小さな素材で縫製された服本体110と、服本体110の後側部の下方に取り付けられた2つのファン140,140と、2つのファン140,140に電力を供給するための電源装置(不図示)と、電源装置と2つのファン140,140とを電気的に接続するための電源ケーブル(不図示)とを備える。
【0003】
ファン140を作動させると、大量の空気がファン140から服本体110内に取り込まれる。取り込まれた空気の圧力により服本体110と身体又は下着との間に空気流通路が自動的に形成され、取り込まれた空気は、形成された空気流通路を身体又は下着の表面に沿って上方に流通し、例えば、襟部の周囲や袖口部から外部に排出される。ここで、襟部の周囲や袖口部は、空気排出部130としての役割を果たしている。
そして、空気は、服本体110と身体又は下着との間の空気流通路を流通する間に身体から出た汗を蒸発させ、蒸発する時の気化熱により身体が冷却される(例えば、特許文献1参照)。
【0004】
ところで、建設現場等の高所作業では転落事故の防止のため、例えば、図8(a)、(b)に示すように、先端にフックHK81を有するワイヤーWR81が背上部に連結されたハーネス型安全帯HN81を主に使用し、フックHK81を固定物に引っ掛けることにより、万一作業者が足を踏み外した場合でもワイヤーWR81が命綱となり、地上等への転落を防止するような安全対策が講じられている。
そして、従来は、このようなハーネス型安全帯HN81を空調服101の上から着用していた。
【先行技術文献】
【特許文献】
【0005】
国際公開第2005/063065号
【発明の概要】
【発明が解決しようとする課題】
【0006】
しかしながら、従来の空調服101の上からハーネス型安全帯HN81を着用した場合、ハーネス型安全帯HN81の帯により、空調服101の服地と体との間の空気流通路が塞がれてしまい冷却効果が激減してしまうといった問題点があった。
【0007】
本発明の課題は、ハーネス型安全帯を着用した場合であっても、冷却効果を発揮することができる高所作業用の空調服を提供することにある。
【課題を解決するための手段】
【0008】
上記課題を達成するため、この発明は、
通気性の小さな又は通気性のないシート状素材で身体の少なくとも上半身を覆う形状に作製され、空気排出部を有する服本体と、前記服本体に設けられた開口孔を覆うように取り付けられ、空気を外部から取り込んで前記服本体と身体又は下着との間の空間に空気の流れを強制的に生じさせるファンと、を備え、
前記服本体は、
背上部に形成されたフック貫通孔を開閉する開閉手段と、
一方の端部が前記開閉手段を囲むように前記服本体に取り付けられ他方の端部に空気漏れ防止手段が設けられ、通気性の小さな又は通気性のない折り曲げ自在な筒状のワイヤー貫通手段と、
を有することを特徴とする空調服である。
【0009】
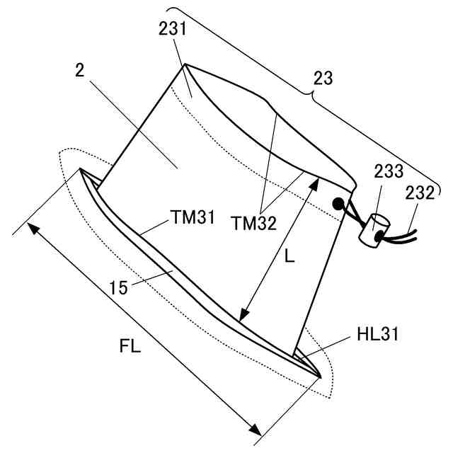
本発明の空調服の服本体には、背上部に形成されたフック貫通孔を開閉する開閉手段と、一方の端部が前記開閉手段を囲むように当該服本体の裏面に接合され他方の端部に空気漏れ防止手段が設けられ、通気性の小さな又は通気性のない折り曲げ自在な筒状のワイヤー貫通手段が備えられているので、ハーネス型安全帯を着用した上に着用した場合でも、服本体のワイヤー貫通手段を貫通したワイヤー近傍からの空気漏れがなく、空調服として十分な冷却効果を得ることができる。
また、ワイヤー貫通手段は、しなやかなシート状素材で作製されているのでハーネス型安全帯を使用しない作業時にはワイヤー貫通手段を服本体の内側に収納し、開閉手段を閉じることにより、通常の空調服として使用することができる。
【発明の効果】
【0010】
本発明によれば、転落防止用のワイヤーが取り付けられた安全帯を着用した場合であっても、その上から空調服を着用でき、ワイヤーを通したワイヤー貫通手段からの空気の漏れを防止できるので、空調服としての冷却効果を発揮することができる。
【図面の簡単な説明】
(【0011】以降は省略されています)
この特許をJ-PlatPat(特許庁公式サイト)で参照する
関連特許
株式会社セフト研究所
ファン付きウェアのウェア本体及びファン付きウェア
12日前
個人
和服
5か月前
個人
衿芯
3か月前
個人
シャツ
1か月前
個人
二部式袍
8か月前
個人
ネクタイ
1か月前
個人
衣装
6か月前
個人
靴下
9か月前
個人
下着
4か月前
個人
マスク装着具
11か月前
個人
多機能装身具
1か月前
個人
マスク
1か月前
個人
簡単帯
9か月前
個人
ボクサーパンツ
10か月前
個人
ショーツ
9か月前
東レ株式会社
防護服
5日前
個人
シャツ改造方法
6か月前
個人
作業補助ミトン
8か月前
個人
肩章付き衣服。
4か月前
個人
健康靴下
10か月前
個人
:マスクカバー
2か月前
個人
手首穴付き手袋
10か月前
株式会社聖
手足保護具
9か月前
有限会社原電業
指手袋
10か月前
個人
手袋
6か月前
個人
ソフトキャミブラ
5か月前
個人
内フィルムマスク
13日前
個人
足首用サポーター
8か月前
東洋紡株式会社
マスク
11日前
個人
車椅子用グローブ
2か月前
個人
レインコート
5か月前
グンゼ株式会社
衣服
5か月前
興和株式会社
マスク
7か月前
株式会社マルイチ
二部式帯
5日前
個人
被介護者用上衣
3か月前
個人
和装下着の半衿カバー
10か月前
続きを見る
他の特許を見る