TOP
|
特許
|
意匠
|
商標
特許ウォッチ
Twitter
他の特許を見る
公開番号
2025098227
公報種別
公開特許公報(A)
公開日
2025-07-01
出願番号
2025057352,2023064532
出願日
2025-03-28,2023-04-12
発明の名称
懸垂型共振器
出願人
台灣晶技股ふん有限公司
代理人
個人
主分類
H03H
9/19 20060101AFI20250624BHJP(基本電子回路)
要約
【課題】振動構造の変形量が大きすぎて隣接する部品にぶつかる問題を有効に回避することのできる懸垂型共振器を提供する。
【解決手段】懸垂型共振器は、振動構造200と、第1電極260及び第2電極270を含む。振動構造は、振動領域202、フレーム部210及び接続部を含む。振動領域は、平板部220及び増肉部230を含む。平板部は、互いに対向する第1表面222と第2表面224を含む。増肉部は、平板部の中心部分221を取り囲み、平板部の辺縁部分は、増肉部内で挟まれる。増肉部の厚さT1は、平板部の厚さT2より大きい。フレーム部は、振動領域を取り囲み、振動領域と間隙Gを維持する。接続部は、増肉部をフレーム部に接続する。第1電極は、第1表面に配置される。第2電極は、第2表面に配置される。
【選択図】図2C
特許請求の範囲
【請求項1】
互いに対向する第1表面と第2表面、中心部分、および辺縁部分を含む平板部と、
前記平板部の前記中心部分を取り囲む増肉部と、
を含み、前記平板部の前記辺縁部分が、前記増肉部内で挟まれ、前記増肉部の厚さが、前記平板部の厚さより大きい振動構造と、
前記振動領域を取り囲み、前記振動領域と間隙を維持するフレーム部と、
前記増肉部を前記フレーム部に接続する接続部と、
を含む振動構造と、
前記第1表面に配置された第1電極と、
前記第2表面に配置された第2電極と、
を含む懸垂型共振器。
続きを表示(約 810 文字)
【請求項2】
前記接続部が、前記振動領域の対向する2つの側にそれぞれ接続された2つの接続区間を含む請求項1に記載の懸垂型共振器。
【請求項3】
前記接続区間の接続線が、前記振動領域の中央からそれた請求項2に記載の懸垂型共振器。
【請求項4】
前記第1表面に相対する前記増肉部の突起高さが、Hであり、前記2つの接続区間の配列方向における前記振動領域の長さが、Lであり、前記懸垂型共振器が、0.01<H/L<0.8を満たす請求項2に記載の懸垂型共振器。
【請求項5】
前記2つの接続区間のそれぞれが、
前記フレーム部に接続された第1端を有する緩勾配サブ区間と、
延伸サブ区間と、
を含み、前記緩勾配サブ区間の第2端が、前記延伸サブ区間の第3端に接続され、前記延伸サブ区間の第4端が、前記増肉部に接続され、前記第1端が、前記第2端と向かい合い、前記第3端が、前記第4端と向かい合い、前記緩勾配サブ区間の厚さが、前記第1端から前記第2端に向かって減少する請求項2に記載の懸垂型共振器。
【請求項6】
前記振動構造の材料が、圧電材料である請求項1に記載の懸垂型共振器。
【請求項7】
ベースと、
前記ベース上に配置され、前記振動構造を配置した第1シールリングと、
前記振動構造上に配置された第2シールリングと、
前記第2シールリング上に配置された上カバーと、
をさらに含む請求項1に記載の懸垂型共振器。
【請求項8】
前記ベースの下方に配置され、前記第1電極および前記第2電極にそれぞれ電気接続された複数のパッドをさらに含む請求項7に記載の懸垂型共振器。
【請求項9】
前記接続部の厚さが、前記平板部の厚さより大きい請求項1に記載の懸垂型共振器。
発明の詳細な説明
【技術分野】
【0001】
本発明は、共振器(resonator)に関するものであり、特に、懸垂型共振器(suspended resonator)に関するものである。
続きを表示(約 2,100 文字)
【背景技術】
【0002】
共振器は、材料の圧電特性および材料の固有共振周波数を利用する電子部品である。共振周波数は、共振器チップの厚さに関連する。そのため、超高周波の応用において、一般的な平板共振器チップは、非常に薄く、例えば、300MHzの共振周波数を有する平板共振器チップの厚さは、5ミクロンより小さい。薄板共振器チップは、構造剛性が低く、強度が弱い。機械振動の外力または慣性力によって、チップが過度に変形し、上下の隣接する部品にぶつかるリスクが高い。
【発明の概要】
【発明が解決しようとする課題】
【0003】
共振周波数の増加に伴い、共振器チップが薄すぎて上下の隣接する部品に容易にぶつかる問題をいかにして改善するかが、本分野の研究者が積極的に研究すべき重要な課題となっている。
【課題を解決するための手段】
【0004】
本発明は、振動構造の変形量が大きくなりすぎて隣接する部品にぶつかる問題を有効に回避することのできる懸垂型共振器を提供する。
【0005】
本発明の1つの実施形態は、振動構造、第1電極、および第2電極を含む懸垂型共振器を提供する。振動構造は、振動領域、フレーム部、および接続部を含む。振動領域は、平板部および増肉部を含む。平板部は、互いに対向する第1表面と第2表面、中心部分、および辺縁部分を含む。増肉部は、平板部の中心部分を取り囲む。平板部の辺縁部分は、増肉部内で挟まれ、増肉部の厚さは、平板部の厚さより大きい。フレーム部は、振動領域を取り囲み、振動領域と間隙を維持する。接続部は、増肉部をフレーム部に接続する。第1電極は、第1表面に配置され、第2電極は、第2表面に配置される。
【発明の効果】
【0006】
本発明の実施形態の懸垂型共振器は、振動領域の増肉部の厚さが平板部の厚さよりも大きい。そのため、振動中の振動領域の変形量が減少し、それにより、機械振動の外力または慣性力によって振動構造の変形量が大きくなりすぎて隣接する部品にぶつかる問題を有効に回避することができる。
【図面の簡単な説明】
【0007】
添付図面は、本発明の原理がさらに理解されるために含まれており、本明細書に組み込まれ、且つその一部を構成するものである。図面は、本発明の実施形態を例示しており、説明とともに、本発明の原理を説明する役割を果たしている。
【0008】
本発明の1つの実施形態の懸垂型共振器の拡大図である。
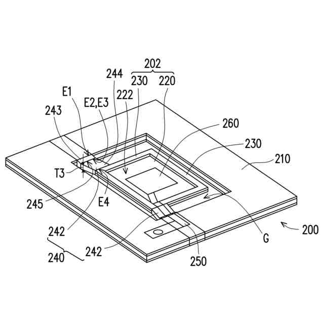
図1の振動構造および第1電極の立体概略図である。
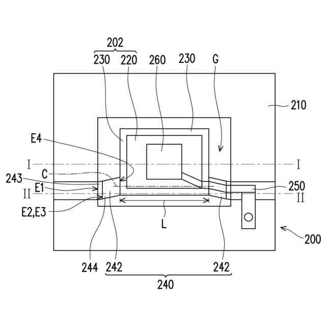
図2Aの振動構造および第1電極の概略的上面図である。
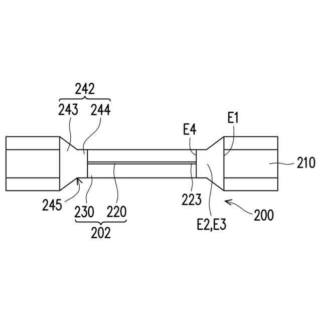
図2Bの線I-Iに沿った振動構造および第1電極、および振動構造の下方にある第2電極の断面概略図である。
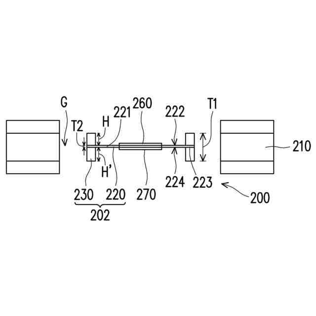
図2Bの線II-IIに沿った振動構造の断面概略図である。
第1表面に相対する増肉部の突起高さに相対する振動中の図1の懸垂型共振器の振動構造の変形量の変化を示す曲線である。
【発明を実施するための形態】
【0009】
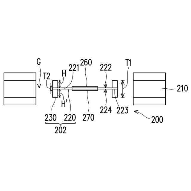
図1は、本発明の1つの実施形態の懸垂型共振器の拡大図である。図2Aは、図1の振動構造および第1電極の立体概略図である。図2Bは、図2Aの振動構造および第1電極の概略的上面図である。図2Cは、図2Bの線I-Iに沿った振動構造および第1電極、および振動構造の下方にある第2電極の断面概略図である。図2Dは、図2Bの線II-IIに沿った振動構造の断面概略図である。図1および図2A~図2Dを参照すると、本実施形態の懸垂型共振器100は、振動構造200、第1電極260、および第2電極270を含む(図2Cに示す)。振動構造200は、振動領域202、フレーム部210、および接続部240を含む。振動領域202は、平板部220および増肉部230を含む。平板部220は、互いに対向する第1表面222と第2表面224、中心部分221、および辺縁部分223を含む。増肉部230は、平板部220の中心部分221を取り囲む。平板部220の辺縁部分223は、増肉部230内で挟まれ、増肉部230の厚さT1は、平板部220の厚さT2より大きい。フレーム部210は、振動領域202を取り囲み、振動領域202と間隙Gを維持する。接続部240は、増肉部230をフレーム部210に接続する。第1電極260は、第1表面222に配置され、第2電極270は、第2表面224に配置される。
【0010】
本実施形態において、振動構造200の材料は、圧電材料であり、例えば、石英または他の圧電材料である。第1電極260と第2電極270の間に電圧差が印加されると、それに反応して、逆圧電効果により平板部220が変形する。そして、電圧差が除去されると、それに反応して、平板部220が振動する。さらに、振動に伴い圧電効果によって第1電極260と第2電極270の間に電圧変化が生じるため、第1電極260と第2電極270は、電圧信号を出力する。
(【0011】以降は省略されています)
この特許をJ-PlatPat(特許庁公式サイト)で参照する
関連特許
台灣晶技股ふん有限公司
共振器
6か月前
台灣晶技股ふん有限公司
共振装置
23日前
台灣晶技股ふん有限公司
発振装置
1か月前
台灣晶技股ふん有限公司
水晶発振器
1か月前
台灣晶技股ふん有限公司
水晶発振素子
1か月前
台灣晶技股ふん有限公司
無電解めっき法
3か月前
台灣晶技股ふん有限公司
パッケージ構造
5か月前
台灣晶技股ふん有限公司
振動片およびその製造方法
4か月前
台灣晶技股ふん有限公司
水晶発振器及びその製造方法
2か月前
台灣晶技股ふん有限公司
懸垂型共振器
5か月前
台灣晶技股ふん有限公司
内部にエッチング除去領域を有する水晶振動子構造及びその水晶振動子のウエハーレベルパッケージ構造
1か月前
株式会社蜂鳥
増幅器
11日前
エイブリック株式会社
増幅器
2か月前
エイブリック株式会社
増幅器
1か月前
エイブリック株式会社
増幅回路
2か月前
日本電波工業株式会社
圧電振動片
1か月前
株式会社大真空
圧電振動デバイス
4か月前
日本電波工業株式会社
水晶振動子
1か月前
エイブリック株式会社
電圧検出器
3か月前
日本電波工業株式会社
圧電デバイス
4か月前
株式会社トーキン
ノイズフィルタ
3か月前
ローム株式会社
オペアンプ
4か月前
ローム株式会社
オペアンプ
4か月前
ローム株式会社
オペアンプ
4か月前
京セラ株式会社
差動信号フィルタデバイス
17日前
台灣晶技股ふん有限公司
水晶発振器
1か月前
株式会社大真空
恒温槽型圧電発振器
3か月前
富士電機株式会社
半導体装置
10日前
株式会社村田製作所
増幅回路
3か月前
個人
誤り訂正装置及び誤り訂正方法
3か月前
株式会社半導体エネルギー研究所
駆動回路
2か月前
三菱電機株式会社
半導体装置
4か月前
京セラ株式会社
差動信号フィルタデバイス
17日前
TDK株式会社
電子部品
1か月前
TDK株式会社
電子部品
1か月前
ローム株式会社
半導体集積回路
4か月前
続きを見る
他の特許を見る