TOP
|
特許
|
意匠
|
商標
特許ウォッチ
Twitter
他の特許を見る
公開番号
2025078230
公報種別
公開特許公報(A)
公開日
2025-05-20
出願番号
2023190652
出願日
2023-11-08
発明の名称
飛しょう体
出願人
三菱電機株式会社
代理人
個人
主分類
F42B
15/01 20060101AFI20250513BHJP(弾薬;爆破)
要約
【課題】目標に直撃できる場合は大きな力で目標を無効化し、目標に直撃できない場合であっても、目標を無効化できる確率を高めることができる飛しょう体を得ること。
【解決手段】飛しょう体1は、レーザ光L1を目標50に照射するレーザ発振器と、レーザ光L1を反射した反射点での反射光を受光するレーザ光受光器と、赤外線を受光することで反射点の温度を計測する赤外線センサと、制御装置とを備え、制御装置は、レーザ光受光器が反射光を受光した場合に赤外線センサが計測した計測温度が空力加熱に対応する温度域内であるか否かを判断し、計測温度が温度域内である場合には、目標50を直撃によって無効化する直撃破壊の制御を実行することで目標50を無効化し、レーザ光受光器が反射光を受光しない場合および計測温度が温度域内でない場合には、目標50の索敵と起爆とを制御することで目標50を無効化する。
【選択図】図4
特許請求の範囲
【請求項1】
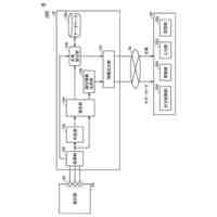
レーザ光を目標に照射するレーザ発振器と、
前記レーザ光を反射した反射点での反射光を受光するレーザ光受光器と、
赤外線を受光することで前記反射点の温度を計測する赤外線センサと、
前記レーザ発振器、前記レーザ光受光器、および前記赤外線センサが配置された外筒部と、
前記レーザ発振器、前記レーザ光受光器、および前記赤外線センサを制御する制御装置と、
を備え、
前記制御装置は、前記レーザ光受光器が前記反射光を受光した場合に前記赤外線センサが計測した計測温度が空力加熱に対応する温度域内であるか否かを判断し、前記計測温度が前記温度域内である場合には、前記目標を直撃によって無効化する直撃破壊の制御を実行することで前記目標を無効化し、前記レーザ光受光器が前記反射光を受光しない場合および前記計測温度が前記温度域内でない場合には、前記目標の索敵と起爆とを制御することで前記目標を無効化する、
ことを特徴とする飛しょう体。
続きを表示(約 240 文字)
【請求項2】
前記制御装置は、前記目標への会合を指揮する指揮装置からの指示に基づいた初中期誘導の後、終末誘導を制御し、前記終末誘導の際に、前記レーザ発振器、前記レーザ光受光器、および前記赤外線センサを制御する、
ことを特徴とする請求項1に記載の飛しょう体。
【請求項3】
前記レーザ発振器、前記レーザ光受光器、および前記赤外線センサを有した複数の搭載モジュールが、前記外筒部に配置されている、
ことを特徴とする請求項1または2に記載の飛しょう体。
発明の詳細な説明
【技術分野】
【0001】
本開示は、飛行する目標を無効化する飛しょう体に関する。
続きを表示(約 1,200 文字)
【背景技術】
【0002】
近年、従来の飛しょう体に比べて、高速かつ変則軌道で飛行可能であり、会合の困難な新型の飛しょう体が知られている。
【0003】
目標に会合する飛しょう体は、飛しょう体を目標に向けて発射し、飛しょう体を目標に直撃させることで、目標を無効化する。この飛しょう体は、飛しょう体が目標に衝突した際の相互の運動エネルギーを利用して直撃破壊して無効化する。
【0004】
新型の飛しょう体を無効化するには、飛しょう体を目標まで正確に誘導することが求められる。飛しょう体を目標まで正確に誘導する技術の1つに、複数のセンサを用いて飛しょう体を目標に誘導する技術がある。
【0005】
例えば、特許文献1に記載の飛しょう体は、狭帯域アクティブ電波センサと、広帯域パッシブ電波センサと、光波センサとを具備しており、これら3つのセンサを切替えることで、飛しょう体を目標に誘導している。
【先行技術文献】
【特許文献】
【0006】
特開平4-310888号公報
【発明の概要】
【発明が解決しようとする課題】
【0007】
しかしながら、上記特許文献1の技術では、飛しょう体を目標に直撃できない場合には、目標を無効化できないという問題があった。
【0008】
本開示は、上記に鑑みてなされたものであって、目標に直撃できる場合は大きな力で目標を無効化し、目標に直撃できない場合であっても、目標を無効化できる確率を高めることができる飛しょう体を得ることを目的とする。
【課題を解決するための手段】
【0009】
上述した課題を解決し、目的を達成するために、本開示の飛しょう体は、レーザ光を目標に照射するレーザ発振器と、レーザ光を反射した反射点での反射光を受光するレーザ光受光器と、赤外線を受光することで反射点の温度を計測する赤外線センサとを備える。また、本開示の飛しょう体は、レーザ発振器、レーザ光受光器、および赤外線センサが配置された外筒部と、レーザ発振器、レーザ光受光器、および赤外線センサを制御する制御装置とを備える。制御装置は、レーザ光受光器が反射光を受光した場合に赤外線センサが計測した計測温度が空力加熱に対応する温度域内であるか否かを判断し、計測温度が温度域内である場合には、目標を直撃によって無効化する直撃破壊の制御を実行することで目標を無効化し、レーザ光受光器が反射光を受光しない場合および計測温度が温度域内でない場合には、目標の索敵と起爆とを制御することで目標を無効化する。
【発明の効果】
【0010】
本開示にかかる飛しょう体は、目標に直撃できる場合は大きな力で目標を無効化し、目標に直撃できない場合であっても、目標を無効化できる確率を高めることができるという効果を奏する。
【図面の簡単な説明】
(【0011】以降は省略されています)
特許ウォッチbot のツイートを見る
この特許をJ-PlatPat(特許庁公式サイト)で参照する
関連特許
三菱電機株式会社
照明装置
22日前
三菱電機株式会社
回転電機
12日前
三菱電機株式会社
回転電機
22日前
三菱電機株式会社
半導体装置
16日前
三菱電機株式会社
加熱調理器
15日前
三菱電機株式会社
半導体装置
2日前
三菱電機株式会社
給湯システム
15日前
三菱電機株式会社
照明システム
2日前
三菱電機株式会社
貯湯式給湯機
12日前
三菱電機株式会社
電動機制御装置
8日前
三菱電機株式会社
非常用照明装置
15日前
三菱電機株式会社
送電線保護装置
22日前
三菱電機株式会社
電流切替型DAC
2日前
三菱電機株式会社
空気清浄システム
15日前
三菱電機株式会社
風力発電システム
12日前
三菱電機株式会社
照明制御システム
9日前
三菱電機株式会社
換気空調システム
12日前
三菱電機株式会社
コントロールセンタ
22日前
三菱電機株式会社
照明器具及び照明装置
22日前
三菱電機株式会社
室外機および空気調和装置
22日前
三菱電機株式会社
半導体装置及びヒートシンク
16日前
三菱電機株式会社
半導体装置及びその製造方法
15日前
三菱電機株式会社
監視装置、および監視システム
3日前
三菱電機株式会社
コントローラ及び送風システム
12日前
三菱電機株式会社
加熱調理器及び加熱調理システム
3日前
三菱電機株式会社
換気装置、送風装置および制御装置
2日前
三菱電機株式会社
照明器具および照明器具の製造方法
4日前
三菱電機株式会社
照明制御装置および照明制御システム
8日前
三菱電機株式会社
照明制御装置および照明制御システム
12日前
三菱電機株式会社
選択支援装置、方法、及びプログラム
1日前
三菱電機株式会社
インバータ装置およびモータ駆動装置
10日前
三菱電機株式会社
指示支援装置、方法、及びプログラム
12日前
三菱電機株式会社
照明制御装置および照明制御システム
22日前
三菱電機株式会社
衝撃波発生装置および衝撃波発生方法
15日前
三菱電機株式会社
推論装置、空調システム及び学習装置
16日前
三菱電機株式会社
半導体装置および半導体装置の製造方法
4日前
続きを見る
他の特許を見る