TOP
|
特許
|
意匠
|
商標
特許ウォッチ
Twitter
他の特許を見る
10個以上の画像は省略されています。
公開番号
2025068072
公報種別
公開特許公報(A)
公開日
2025-04-24
出願番号
2025025375,2021122890
出願日
2025-02-19,2021-07-28
発明の名称
空気弁掃除方法及び空気弁分解方法
出願人
協和工業株式会社
代理人
個人
主分類
F16K
24/00 20060101AFI20250417BHJP(機械要素または単位;機械または装置の効果的機能を生じ維持するための一般的手段)
要約
【課題】効率的な吸排気が可能な空気弁を提供する。
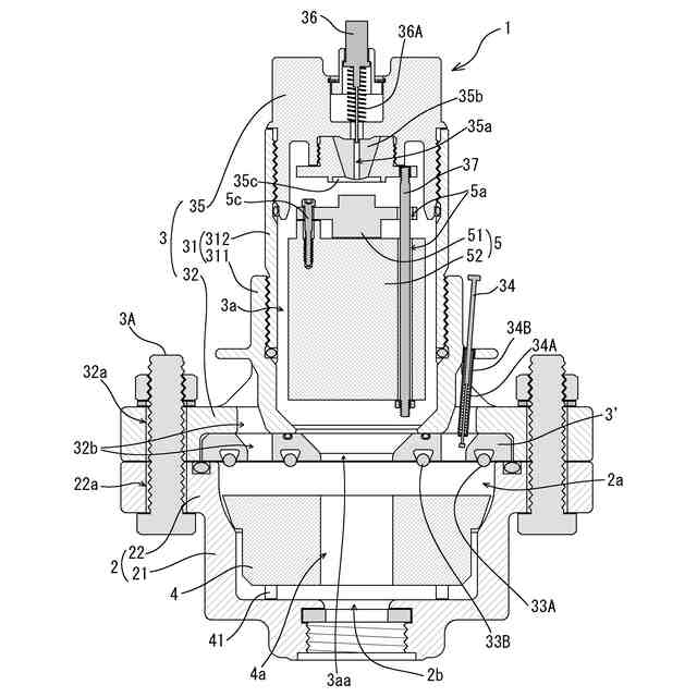
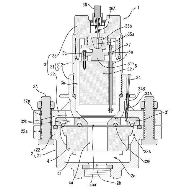
【解決手段】この空気弁1は、内部に弁箱中空部2aを有し、弁箱中空部2aの上方側開口部の近傍の周囲に弁箱フランジ部22を有する弁箱と、内部に蓋体中空部3aを有し、蓋体中空部3aの下方側開口部3aaの近傍の周囲に弁箱フランジ部22に締結される蓋体フランジ部32を有し、小空気孔35aが形成された蓋体キャップ部35を有し、蓋体中空部3aの下方側開口部3aaは弁箱中空部2aに連通し、大空気孔32bの上方側開口部は蓋体フランジ部32の上面に形成され下方側開口部は弁箱中空部2aに連通している蓋体3と、弁箱中空部2aに配置され大空気孔32bを下方から塞ぎ得、上下方向に貫通した中央孔4aが形成された遊動弁体4と、蓋体中空部3aに配置され小空気孔35aを下方から塞ぎ得るフロート弁体5と、を備えている。
【選択図】図3
特許請求の範囲
【請求項1】
大空気孔と小空気孔を有する空気弁であって、
内部に弁箱中空部を有し、該弁箱中空部の上方側開口部の近傍の周囲に弁箱フランジ部を有する弁箱と、
内部に蓋体中空部を有し、該蓋体中空部の下方側開口部の近傍の周囲に前記弁箱の前記弁箱フランジ部に締結される蓋体フランジ部を有し、前記小空気孔が形成された蓋体キャップ部を有し、前記蓋体中空部の前記下方側開口部は前記弁箱の前記弁箱中空部に連通し、前記大空気孔の上方側開口部は前記蓋体フランジ部の上面に形成され下方側開口部は前記弁箱の前記弁箱中空部に連通している蓋体と、
前記弁箱の前記弁箱中空部に配置され前記大空気孔を下方から塞ぎ得、上下方向に貫通した中央孔が形成された遊動弁体と、
前記蓋体の前記蓋体中空部に配置され前記小空気孔を下方から塞ぎ得るフロート弁体と、
を備えている空気弁。
続きを表示(約 1,000 文字)
【請求項2】
請求項1に記載の空気弁において、
前記蓋体には前記大空気孔に上方から挿通し得る遊動弁体用ピン体が保持されている空気弁。
【請求項3】
請求項1又は2に記載の空気弁において、
前記蓋体には前記小空気孔に上方から挿通し得るフロート弁体用ピン体が保持されている空気弁。
【請求項4】
請求項1~3のいずれか1項に記載の空気弁において、
前記蓋体は前記蓋体キャップ部から下方に向かって延びる案内棒体を有しており、
前記フロート弁体には該案内棒体が挿通する案内棒体挿通孔が形成されている空気弁。
【請求項5】
請求項4に記載の空気弁において、
前記フロート弁体は、上部材と下部材を有し、該上部材と該下部材が互いに傾斜可能に結合している空気弁。
【請求項6】
止水弁が閉じた状態で、フロート弁体用ピン体の上部を押してその先端を小空気孔の下方まで到達させ、フロート弁体を突いて前記小空気孔を開放させ、水又は空気を前記小空気孔に吸い込ませ排出させて空気弁の内部の圧力を下げる第1ステップと、遊動弁体用ピン体の上部を押してその先端を大空気孔の下方まで到達させ、遊動弁体を突いて前記大空気孔を開放させ、その後、前記大空気孔を開放させた状態で、前記止水弁を開き、前記遊動弁体用ピン体を上げて前記大空気孔が再度前記遊動弁体により塞がれるまでに、前記大空気孔及びその近傍の異物を水又は空気とともに前記大空気孔から排出させる第2ステップと、を有する空気弁掃除方法。
【請求項7】
止水弁が開いた状態で、フロート弁体用ピン体の上部を押してその先端を小空気孔の下方まで到達させ、フロート弁体を突いて前記小空気孔を開放させ、その後、前記フロート弁体用ピン体を上げて前記小空気孔が再度前記フロート弁体により塞がれるまでに、前記小空気孔及びその近傍の異物を水又は空気とともに前記小空気孔に吸い込ませて排出させるステップを有する空気弁掃除方法。
【請求項8】
止水弁が閉じた状態で、フロート弁体用ピン体の上部を押してその先端を小空気孔の下方まで到達させ、フロート弁体を突いて前記小空気孔を開放させ、水又は空気を前記小空気孔に吸い込ませ排出させて空気弁の内部の圧力を下げるステップを有する空気弁分解方法。
発明の詳細な説明
【技術分野】
【0001】
本発明は、水が流れる配管に繋がれ吸排気を行う空気弁に関する。
続きを表示(約 2,100 文字)
【背景技術】
【0002】
従来より、空気弁は、上下水道、工業用水のパイプライン又は農業用水のパイプラインなどの配管に繋がれ、いろいろな場所で広く用いられている。空気弁は、大空気孔と小空気孔を有するものが一般的に用いられている(例えば、特許文献1、2など)。大空気孔は、それを通して、吸気が行われたり多量排気(急速排気)が行われたりする。上流側のポンプを止めた(或いは上流側のバルブを閉じた)ときなど配管が通水状態から断水状態に切り替わるとき、吸気により大気を配管内に導いて配管の中の水を急速に抜くことができる。また、上流側のポンプを稼働させた(或いは上流側のバルブを開いた)ときなど配管が断水状態から通水状態に切り替わるとき、多量排気により、配管の中の空気(その他の気体も含む)を外部に急速に排気することができる。また、小空気孔は、それを通して、少量排気が行われる。少量排気により、配管が通常の圧力の通水状態のなか様々な原因で配管に混入した空気を少量ずつ外部に排気することができる。
【0003】
このような空気弁は、一般的に、配管に繋がれる弁箱と、大空気孔が形成され弁箱に装着される蓋体と、弁箱と蓋体の内部空間(弁箱と蓋体が形成する内部空間)内に配置されその内部空間の水面の位置(水位)に応じて蓋体の大空気孔を塞ぎ得る遊動弁体と、弁箱と蓋体の内部空間内に配置されたフロート弁体と、を備えている。小空気孔は、蓋体に形成されたり(例えば、特許文献1など)、遊動弁体に形成されたり(例えば、特許文献2など)している。フロート弁体は、水位に応じて小空気孔を塞ぎ得る。フロート弁体と遊動弁体とは、水よりも比重が小さいものである。空気弁と配管との間には、空気弁の補修などのために弁箱への水の浸入を止める(止水する)ことが可能な止水弁(いわゆる補修弁などが含まれる)が設けられるようにすることができる。
【0004】
大空気孔と小空気孔は、多くは、ほぼ水平方向に並列に配置されたり(例えば、特許文献1など)、大空気孔が上方に小空気孔が下方に配置されたり(例えば、特許文献2など)するが、大空気孔が下方に小空気孔が上方に配置されているものも知られている(例えば、特許文献3、4など)。特許文献3、4には、大空気孔が蓋体(弁蓋及びカバー(及び特許文献4では最上部の蓋))の下部の側部に形成され小空気孔が蓋体のキャップ部に形成された空気弁が開示されている。この空気弁では、環状の遊動弁体(筒状の弁体を上部に立設した環状フロート)が弁箱の内方に配置され、フロート弁体(フロート)が蓋体の内方に配置されている。大空気孔が下方に小空気孔が上方に配置されている空気弁は、大空気孔と弁箱の通水口との間の通路を広くすることができ、時間当たりの吸気及び多量排気の量を多くすることが可能である。
【先行技術文献】
【特許文献】
【0005】
実開平4-126076号公報
特開2009-121678号公報
実開昭55-93769号公報
実開平3-49477号公報
【発明の概要】
【発明が解決しようとする課題】
【0006】
しかしながら、特許文献1、2などは勿論、特許文献3、4などに開示された空気弁よりもより効率的な吸排気が望まれる場合もある。例えば、農業用水のパイプラインなどのように、配管の通水状態と断水状態が頻繁に(例えば、日単位に)切り替わる場合などでは、より効率的な吸気及び多量排気が望まれる。
【0007】
本発明は、係る事由に鑑みてなされたものであり、その目的は、効率的な吸排気が可能な空気弁を提供することにある。
【課題を解決するための手段】
【0008】
上記目的を達成するために、請求項1に記載の空気弁は、大空気孔と小空気孔を有する空気弁であって、内部に弁箱中空部を有し、該弁箱中空部の上方側開口部の近傍の周囲に弁箱フランジ部を有する弁箱と、内部に蓋体中空部を有し、該蓋体中空部の下方側開口部の近傍の周囲に前記弁箱の前記弁箱フランジ部に締結される蓋体フランジ部を有し、前記小空気孔が形成された蓋体キャップ部を有し、前記蓋体中空部の前記下方側開口部は前記弁箱の前記弁箱中空部に連通し、前記大空気孔の上方側開口部は前記蓋体フランジ部の上面に形成され下方側開口部は前記弁箱の前記弁箱中空部に連通している蓋体と、前記弁箱の前記弁箱中空部に配置され前記大空気孔を下方から塞ぎ得、上下方向に貫通した中央孔が形成された遊動弁体と、前記蓋体の前記蓋体中空部に配置され前記小空気孔を下方から塞ぎ得るフロート弁体と、を備えている。
【0009】
請求項2に記載の空気弁は、請求項1に記載の空気弁において、前記蓋体には前記大空気孔に上方から挿通し得る遊動弁体用ピン体が保持されている。
【0010】
請求項3に記載の空気弁は、請求項1又は2に記載の空気弁において、前記蓋体には前記小空気孔に上方から挿通し得るフロート弁体用ピン体が保持されている。
(【0011】以降は省略されています)
この特許をJ-PlatPat(特許庁公式サイト)で参照する
関連特許
協和工業株式会社
枕
24日前
協和工業株式会社
空気弁掃除方法及び空気弁分解方法
5か月前
個人
鍋虫ねじ
1か月前
個人
ホース保持具
5か月前
個人
紛体用仕切弁
1か月前
個人
回転伝達機構
2か月前
個人
トーションバー
6か月前
個人
差動歯車用歯形
3か月前
個人
ジョイント
23日前
個人
給排気装置
5日前
個人
ナット
24日前
株式会社不二工機
電磁弁
5か月前
個人
ボルトナットセット
6か月前
個人
地震の揺れ回避装置
2か月前
株式会社不二工機
電磁弁
3か月前
個人
吐出量監視装置
1か月前
株式会社三協丸筒
枠体
6か月前
カヤバ株式会社
ダンパ
3か月前
カヤバ株式会社
ダンパ
3か月前
カヤバ株式会社
緩衝器
4日前
柿沼金属精機株式会社
分岐管
1か月前
カヤバ株式会社
緩衝器
3か月前
カヤバ株式会社
緩衝器
3か月前
株式会社不二工機
電動弁
6か月前
株式会社フジキン
ボールバルブ
4か月前
株式会社ノーリツ
分配弁
9日前
株式会社不二工機
電動弁
5日前
株式会社ニフコ
クリップ
9日前
個人
固着具と固着具の固定方法
6か月前
株式会社タカギ
水栓装置
2か月前
株式会社不二工機
電磁弁
1か月前
日東電工株式会社
断熱材
5か月前
個人
固着具と固着具の固定方法
4か月前
株式会社ノーリツ
分配弁
5か月前
株式会社ノーリツ
分配弁
5か月前
株式会社ノーリツ
分配弁
5か月前
続きを見る
他の特許を見る