TOP
|
特許
|
意匠
|
商標
特許ウォッチ
Twitter
他の特許を見る
10個以上の画像は省略されています。
公開番号
2025067340
公報種別
公開特許公報(A)
公開日
2025-04-24
出願番号
2023177260
出願日
2023-10-13
発明の名称
文章校正支援システム
出願人
株式会社半導体エネルギー研究所
代理人
主分類
G06F
40/253 20200101AFI20250417BHJP(計算;計数)
要約
【課題】新規な構成の文章校正支援システムを提供する。
【解決手段】記憶部は、単語に対応づけられる類似単語のデータのデータセットを有する。処理部は、データセットを参照して、入力文の第1単語を第1類似単語へ変換して第1対象文を生成し、入力文の第2単語を第2類似単語へ変換して第2対象文を生成し、ネットワークを介して、言語モデルに第1対象文、第2対象文、および指示文を送信することで、第1対象文に対応付けられる第1文章データおよび第2対象文に対応付けられる第2文章データを取得し、データセットを参照して、第1文章データが有する第1類似単語を第1単語へ変換して第3文章データを生成し、第2文章データが有する第2類似単語を第2単語へ変換して第4文章データを生成する機能を有する。
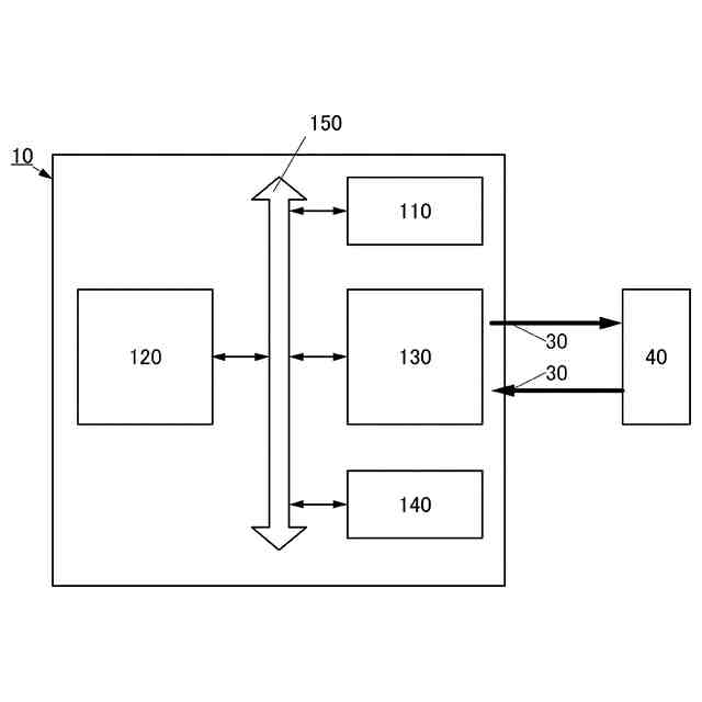
【選択図】図1
特許請求の範囲
【請求項1】
受付部、記憶部、処理部、および出力部を有し、
前記受付部は、第1単語および第2単語を含む入力文を受け付ける機能を有し、
前記記憶部は、前記第1単語に対応づけられる第1類似単語のデータ、および前記第2単語に対応づけられる第2類似単語のデータ、を有するデータセットを有し、
前記処理部は、
前記データセットを参照して、前記入力文の前記第1単語を前記第1類似単語へ変換して第1対象文を生成し、前記入力文の前記第2単語を前記第2類似単語へ変換して第2対象文を生成し、
ネットワークを介して、言語モデルに前記第1対象文、前記第2対象文、および指示文を送信することで、前記第1対象文に対応付けられる第1文章データおよび前記第2対象文に対応付けられる第2文章データを取得し、
前記データセットを参照して、前記第1文章データが有する前記第1類似単語を前記第1単語へ変換して第3文章データを生成し、前記第2文章データが有する前記第2類似単語を前記第2単語へ変換して第4文章データを生成する機能を有し、
前記出力部は、前記第3文章データおよび前記第4文章データを出力する機能を有する、文章校正支援システム。
続きを表示(約 980 文字)
【請求項2】
請求項1において、
前記指示文は、前記第1対象文および前記第2対象文をもとに文章データの生成を行うための指示文である、文章校正支援システム。
【請求項3】
請求項1において、
前記第1類似単語は、前記第1単語の上位語、同位語、又は下位語であり、
前記第2類似単語は、前記第2単語の上位語、同位語、又は下位語である、
文章校正支援システム。
【請求項4】
受付部、記憶部、処理部、および出力部を有し、
前記受付部は、第1単語および第2単語を含む入力文を受け付ける機能を有し、
前記記憶部は、前記第1単語に対応づけられる第1類似単語のデータ、および前記第2単語に対応づけられる第2類似単語のデータ、を有するデータセットを有し、
前記処理部は、
前記データセットを参照して、前記入力文の前記第1単語を前記第1類似単語へ変換して第1対象文を生成し、前記入力文の前記第2単語を前記第2類似単語へ変換して第2対象文を生成し、
ネットワークを介して、第1言語モデルに前記第1対象文および指示文を送信することで前記第1対象文に対応付けられる第1文章データを取得し、第2言語モデルに前記第2対象文および前記指示文を送信することで前記第2対象文に対応付けられる第2文章データを取得し、
前記データセットを参照して、前記第1文章データが有する前記第1類似単語を前記第1単語へ変換して第3文章データを生成し、前記第2文章データが有する前記第2類似単語を前記第2単語へ変換して第4文章データを生成する機能を有し、
前記出力部は、前記第3文章データおよび前記第4文章データを出力する機能を有する、文章校正支援システム。
【請求項5】
請求項4において、
前記指示文は、前記第1対象文および前記第2対象文をもとに文章データの生成を行うための指示文である、文章校正支援システム。
【請求項6】
請求項4において、
前記第1類似単語は、前記第1単語の上位語、同位語、又は下位語であり、
前記第2類似単語は、前記第2単語の上位語、同位語、又は下位語である、
文章校正支援システム。
発明の詳細な説明
【技術分野】
【0001】
本発明の一態様は、文章校正支援システムに関する。具体的には、本発明の一態様は、言語モデルを用いた処理を利用した文章校正支援システムに関する。
続きを表示(約 1,700 文字)
【0002】
なお、本発明の一態様は、上記の技術分野に限定されない。本発明の一態様の技術分野としては、半導体装置、表示装置、発光装置、蓄電装置、記憶装置、電子機器、照明装置、入力装置(例えば、タッチセンサ)、入出力装置(例えば、タッチパネル)、それらの駆動方法、またはそれらの製造方法を一例として挙げることができる。
【背景技術】
【0003】
近年、ニューラルネットワークを用いた言語モデルの開発が盛んに行われており、特に大規模言語モデル(LLM:Large Language Model)が注目されている。大規模言語モデルは、大量のデータを用いて学習された自然言語処理モデルである。大規模言語モデルにより、例えばユーザの指示に対して回答を行う対話モデルを実現できる。非特許文献1では、大規模言語モデルとしてGPT-4(Generative Pre-trained Transformer 4)が開示されており、また、対話モデルとしてChatGPTが開示されている。
【0004】
また特許文献1では、インスタントメッセンジャー(instant messenger)のようにメッセージまたはデータを会話形式(チャット形式ともいう)で送受信して利用するアプリケーションにおいて、会話内容を分析して送信文章の校正を行う構成について開示している。
【先行技術文献】
【特許文献】
【0005】
特開2020-17275号公報
【非特許文献】
【0006】
Summary of ChatGPT/GPT-4 Research and Perspective Towards the Future of Large Language Models,Yiheng Liu et al.(Submitted on 4 Apr 2023、[online]、インターネット<URL:https://arxiv.org/abs/2304.01852>
【発明の概要】
【発明が解決しようとする課題】
【0007】
ChatGPTなどの言語モデルを用いたアプリケーションでは、対象文の校正を指示する指示文によって、複数の単語を含む入力文から校正された文章データを生成することができる。例えば、複数の単語を含む対象文と、対象文の校正を指示する指示文と、を言語モデルに送信することで、対象文が有する複数の単語を含む文章の校正を図ることができる。
【0008】
一方でインスタントメッセンジャーによってチャット形式で送受信される入力文は文章の形態に限らず、略語、または単語の羅列などといった様々な形態を取り得る。そのため言語モデルを利用してチャット形式で送受信される入力文の校正を行う場合、主語または目的語の欠落した入力文の校正を行う場合があり得る。そのため、生成された文章データが正しくない可能性がある。その結果、ユーザ間で意思の疎通を図れず、利便性が損なわれる虞がある。
【0009】
またインスタントメッセンジャーによってチャット形式で送受信される、複数の単語を含む入力文には、機密情報が含まれる場合がある。複数の単語を含む入力文に機密情報が含まれる場合、機密情報である単語のみをデータから削除する方法があり得る。しかしながら単語の削除によって内容が変わってしまい、このような入力文を文章の校正を図るために言語モデルに送信する場合、生成された文章データが正しくない可能性がある。
【0010】
そこで、本発明の一態様は、機密情報の漏洩を防止することができる、文章校正支援システムを提供することを課題の一つとする。また、本発明の一態様は、ユーザ間の意思の疎通を有効に図ることのできる、文章校正支援システムを提供することを課題の一つとする。また、本発明の一態様は、新規な構成の、文章校正支援システムを提供することを課題の一つとする。
(【0011】以降は省略されています)
この特許をJ-PlatPat(特許庁公式サイト)で参照する
関連特許
他の特許を見る