TOP
|
特許
|
意匠
|
商標
特許ウォッチ
Twitter
他の特許を見る
公開番号
2025067064
公報種別
公開特許公報(A)
公開日
2025-04-24
出願番号
2023176741
出願日
2023-10-12
発明の名称
放電装置
出願人
三菱電機株式会社
代理人
弁理士法人高田・高橋国際特許事務所
主分類
B01J
19/08 20060101AFI20250417BHJP(物理的または化学的方法または装置一般)
要約
【課題】電源部の大型化を抑制しつつ電極間での放電によるウイルスを含む微生物等の不活化能力を向上できる放電装置を提供する。
【解決手段】放電装置は、清浄化の対象である空気が通過する風路中に設けられた放電電極と、風路中に放電電極から離間して配置された対向電極と、を含む負荷回路を有する荷電部と、放電電極及び対向電極の両電極間に周期的なパルス波形の電圧を印加する電源部とを備える。電源部は、パルス波形の高電圧時に予め設定された第1電圧値を目標として電圧を両電極間に印加し、パルス波形の低電圧時に予め設定された第2電圧値を目標として電圧を両電極間に印加する。パルス波形の周波数は100Hz以上1000Hz以下である。第1電圧値は4kV以上7kV以下である。第2電圧値は第1電圧値の0.4倍以下である。負荷回路の容量は50pF以下である。
【選択図】図4
特許請求の範囲
【請求項1】
清浄化の対象である空気が通過する風路中に設けられた放電電極と、
前記風路中に前記放電電極から離間して配置された対向電極と、を含む負荷回路を有する荷電部と、
前記放電電極及び前記対向電極の両電極間に周期的なパルス波形の電圧を印加する電源部と、を備え、
前記電源部は、前記パルス波形の高電圧時に予め設定された第1電圧値を目標として電圧を前記両電極間に印加し、前記パルス波形の低電圧時に予め設定された第2電圧値を目標として電圧を前記両電極間に印加し、
前記パルス波形の周波数は、100Hz以上1000Hz以下であり、
前記第1電圧値は、4kV以上7kV以下であり、
前記第2電圧値は、前記第1電圧値の0.4倍以下であり、
前記負荷回路の容量は、50pF以下である放電装置。
続きを表示(約 410 文字)
【請求項2】
前記負荷回路の容量は、10pF以上35pF以下である請求項1に記載の放電装置。
【請求項3】
前記パルス波形の周波数は、100Hz以上300Hz以下である請求項1又は請求項2に記載の放電装置。
【請求項4】
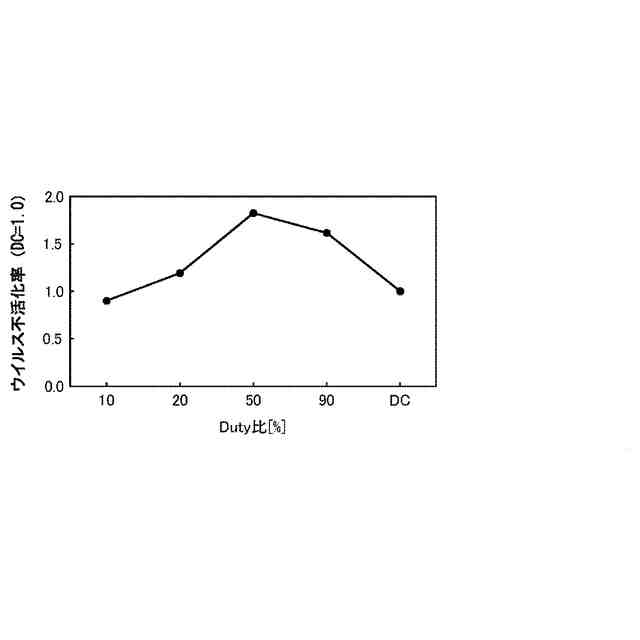
前記パルス波形のデューティ比は、20%以上90%以下である請求項1又は請求項2に記載の放電装置。
【請求項5】
前記放電電極と前記対向電極との間隔である電極間距離Lは、4mm以上8mm以下であり、
前記放電電極と前記対向電極との間に形成される放電空間の体積は、2×10^5mm^3以下である請求項1又は請求項2に記載の放電装置。
【請求項6】
前記放電空間の体積は、前記電極間距離Lと1枚の前記対向電極の面積Sと前記対向電極の枚数N(Nは2以上の整数)とを用いて、2(N-1)×L×Sで算出される請求項5に記載の放電装置。
発明の詳細な説明
【技術分野】
【0001】
本開示は、放電装置に関するものである。
続きを表示(約 2,100 文字)
【背景技術】
【0002】
放電電極及び対向電極と、これらの電極間にストリーマ放電を発生させるパルス波形の歪んだ高電圧を印加する高電圧印加手段とを備え、放電領域を通過する浄化対象物のろ過を行なうフィルタを放電領域の下流側に備えた浄化装置が知られている(例えば、特許文献1参照)。
【先行技術文献】
【特許文献】
【0003】
特開2004-350890号公報
【発明の概要】
【発明が解決しようとする課題】
【0004】
特許文献1に示されるような技術においては、放電電極と対向電極との間を通過した浄化対象物を殺菌し、及び/又は帯電させ、フィルタで捕集する。しかしながら、捕集性能を向上させるためには捕集部となるフィルタ面積を拡大することが必要となるため、風路の圧力損失が増大してしまう。一方、捕集部(フィルタ)を設けることなく、放電のみでウイルスを含む微生物等を不活化する場合、不活化能力を強化するために放電強度を増大させようとすると、電極間に電圧を印加する電源部の肥大化を招いてしまう。
【0005】
本開示は、このような課題を解決するためになされたものである。その目的は、放電に必要な電圧を電極間に印加する電源部の大型化を抑制しつつ、電極間での放電によるウイルスを含む微生物等の不活化能力を向上できる放電装置を提供することにある。
【課題を解決するための手段】
【0006】
本開示に係る放電装置は、清浄化の対象である空気が通過する風路中に設けられた放電電極と、前記風路中に前記放電電極から離間して配置された対向電極と、を含む負荷回路を有する荷電部と、前記放電電極及び前記対向電極の両電極間に周期的なパルス波形の電圧を印加する電源部と、を備え、前記電源部は、前記パルス波形の高電圧時に予め設定された第1電圧値を目標として電圧を前記両電極間に印加し、前記パルス波形の低電圧時に予め設定された第2電圧値を目標として電圧を前記両電極間に印加し、前記パルス波形の周波数は、100Hz以上1000Hz以下であり、前記第1電圧値は、4kV以上7kV以下であり、前記第2電圧値は、前記第1電圧値の0.4倍以下であり、前記負荷回路の容量は、50pF以下である。
【発明の効果】
【0007】
本開示に係る放電装置によれば、電源部の大型化を抑制しつつ、電極間での放電によるウイルスを含む微生物等の不活化能力を向上できるという効果を奏する。
【図面の簡単な説明】
【0008】
実施の形態1に係る放電装置が設けられたダクトの構成を模式的に示す図である。
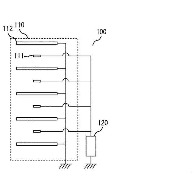
実施の形態1に係る放電装置の構成を模式的に示す図である。
実施の形態1に係る放電装置の荷電部の分解斜視図である。
実施の形態1に係る放電装置の両電極間に印加される電圧波形の一例を説明する図である。
実施の形態1に係る放電装置の両電極間に印加する電圧のパルス波形の周波数とウイルスの不活化率との関係の一例を示す図である。
実施の形態1に係る放電装置の両電極間に印加する電圧のパルス波形のデューティ比とウイルスの不活化率との関係の一例を示す図である。
実施の形態1に係る放電装置の負荷回路の容量とウイルスの不活化率との関係の一例を示す図である。
実施の形態1に係る放電装置の放電空間を説明する要部拡大斜視図である。
【発明を実施するための形態】
【0009】
本開示に係る放電装置を実施するための形態について添付の図面を参照しながら説明する。各図において、同一又は相当する部分には同一の符号を付して、重複する説明は適宜に簡略化又は省略する。以下の説明においては便宜上、図示の状態を基準に各構造の位置関係を表現することがある。なお、本開示は以下の実施の形態に限定されることなく、本開示の趣旨を逸脱しない範囲において、各実施の形態の自由な組み合わせ、各実施の形態の任意の構成要素の変形、又は各実施の形態の任意の構成要素の省略が可能である。
【0010】
実施の形態1.
図1から図8を参照しながら、本開示の実施の形態1について説明する。図1は放電装置が設けられたダクトの構成を模式的に示す図である。図2は放電装置の構成を模式的に示す図である。図3は放電装置の荷電部の分解斜視図である。図4は放電装置の両電極間に印加される電圧波形の一例を説明する図である。図5は放電装置の両電極間に印加する電圧のパルス波形の周波数とウイルスの不活化率との関係の一例を示す図である。図6は放電装置の両電極間に印加する電圧のパルス波形のデューティ比とウイルスの不活化率との関係の一例を示す図である。図7は放電装置の負荷回路の容量とウイルスの不活化率との関係の一例を示す図である。図8は放電装置の放電空間を説明する要部拡大斜視図である。
(【0011】以降は省略されています)
この特許をJ-PlatPat(特許庁公式サイト)で参照する
関連特許
三菱電機株式会社
照明装置
25日前
三菱電機株式会社
回転電機
25日前
三菱電機株式会社
電子機器
今日
三菱電機株式会社
回転電機
15日前
三菱電機株式会社
半導体装置
19日前
三菱電機株式会社
半導体装置
25日前
三菱電機株式会社
半導体装置
5日前
三菱電機株式会社
加熱調理器
18日前
三菱電機株式会社
車両制御装置
27日前
三菱電機株式会社
照明システム
5日前
三菱電機株式会社
電力変換装置
25日前
三菱電機株式会社
貯湯式給湯機
15日前
三菱電機株式会社
空気調和装置
26日前
三菱電機株式会社
ネジ取出機構
26日前
三菱電機株式会社
給湯システム
18日前
三菱電機株式会社
送電線保護装置
25日前
三菱電機株式会社
電動機制御装置
11日前
三菱電機株式会社
非常用照明装置
18日前
三菱電機株式会社
空気清浄システム
18日前
三菱電機株式会社
電流切替型DAC
5日前
三菱電機株式会社
照明制御システム
12日前
三菱電機株式会社
風力発電システム
15日前
三菱電機株式会社
換気空調システム
15日前
三菱電機株式会社
ウエハテスト装置
25日前
三菱電機株式会社
照明制御システム
25日前
三菱電機株式会社
コントロールセンタ
25日前
三菱電機株式会社
照明器具及び照明装置
25日前
三菱電機株式会社
冷蔵庫及び冷蔵庫システム
27日前
三菱電機株式会社
車両空調機用診断システム
今日
三菱電機株式会社
室外機および空気調和装置
25日前
三菱電機株式会社
制御システムおよび学習装置
25日前
三菱電機株式会社
半導体装置及びその製造方法
18日前
三菱電機株式会社
半導体装置及びヒートシンク
19日前
三菱電機株式会社
コントローラ及び送風システム
15日前
三菱電機株式会社
半導体装置および電力変換装置
25日前
三菱電機株式会社
監視装置、および監視システム
6日前
続きを見る
他の特許を見る