TOP
|
特許
|
意匠
|
商標
特許ウォッチ
Twitter
他の特許を見る
10個以上の画像は省略されています。
公開番号
2025064876
公報種別
公開特許公報(A)
公開日
2025-04-17
出願番号
2024028905
出願日
2024-02-28
発明の名称
溶接装置
出願人
株式会社ダイヘン
代理人
個人
,
個人
主分類
B23K
9/073 20060101AFI20250410BHJP(工作機械;他に分類されない金属加工)
要約
【課題】周期的に変化する溶接電力を出力する溶接において、アークの安定性の低下を抑制することができる溶接装置を提供する。
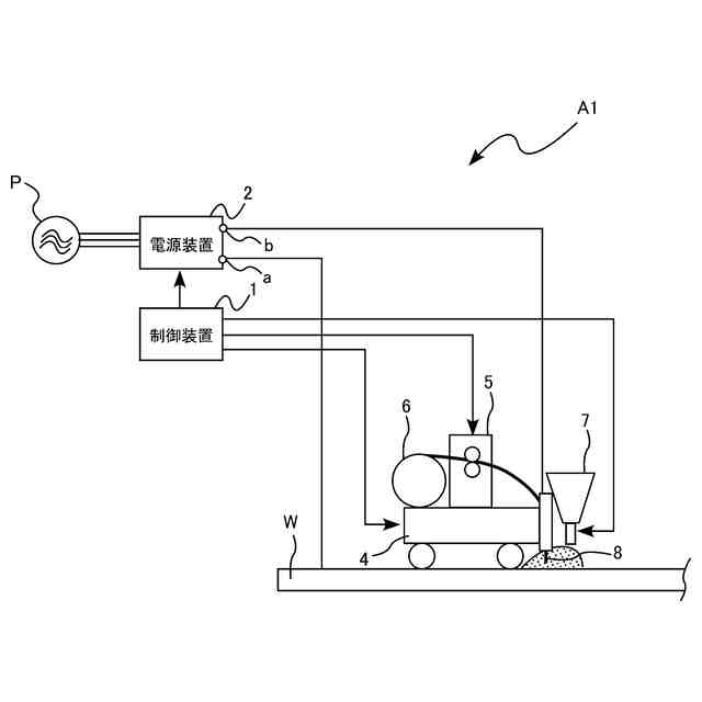
【解決手段】溶接装置A1は、消耗電極式のアーク溶接を行う。溶接装置A1は、インバータ回路を有し、周期的に変化する溶接電力をアークに供給する電源回路20と、電源回路20を制御する制御回路28と、を備える。制御回路28は、溶接電力の電流実効値および電圧実効値が、設定された外部特性に応じた特性線上に存在するように、現時点から後の一周期における目標実効電流あるいは目標実効電圧を設定し、設定した目標実効電流あるいは目標実効電圧に応じて、瞬時の溶接電流あるいは瞬時の溶接電圧を制御する。
【選択図】図2
特許請求の範囲
【請求項1】
消耗電極式のアーク溶接を行う溶接装置であって、
インバータ回路を有し、周期的に変化する溶接電力をアークに供給する電源回路と、
前記電源回路を制御する制御回路と、
を備え、
前記制御回路は、前記溶接電力の電流実効値および電圧実効値が、設定された外部特性に応じた特性線上に存在するように、現時点から後の一周期における目標実効電流あるいは目標実効電圧を設定し、設定した目標実効電流あるいは目標実効電圧に応じて、瞬時の溶接電流あるいは瞬時の溶接電圧を制御する、溶接装置。
続きを表示(約 1,200 文字)
【請求項2】
前記制御回路は、前記溶接電力の一周期毎に、前記目標実効電流あるいは前記目標実効電圧を設定する、請求項1に記載の溶接装置。
【請求項3】
前記制御回路は、前記溶接電力の一周期よりも短い算出周期で、設定された前記目標実効電流から前記溶接電流の波形を算出するか、あるいは設定された前記目標実効電圧から前記溶接電圧の波形を算出しており、前記算出周期毎に、前記目標実効電流あるいは前記目標実効電圧を設定する、請求項1に記載の溶接装置。
【請求項4】
前記制御回路は、現時点から前の一周期における前記電流実効値および前記電圧実効値を用いて、前記現時点から後の一周期における目標実効電流を算出し、前記現時点から後の一周期における溶接電流の実効値が、前記現時点から後の一周期における目標実効電流となるように、前記現時点から後の一周期における電流波形を決定する、請求項2または請求項3に記載の溶接装置。
【請求項5】
前記制御回路は、現時点から前の一周期における前記電流実効値の代わりに現時点から前の一周期における前記目標実効電流を用いる、請求項4に記載の溶接装置。
【請求項6】
前記制御回路は、現時点から前の一周期における前記電圧実効値の代わりに現時点から前の一周期における前記目標実効電圧を用いる、請求項4に記載の溶接装置。
【請求項7】
前記制御回路は、現時点から前の一周期における前記電流実効値の代わりに現時点から前の一周期における前記目標実効電流を用い、且つ、現時点から前の一周期における前記電圧実効値の代わりに現時点から前の一周期における瞬時の出力電圧の平均値を用いる、請求項4に記載の溶接装置。
【請求項8】
前記制御回路は、設定電流をIset、設定電圧をVset、設定電流Isetおよび設定電圧Vsetを通る前記外部特性に応じた特性線の傾きをR、交流周期をΔt、仮想インダクタンスをL、前記現時点から前の一周期における目標実効電流をItgt(n-1)、前記現時点から前の一周期における出力電圧の実効値をVfbとして、下記(1)式に示す演算により、前記現時点から後の一周期における目標実効電流Itgt(n)を算出する、請求項5に記載の溶接装置。
TIFF
2025064876000006.tif
13
160
【請求項9】
前記電源回路は、前記溶接電力として、交流電力をアークに供給する、請求項1ないし請求項3のいずれかに記載の溶接装置。
【請求項10】
前記外部特性のパラメータを指定可能な操作部をさらに備え、
前記制御回路は、前記外部特性の設定値として、溶接に関する情報に応じた標準値を設定する標準値モードと、前記操作部によって指定された指定値を設定する自由設定モードとで切替可能である、請求項1ないし請求項3のいずれかに記載の溶接装置。
発明の詳細な説明
【技術分野】
【0001】
本開示は、溶接装置に関する。
続きを表示(約 1,400 文字)
【背景技術】
【0002】
従来、溶接装置には、消耗電極式のアーク溶接を行うものがある。例えば、特許文献1には、従来の溶接装置(溶接電源)が開示されている。特許文献1に記載の溶接装置は、所定の外部特性を形成して、生成した外部特性に応じた出力制御を行う。この出力制御において、溶接装置は、外部特性から瞬時の電流目標値を設定して、溶接電流が当該電流目標値となるように、逐次制御を行う。
【先行技術文献】
【特許文献】
【0003】
特開2009-178763号公報
【発明の概要】
【発明が解決しようとする課題】
【0004】
交流電力を出力する交流溶接では、溶接電流は例えば波形が正弦波となるように変化するため、瞬時の電流目標値による電流制御では、溶接電流と溶接電圧とが外部特性線から外れる可能性がある。つまり、外部特性に応じた出力制御が困難となることがあり、アークの安定性が低下する虞があった。このことは、交流溶接に限らず、周期的に変化する溶接電力を出力する溶接(例えば直流パルス溶接)において、生じうる。
【0005】
本開示は、上記事情に鑑みて考え出されたものであり、その目的は、周期的に変化する溶接電力を出力する溶接において、アークの安定性の低下を抑制できる溶接装置を提供することにある。
【課題を解決するための手段】
【0006】
本開示によって提供される溶接装置は、消耗電極式のアーク溶接を行う溶接装置であって、インバータ回路を有し、周期的に変化する溶接電力をアークに供給する電源回路と、前記電源回路を制御する制御回路と、を備え、前記制御回路は、前記溶接電力の電流実効値および電圧実効値が、設定された外部特性に応じた特性線上に存在するように、現時点から後の一周期における目標実効電流あるいは目標実効電圧を設定し、設定した目標実効電流あるいは目標実効電圧に応じて、瞬時の溶接電流あるいは瞬時の溶接電圧を制御する。
【0007】
前記溶接装置の好ましい実施の形態において、前記制御回路は、前記溶接電力の一周期毎に、前記目標実効電流あるいは前記目標実効電圧を設定する。
【0008】
前記溶接装置の好ましい実施の形態において、前記制御回路は、前記溶接電力の一周期よりも短い算出周期で、設定された前記目標実効電流から前記溶接電流の波形を算出するか、あるいは設定された前記目標実効電圧から前記溶接電圧の波形を算出しており、前記算出周期毎に、前記目標実効電流あるいは前記目標実効電圧を設定する。
【0009】
前記溶接装置の好ましい実施の形態において、前記制御回路は、現時点から前の一周期における前記電流実効値および前記電圧実効値を用いて、前記現時点から後の一周期における目標実効電流を算出し、前記現時点から後の一周期における溶接電流の実効値が、前記現時点から後の一周期における目標実効電流となるように、前記現時点から後の一周期における電流波形を決定する。
【0010】
前記溶接装置の好ましい実施の形態において、前記制御回路は、現時点から前の一周期における前記電流実効値の代わりに現時点から前の一周期における前記目標実効電流を用いる。
(【0011】以降は省略されています)
この特許をJ-PlatPat(特許庁公式サイト)で参照する
関連特許
株式会社ダイヘン
充電装置
6日前
株式会社ダイヘン
制御装置
6日前
株式会社ダイヘン
充電装置
6日前
株式会社ダイヘン
充電装置
6日前
株式会社ダイヘン
搬送装置
6日前
株式会社ダイヘン
充電装置
6日前
株式会社ダイヘン
固相接合装置
1か月前
株式会社ダイヘン
固相接合装置
1か月前
株式会社ダイヘン
電力変換装置
9日前
株式会社ダイヘン
電力システム
9日前
株式会社ダイヘン
回生ユニット
7日前
株式会社ダイヘン
固相接合装置
1か月前
株式会社ダイヘン
溶接電源装置
6日前
株式会社ダイヘン
インバータ装置
1日前
株式会社ダイヘン
インバータ装置
6日前
株式会社ダイヘン
変圧器組立装置
6日前
株式会社ダイヘン
プラズマ発生器
17日前
株式会社ダイヘン
パルス電源装置
6日前
株式会社ダイヘン
絶縁紙巻回装置
14日前
株式会社ダイヘン
パワーモジュール
6日前
株式会社ダイヘン
パワーモジュール
6日前
株式会社ダイヘン
ロボットシステム
17日前
株式会社ダイヘン
パワーモジュール
6日前
株式会社ダイヘン
ロボットシステム
14日前
株式会社ダイヘン
アーク溶接システム
6日前
株式会社ダイヘン
直流パルス電源装置
7日前
株式会社ダイヘン
制御装置及び研削システム
6日前
株式会社ダイヘン
サブマージアーク溶接システム
6日前
株式会社ダイヘン
サブマージアーク溶接システム
6日前
株式会社ダイヘン
通信システム、および、通信方法
7日前
株式会社ダイヘン
変圧器組立方法及び変圧器組立装置
6日前
株式会社ダイヘン
絶縁紙巻回装置及び絶縁紙巻回方法
14日前
株式会社ダイヘン
溶接検査装置、形状計測装置および外観検査装置
7日前
株式会社ダイヘン
搬送ロボットの教示システム、および搬送ロボットの教示方法
6日前
株式会社ダイヘン
搬送ロボットの教示システム、および搬送ロボットの教示方法
6日前
株式会社ダイヘン
フラットパネル製造システム及びそれに用いられるロボット制御装置
7日前
続きを見る
他の特許を見る