TOP
|
特許
|
意匠
|
商標
特許ウォッチ
Twitter
他の特許を見る
公開番号
2025060294
公報種別
公開特許公報(A)
公開日
2025-04-10
出願番号
2023170955
出願日
2023-09-29
発明の名称
作業機械
出願人
日立建機株式会社
代理人
弁理士法人サンネクスト国際特許事務所
主分類
E02F
9/20 20060101AFI20250403BHJP(水工;基礎;土砂の移送)
要約
【課題】作業機械に適した燃料電池制御を行うことが可能な燃料電池システムを有する作業機械を実現する。
【解決手段】車体コントローラ45は、オペレータが操作を行っていない作業機械の非操作時に、蓄電装置135の蓄電量が所定の蓄電範囲内に維持されるように燃料電池110による発電を制御するとともに、電動機30の回転数に応じて、燃料電池110を制御する際の蓄電装置135の蓄電範囲を可変とする。
【選択図】図2
特許請求の範囲
【請求項1】
燃料電池と、
電力を充放電可能な蓄電装置と、
前記燃料電池および前記蓄電装置からそれぞれ供給される電力を用いて駆動する電動機と、
前記燃料電池を制御する制御装置と、を備えた作業機械であって、
前記制御装置は、前記作業機械の非操作時に、前記蓄電装置の蓄電量が所定の蓄電範囲内に維持されるように前記燃料電池による発電を制御するとともに、前記電動機の回転数に応じて前記蓄電範囲を可変とする
ことを特徴とする作業機械。
続きを表示(約 960 文字)
【請求項2】
請求項1に記載の作業機械において、
前記蓄電範囲は、前記燃料電池の発電を停止する停止判定値と、前記燃料電池の発電を再開する再開判定値と、の間の充電状態として定義され、
前記制御装置は、
前記蓄電量が前記停止判定値を超えると、前記蓄電量が前記再開判定値よりも低くなるまで前記燃料電池の発電を停止するように、前記燃料電池を制御し、
前記電動機の回転数の減少に伴って前記停止判定値を増加させる
ことを特徴とする作業機械。
【請求項3】
請求項1または2に記載の作業機械において、
前記蓄電範囲は、前記燃料電池の発電を停止する停止判定値と、前記燃料電池の発電を再開する再開判定値と、の間の充電状態として定義され、
前記制御装置は、
前記蓄電量が前記再開判定値よりも低くなると、前記蓄電量が前記停止判定値を超えるまで前記燃料電池の発電を維持するように、前記燃料電池を制御し、
前記電動機の回転数の減少に伴って前記再開判定値を増加させる
ことを特徴とする作業機械。
【請求項4】
請求項3に記載の作業機械において、
前記制御装置は、
前記作業機械の非操作状態が所定のアイドル判定時間以上継続した場合に、前記電動機の回転数を所定のオートアイドル回転数まで低下させ、
前記作業機械の非操作状態がさらに所定のアイドリングストップ判定時間以上継続した場合に、前記電動機を停止させるアイドリングストップ制御を実施し、
前記アイドリングストップ制御により前記電動機を停止させた場合に、前記電動機の回転数が前記オートアイドル回転数まで低下した際に増加された前記再開判定値を減少させる
ことを特徴とする作業機械。
【請求項5】
請求項4に記載の作業機械において、
前記制御装置は、前記アイドリングストップ制御により前記電動機を停止させた後、前記作業機械の非操作状態がさらに所定時間以上継続した場合に、前記蓄電装置の蓄電量が所定の目標値以上であるときに、前記燃料電池を含む前記作業機械の燃料電池システムをシャットダウンする
ことを特徴とする作業機械。
発明の詳細な説明
【技術分野】
【0001】
本発明は、作業機械に関する。
続きを表示(約 1,600 文字)
【背景技術】
【0002】
近年、地球温暖化対策のために、温室効果ガスを排出しない作業機械として、燃料電池システムを有する作業機械が知られている。こうした作業機械において、燃料電池には発電電力が低い低電力域で電圧が上昇する特性がある。しかしながら、燃料電池における電圧の上昇は寿命の低下につながるため望ましいことではなく、電圧上昇の発生頻度をなるべく抑える必要がある。
【0003】
上記のような課題に対して、特許文献1の技術が知られている。特許文献1には、燃料電池が発電した電力を蓄電可能なバッテリを備え、車両の要求電力が小さいときには燃料電池の発電運転を停止して、エアコンなどの車両の要求電力をバッテリの蓄電電力で賄うことにより、低電力域での燃料電池の運転頻度を抑える燃料電池システムが開示されている。
【先行技術文献】
【特許文献】
【0004】
特開2007-128778号公報
【発明の概要】
【発明が解決しようとする課題】
【0005】
燃料電池システムを有する油圧ショベル等の作業機械では、燃料電池から供給される電力により電動機を駆動させ、この電動機の動力を用いて油圧ポンプを動作させることにより、作業機械に備えられた油圧アクチュエータを動作させる。ここで、一般的に作業機械では、油圧ポンプの回転数をオペレータが任意に調整できるようになっている。また、オペレータからの操作入力が無い場合などには、油圧ポンプの回転数を自動的に低下させるオートアイドル制御が行われるようになっている。これらの機能を実現しつつ、蓄電装置の過放電や過充電を防止するため、作業機械用の燃料電池システムでは、自動車等の一般車両用のものとは異なる燃料電池の制御を行う必要がある。
【0006】
本発明は、上記の点に鑑みてなされたものであり、その目的とするところは、作業機械に適した燃料電池制御を行うことが可能な燃料電池システムを有する作業機械を実現することにある。
【課題を解決するための手段】
【0007】
本発明による作業機械は、燃料電池と、電力を充放電可能な蓄電装置と、前記燃料電池および前記蓄電装置からそれぞれ供給される電力を用いて駆動する電動機と、前記燃料電池を制御する制御装置と、を備え、前記制御装置は、前記作業機械の非操作時に、前記蓄電装置の蓄電量が所定の蓄電範囲内に維持されるように前記燃料電池による発電を制御するとともに、前記電動機の回転数に応じて前記蓄電範囲を可変とする。
【発明の効果】
【0008】
本発明によれば、作業機械に適した燃料電池制御を行うことが可能な燃料電池システムを有する作業機械を実現することができる。
【0009】
なお、本発明に関連する更なる特徴は、本明細書の記述、添付図面から明らかになるものである。また、上記した以外の、課題、構成及び効果は、以下の実施形態の説明により明らかにされる。
【図面の簡単な説明】
【0010】
本発明の一実施形態に係る作業機械の一例である油圧ショベルの外観図。
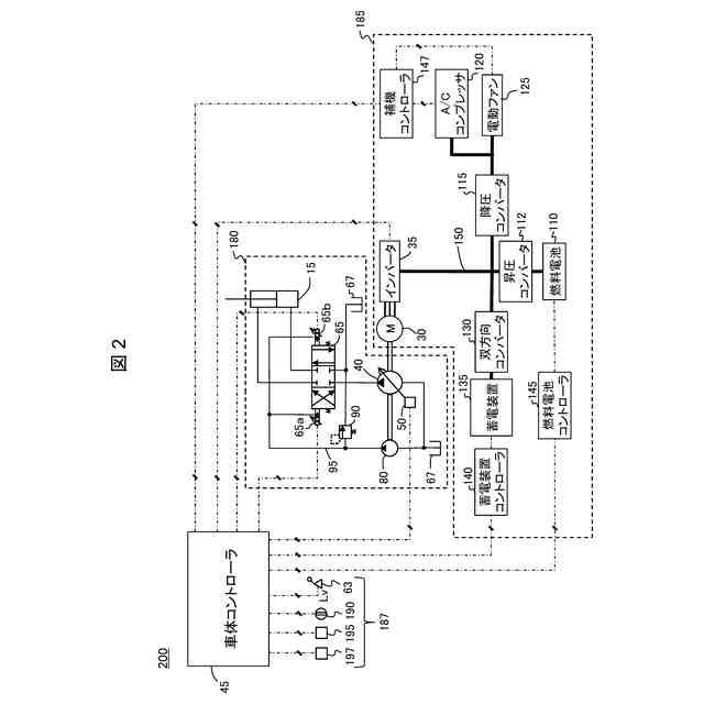
本発明の一実施形態に係る作業機械における燃料電池システムの概略構成図。
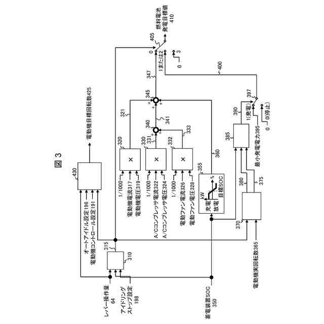
車体コントローラの演算処理の内容を示す制御ブロック図。
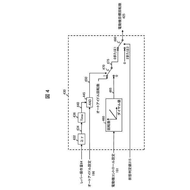
電動機目標回転数演算部の制御ブロック図。
状態判定演算部の制御ブロック図。
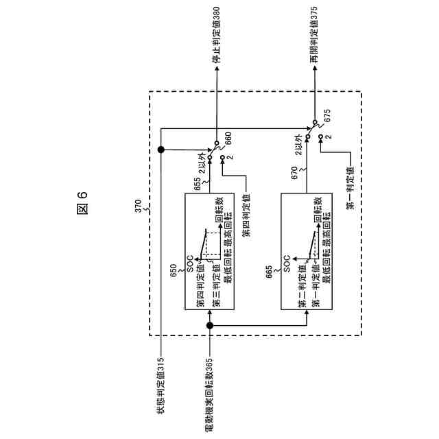
上下限判定演算部の制御ブロック図。
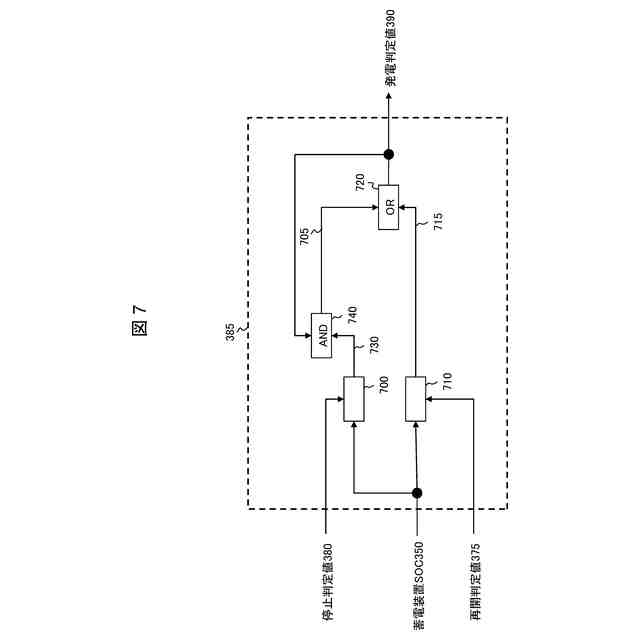
発電判定演算部の制御ブロック図。
本発明の一実施形態に係る作業機械における燃料電池システムの制御の一例を示すタイムチャート。
【発明を実施するための形態】
(【0011】以降は省略されています)
この特許をJ-PlatPat(特許庁公式サイト)で参照する
関連特許
日立建機株式会社
建設機械
今日
日立建機株式会社
作業機械
今日
日立建機株式会社
作業機械
8日前
日立建機株式会社
建設機械
4日前
日立建機株式会社
作業機械
4日前
日立建機株式会社
作業機械
1日前
日立建機株式会社
作業機械
1日前
日立建機株式会社
建設機械
今日
日立建機株式会社
油圧機器
今日
日立建機株式会社
作業機械
今日
日立建機株式会社
作業機械
14日前
日立建機株式会社
作業機械
今日
日立建機株式会社
作業機械
今日
日立建機株式会社
建設機械
今日
日立建機株式会社
作業車両
今日
日立建機株式会社
動力伝達装置
今日
日立建機株式会社
油圧システム
4日前
日立建機株式会社
液冷式抵抗器
今日
日立建機株式会社
電動式作業機械
今日
日立建機株式会社
ダンプトラック
今日
日立建機株式会社
水素供給システム
今日
日立建機株式会社
分別回収システム
4日前
日立建機株式会社
減速機及び建設機械
今日
日立建機株式会社
スプライン連結装置
4日前
日立建機株式会社
建設機械の下部走行体
7日前
日立建機株式会社
地形情報管理システム
4日前
日立建機株式会社
作業機械及び監視システム
今日
日立建機株式会社
作業機械の位置推定システム
14日前
日立建機株式会社
アキシャルピストン式液圧回転機
今日
日立建機株式会社
作業機械および作業機械の制御方法
2日前
日立建機株式会社
作業機械の経路生成装置及び作業機械
今日
日立建機株式会社
計測装置及びダンプトラックの走行装置
今日
日立建機株式会社
満足度収集システム及び満足度収集サーバ
今日
日立建機株式会社
減速機の評価システムおよび評価システムを搭載した油圧ショベル
4日前
個人
鋼管
15日前
FKS株式会社
擁壁
4日前
続きを見る
他の特許を見る