TOP
|
特許
|
意匠
|
商標
特許ウォッチ
Twitter
他の特許を見る
10個以上の画像は省略されています。
公開番号
2025139875
公報種別
公開特許公報(A)
公開日
2025-09-29
出願番号
2024038949
出願日
2024-03-13
発明の名称
スプライン連結装置
出願人
日立建機株式会社
代理人
弁理士法人広和特許事務所
主分類
F16D
1/06 20060101AFI20250919BHJP(機械要素または単位;機械または装置の効果的機能を生じ維持するための一般的手段)
要約
【課題】穴スプライン歯および軸スプライン歯の軸方向の基端側の応力を緩和できるスプライン連結装置を提供する。
【解決手段】ハブ32は、内周側に穴スプライン部32Cが設けられている。回転軸34は、外周側に軸スプライン部34Aが設けられている。クランピングねじ35は、薄肉部32Hを押圧することにより、穴スプライン歯32C1と軸スプライン歯34A1とを拘束する。軸スプライン歯34A1および穴スプライン歯32C1は、軸方向の基端側の端部42,53にテーパ面43,52を有している。軸スプライン歯34A1のテーパ面43と穴スプライン歯32C1のテーパ面52は、穴スプライン部32Cと軸スプライン部34Aとをスプライン結合させた状態で、周方向から見て交差している。
【選択図】図6
特許請求の範囲
【請求項1】
内周に穴スプライン部が設けられた円筒状のハブと、
先端部に、外周側に前記穴スプライン部とスプライン結合する軸スプライン部が設けられた回転軸と、を備え、
前記ハブは、前記穴スプライン部の径方向外側に設けられ、一方側の端面から他方側の端面にかけて、前記ハブの軸線方向に貫通する貫通穴と、
前記ハブの外周側面から前記貫通穴に向けて形成された挿入穴と、
前記ハブの前記貫通穴と前記穴スプライン部との間に形成された薄肉部と、を有し、
前記ハブの前記挿入穴に挿入され、前記薄肉部を押圧する押圧具と、を備えたスプライン連結装置において、
前記軸スプライン部には、軸スプライン歯の前記回転軸の軸方向の先端側とは反対側となる基端側の端部に軸スプラインテーパ面が形成され、
前記穴スプライン部には、穴スプライン歯の軸線方向の基端側の端部に穴スプラインテーパ面が形成され、
それぞれ前記軸スプラインテーパ面と前記穴スプラインテーパ面は、前記穴スプライン部と前記軸スプライン部とをスプライン結合させた状態で、それらのテーパ面を前記ハブの周方向から見たとき、交差するように形成されている、
ことを特徴とするスプライン連結装置。
続きを表示(約 440 文字)
【請求項2】
前記穴スプライン歯は、前記穴スプラインテーパ面よりも前記基端側にあり、前記穴スプライン歯の軸方向の中間部の高さよりも低い高さで軸方向に延びる歯元延長部を有している、
ことを特徴とする請求項1に記載のスプライン連結装置。
【請求項3】
前記回転軸は、前記軸スプライン歯の前記軸スプラインテーパ面よりも前記基端側に溝を有している、
ことを特徴とする請求項1に記載のスプライン連結装置。
【請求項4】
前記回転軸の外周面に周方向に沿って溝が形成され、
前記溝は前記軸スプライン歯の前記軸スプラインテーパ面に連続して形成され、
前記溝は前記穴スプライン歯の前記歯元延長部と径方向に対面する、
ことを特徴とする請求項2に記載のスプライン連結装置。
【請求項5】
前記回転軸は、建設機械に搭載される油圧ポンプの回転軸である、
ことを特徴とする請求項1に記載のスプライン連結装置。
発明の詳細な説明
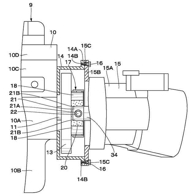
【技術分野】
【0001】
本開示は、例えば、油圧ショベル等の建設機械に搭載された原動機と油圧ポンプとの間で回転力を伝達するスプライン連結装置に関する。
続きを表示(約 1,900 文字)
【背景技術】
【0002】
例えば、油圧ショベル等の建設機械の原動機と油圧ポンプとの間は、スプライン連結装置により回転力の伝達を可能に連結されている。スプライン連結装置は、例えば、内周側に穴スプライン部が設けられた円筒状のハブと、外周側にハブの穴スプライン部とスプライン結合される軸スプライン部が設けられた回転軸と、を備えている。
【0003】
また、例えば、特許文献1には、ネジによりハブの穴スプライン部の穴スプライン歯を回転軸の軸スプライン部の軸スプライン歯に押付けることにより、穴スプライン部と軸スプライン部とを拘束するカップリングが開示されている。また、特許文献2には、軸方向に延びるスプライン歯のうち回転軸の軸方向の先端側とは反対側となる基端側に切り欠き部を設けたスプライン連結構造が開示されている。
【先行技術文献】
【特許文献】
【0004】
実開昭53-73342号公報
特開2009-250356号公報
【発明の概要】
【発明が解決しようとする課題】
【0005】
ところで、軸スプライン歯の軸方向長さが穴スプライン歯の軸方向長さよりも短いと、軸スプライン歯の軸方向の端部、即ち、軸スプライン歯が径方向の外側に向けて立ち上がる傾斜部(テーパ面を有する端部)が、穴スプライン歯の軸方向の中間部の側面に対して周方向に当接する。また、これとは逆に、穴スプライン歯の軸方向長さが軸スプライン歯の軸方向長さよりも短いと、穴スプライン歯の軸方向の端部、即ち、穴スプライン歯が径方向の内側に向けて立ち上がる傾斜部(テーパ面を有する端部)が、軸スプライン歯の軸方向の中間部の側面に対して周方向に当接する。
【0006】
ここで、軸スプライン歯または穴スプライン歯の軸方向の端部(傾斜部、テーパ面を有する端部)は、この端部が周方向に当接する相手、即ち、穴スプライン歯または軸スプライン歯の軸方向の中間部よりも剛性が低い。このため、回転力を伝達しているときに、スプライン歯の軸方向の端部(傾斜部、テーパ面を有する端部)の曲げによる変形量が増大する傾向となり、当該端部と相手側の中間部との周方向の当接部に応力が集中する可能性がある。
【0007】
特に、回転軸に設けられる軸スプライン歯は、回転軸の軸方向の先端側とは反対側となる基端側に、この軸スプライン歯を形成するための加工工具の逃げ溝が形成される。このため、そのままでは、軸スプライン歯が穴スプライン歯よりも軸方向長さが短くなり、軸スプライン歯の軸方向の基端側の端部と穴スプライン歯の軸方向の中間部とが周方向に当接する。これにより、回転力を伝達しているときに、軸スプライン歯の軸方向の基端側の端部(傾斜部、テーパ面を有する端部)の曲げによる変形量が増大する傾向となり、この端部と穴スプライン部の中間部との周方向の当接部に応力が集中する可能性がある。
【0008】
本発明の目的は、穴スプライン歯および軸スプライン歯の軸方向の基端側の応力を緩和できるスプライン連結装置を提供することにある。
【課題を解決するための手段】
【0009】
本発明は、好ましくは、内周に穴スプライン部が設けられた円筒状のハブと、先端部に、外周側に前記穴スプライン部とスプライン結合する軸スプライン部が設けられた回転軸と、を備え、前記ハブは、前記穴スプライン部の径方向外側に設けられ、一方側の端面から他方側の端面にかけて、前記ハブの軸線方向に貫通する貫通穴と、前記ハブの外周側面から前記貫通穴に向けて形成された挿入穴と、前記ハブの前記貫通穴と前記穴スプライン部との間に形成された薄肉部と、を有し、前記ハブの前記挿入穴に挿入され、前記薄肉部を押圧する押圧具と、を備えたスプライン連結装置において、前記軸スプライン部には、軸スプライン歯の前記回転軸の軸方向の先端側とは反対側となる基端側の端部に軸スプラインテーパ面が形成され、前記穴スプライン部には、穴スプライン歯の軸線方向の基端側の端部に穴スプラインテーパ面が形成され、それぞれ前記軸スプラインテーパ面と前記穴スプラインテーパ面は、前記穴スプライン部と前記軸スプライン部とをスプライン結合させた状態で、それらのテーパ面を前記ハブの周方向から見たとき、交差するように形成されている。
【発明の効果】
【0010】
本発明によれば、穴スプライン歯および軸スプライン歯の軸方向の基端側の応力を緩和できる。
【図面の簡単な説明】
(【0011】以降は省略されています)
この特許をJ-PlatPat(特許庁公式サイト)で参照する
関連特許
日立建機株式会社
建設機械
1か月前
日立建機株式会社
建設機械
2か月前
日立建機株式会社
建設機械
3日前
日立建機株式会社
作業機械
2か月前
日立建機株式会社
作業機械
1か月前
日立建機株式会社
作業機械
2か月前
日立建機株式会社
作業機械
1か月前
日立建機株式会社
作業機械
3日前
日立建機株式会社
建設機械
2か月前
日立建機株式会社
作業機械
7日前
日立建機株式会社
作業機械
21日前
日立建機株式会社
作業機械
13日前
日立建機株式会社
電子機器装置
2か月前
日立建機株式会社
情報処理装置
1か月前
日立建機株式会社
油圧システム
3日前
日立建機株式会社
ダンプトラック
2か月前
日立建機株式会社
電動式建設機械
2か月前
日立建機株式会社
電動式作業機械
2か月前
日立建機株式会社
充電支援システム
1か月前
日立建機株式会社
部品需要予測装置
1か月前
日立建機株式会社
分別回収システム
3日前
日立建機株式会社
スプライン連結装置
3日前
日立建機株式会社
建設機械の作業装置
13日前
日立建機株式会社
建設機械の下部走行体
6日前
日立建機株式会社
地形情報管理システム
3日前
日立建機株式会社
制御弁装置および作業機械
1か月前
日立建機株式会社
作業機械の位置推定システム
13日前
日立建機株式会社
カウンタウエイト及び作業機械
1か月前
日本信号株式会社
光検知システム
2か月前
日立建機株式会社
作業機械および作業機械の制御方法
1日前
日立建機株式会社
木材チップ搬出装置及び木材チップ詰め込み機
22日前
日立建機株式会社
オプション用機器着脱支援システムおよび作業機械
2か月前
日立建機株式会社
作業機械
1か月前
日立建機株式会社
電動式建設機械
1か月前
日立建機株式会社
減速機の評価システムおよび評価システムを搭載した油圧ショベル
3日前
日立建機株式会社
ダンプトラックおよび給電システム
1か月前
続きを見る
他の特許を見る