TOP
|
特許
|
意匠
|
商標
特許ウォッチ
Twitter
他の特許を見る
公開番号
2025140807
公報種別
公開特許公報(A)
公開日
2025-09-29
出願番号
2024040396
出願日
2024-03-14
発明の名称
減速機の評価システムおよび評価システムを搭載した油圧ショベル
出願人
日立建機株式会社
代理人
弁理士法人平木国際特許事務所
主分類
G01M
13/028 20190101AFI20250919BHJP(測定;試験)
要約
【課題】負荷や回転速度が変化する可変速運転する減速機において、精度よく減速機の損傷状態を評価可能な評価システムを提供する。
【解決手段】減速機の振動を計測する振動計測手段と、前記振動計測手段に基づいて、可変速運転する減速機の損傷状態を評価する制御装置と、を備えた評価システムにおいて、前記制御装置は、前記減速機と、前記減速機の負荷に影響を与える機構との両方に対し、既定の動作指示が与えられ、前記減速機の回転速度が一定となる区間を含む動作が実行されたと判定し、前記機構が前記既定の動作指示による動作状態にあると、センサの検知結果によって判定すると、(i)前記振動計測手段により計測された振動データから抽出された、前記区間の振動データに基づき、損傷状態指標を算出し、(ii)算出された前記損傷状態指標に基づいて前記減速機の損傷状態を評価する。
【選択図】図3
特許請求の範囲
【請求項1】
減速機の振動を計測する振動計測手段と、
前記振動計測手段に基づいて、可変速運転する減速機の損傷状態を評価する制御装置と、を備えた評価システムにおいて、
前記制御装置は、
前記減速機と、前記減速機の負荷に影響を与える機構との両方に対し、既定の動作指示が与えられ、前記減速機の回転速度が一定となる区間を含む動作が実行されたと判定し、
前記機構が前記既定の動作指示による動作状態にあると、センサの検知結果によって判定すると、
‐前記振動計測手段により計測された振動データから抽出された、前記区間の振動データに基づき、損傷状態指標を算出し、
‐算出された前記損傷状態指標に基づいて前記減速機の損傷状態を評価することを特徴とする評価システム。
続きを表示(約 750 文字)
【請求項2】
請求項1に記載の評価システムにおいて、
前記減速機はモータと結合されて構成され、
前記振動計測手段は振動センサを備え、
前記振動センサは前記モータに設置されていることを特徴とする評価システム。
【請求項3】
請求項1に記載の評価システムにおいて、
前記制御装置は、前記振動計測手段により計測された前記振動データから、前記区間の前記振動データを自動的に抽出することを特徴とする評価システム。
【請求項4】
請求項1に記載の評価システムを搭載した油圧ショベルにおいて、
自走可能な下部走行体と、
前記下部走行体上において旋回輪を介して旋回可能な上部旋回体と、
前記上部旋回体に俯仰動可能に設けられた作業装置と、
を備え、
前記上部旋回体は前記減速機が搭載された旋回装置を含み、
前記減速機の前記負荷に影響を与える前記機構は、前記作業装置であることを特徴とする油圧ショベル。
【請求項5】
請求項4に記載の油圧ショベルにおいて、前記既定の動作指示は、前記作業装置を既定の姿勢とする動作指示を含むことを特徴とする油圧ショベル。
【請求項6】
請求項4に記載の油圧ショベルにおいて、
前記油圧ショベルは、前記旋回装置内の潤滑油の温度を計測する温度計測手段を備え、
前記区間は、前記温度が所定基準を満たす区間であることを特徴とする油圧ショベル。
【請求項7】
請求項6に記載の油圧ショベルにおいて、前記評価システムは、前記温度が前記所定基準を満たすように前記油圧ショベルを動作させることを特徴とする油圧ショベル。
発明の詳細な説明
【技術分野】
【0001】
本発明は、可変速運転する減速機の損傷状態を評価する減速機の評価システムと、その評価システムを搭載した油圧ショベルとに関する。
続きを表示(約 1,500 文字)
【背景技術】
【0002】
特許文献1には、可変速運転する減速機の損傷状態評価システムとして、油圧モータの出力軸に結合された遊星歯車減速機の異常診断装置が開示されている。この特許文献1には、振動センサをモータと歯車減速機の筐体に設置し、得られた振動データから、減速機を構成する歯車の特徴周波数の振幅を評価し、その振幅値の変化を監視することで歯車の異常を診断すると記載されている。
【先行技術文献】
【特許文献】
【0003】
特開2023-68263号公報
【発明の概要】
【発明が解決しようとする課題】
【0004】
しかし、可変速運転する減速機は、運用中にその回転速度が変化し、また減速機に繋がる機構の姿勢も変化するため減速機への負荷も変化する。そのため損傷状態評価に好適な条件で振動を計測することは困難であり、損傷状態の評価精度が低くなる可能性がある。
【0005】
本発明の目的は、負荷や回転速度が変化する可変速運転する減速機においても、精度よく減速機の損傷状態を評価可能な減速機の評価システムを提供することにある。
【課題を解決するための手段】
【0006】
本発明に係る、減速機の評価システムは、一例として、
減速機の振動を計測する振動計測手段と、
前記振動計測手段に基づいて、可変速運転する減速機の損傷状態を評価する制御装置と、を備えた評価システムにおいて、
前記制御装置は、
前記減速機と、前記減速機の負荷に影響を与える機構との両方に対し、既定の動作指示が与えられ、前記減速機の回転速度が一定となる区間を含む動作が実行されたと判定し、
前記機構が前記既定の動作指示による動作状態にあると、センサの検知結果によって判定すると、
‐前記振動計測手段により計測された振動データから抽出された、前記区間の振動データに基づき、損傷状態指標を算出し、
‐算出された前記損傷状態指標に基づいて前記減速機の損傷状態を評価する。
【0007】
本発明に係る油圧ショベルの一例は、
上述の評価システムを搭載した油圧ショベルにおいて、
自走可能な下部走行体と、
前記下部走行体上において旋回輪を介して旋回可能な上部旋回体と、
前記上部旋回体に俯仰動可能に設けられた作業装置と、
を備え、
前記上部旋回体は前記減速機が搭載された旋回装置を含み、
前記減速機の前記負荷に影響を与える前記機構は、前記作業装置である。
【発明の効果】
【0008】
本発明によれば、負荷や回転速度の影響による損傷状態指標のばらつきを抑制し、可変速運転する減速機の損傷状態を精度よく評価可能である。
【0009】
上記した以外の課題、構成および効果は、以下の発明を実施するための形態の説明により明らかにされる。
【図面の簡単な説明】
【0010】
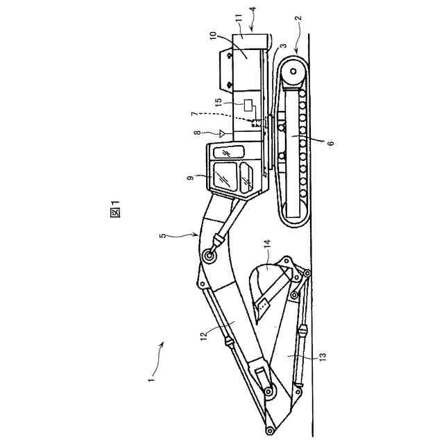
本発明の実施例1に係る油圧ショベルを示す外観図である。
図1の油圧ショベルの旋回装置を示す縦断面図である。
本発明の実施例1に係る損傷状態評価システムの損傷状態評価フロー図である。
本発明の実施例1に係る損傷状態評価システムにより評価された損傷状態指標と、参考の損傷状態評価システムにより評価された損傷状態指標とを示す図である。
本発明の実施例2に係る油圧ショベルの旋回装置を示す縦断面図である。
【発明を実施するための形態】
(【0011】以降は省略されています)
この特許をJ-PlatPat(特許庁公式サイト)で参照する
関連特許
日立建機株式会社
作業機械
3日前
日立建機株式会社
建設機械
3日前
日立建機株式会社
作業機械
7日前
日立建機株式会社
油圧システム
3日前
日立建機株式会社
分別回収システム
3日前
日立建機株式会社
スプライン連結装置
3日前
日立建機株式会社
地形情報管理システム
3日前
日立建機株式会社
建設機械の下部走行体
6日前
日立建機株式会社
作業機械の位置推定システム
13日前
日立建機株式会社
作業機械および作業機械の制御方法
1日前
日立建機株式会社
減速機の評価システムおよび評価システムを搭載した油圧ショベル
3日前
個人
計量スプーン
23日前
個人
微小振動検出装置
1か月前
株式会社イシダ
X線検査装置
1か月前
日本精機株式会社
位置検出装置
1日前
日本精機株式会社
位置検出装置
1日前
日本精機株式会社
位置検出装置
1日前
大和製衡株式会社
組合せ秤
6日前
株式会社辰巳菱機
システム
1か月前
大和製衡株式会社
組合せ秤
6日前
株式会社東芝
センサ
6日前
アンリツ株式会社
分光器
29日前
トヨタ自動車株式会社
表示装置
15日前
アンリツ株式会社
分光器
29日前
株式会社東芝
センサ
1か月前
株式会社東芝
センサ
6日前
ダイハツ工業株式会社
測定用具
27日前
株式会社ユーシン
操作検出装置
3日前
トヨタ自動車株式会社
検査装置
3日前
TDK株式会社
ガスセンサ
1か月前
TDK株式会社
磁気センサ
1か月前
株式会社精工技研
光電圧プローブ
1か月前
学校法人立命館
液面レベルセンサ
1か月前
個人
粘塑性を用いた有限要素法の定式化
15日前
東レエンジニアリング株式会社
計量装置
3日前
日本精工株式会社
分注装置
1か月前
続きを見る
他の特許を見る