TOP
|
特許
|
意匠
|
商標
特許ウォッチ
Twitter
他の特許を見る
10個以上の画像は省略されています。
公開番号
2025140683
公報種別
公開特許公報(A)
公開日
2025-09-29
出願番号
2024040220
出願日
2024-03-14
発明の名称
地形情報管理システム
出願人
日立建機株式会社
代理人
弁理士法人平木国際特許事務所
主分類
G01C
7/02 20060101AFI20250919BHJP(測定;試験)
要約
【課題】センサ毎の計測精度の正確さの変動を考慮することで、複数のセンサで計測された地形情報をより正確に合成することが可能な地形情報管理システムを提供する。
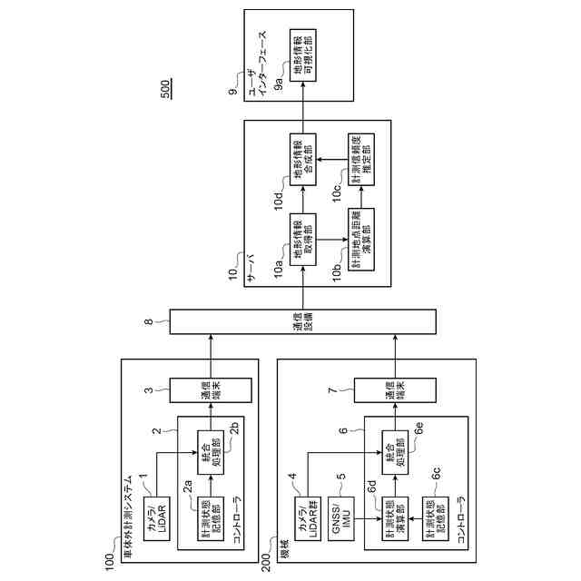
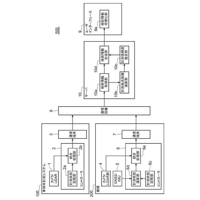
【解決手段】本発明に係る地形情報管理システムは、地形を計測して地形情報を生成する複数の地形計測装置と、地形情報を集約して処理するサーバ装置と、を備え、サーバ装置は、地形計測装置の設置位置と、地形を計測した計測地点との間の距離を演算して距離情報を生成する計測地点距離演算部と、地形計測装置毎の計測精度情報及び距離情報に基づいて計測地点毎の地形計測装置の計測信頼度を推定する計測信頼度推定部と、計測信頼度に基づいて複数の地形計測装置が生成した地形情報を合成する地形情報合成部と、を備える。
【選択図】図2
特許請求の範囲
【請求項1】
地形を計測して地形情報を生成する複数の地形計測装置と、前記地形情報を集約して処理するサーバ装置と、を備え、
前記サーバ装置は、
前記地形計測装置の設置位置と、地形を計測した計測地点との間の距離を演算して距離情報を生成する計測地点距離演算部と、
前記地形計測装置毎の計測精度情報及び前記距離情報に基づいて前記計測地点の前記地形計測装置の計測信頼度を推定する計測信頼度推定部と、
前記計測信頼度に基づいて前記複数の地形計測装置が生成した前記地形情報を合成する地形情報合成部と、を備える、
ことを特徴とする地形情報管理システム。
続きを表示(約 1,000 文字)
【請求項2】
請求項1に記載の地形情報管理システムであって、
前記地形情報合成部は、前記計測信頼度を重みとした加重平均を用いて、前記複数の地形計測装置が生成した前記地形情報を合成する、
ことを特徴とする地形情報管理システム。
【請求項3】
請求項1に記載の地形情報管理システムであって、
前記計測信頼度推定部は、前記計測精度情報及び前記距離情報に加え、前記地形計測装置毎の計測位置姿勢信頼度に基づいて前記計測信頼度を推定する、
ことを特徴とする地形情報管理システム。
【請求項4】
請求項1に記載の地形情報管理システムであって、
前記地形計測装置は作業機械に設置され、
前記計測信頼度推定部は、前記計測精度情報及び前記距離情報に加え、前記作業機械の動作状態に基づいて前記計測信頼度を推定する、
ことを特徴とする地形情報管理システム。
【請求項5】
請求項1に記載の地形情報管理システムであって、
前記サーバ装置は、合成された前記地形情報を、少なくとも前記地形情報が合成された合成時刻、及び合成時の前記計測信頼度から推定される合成計測信頼度と紐づけて計測地点ごとに地形情報履歴として記憶する地形情報履歴記憶部をさらに備え、
前記地形情報履歴記憶部は、前記合成時刻からの経過時間に基づいて前記地形情報履歴記憶部が記憶する前記地形情報の前記合成計測信頼度を減衰させる、
ことを特徴とする地形情報管理システム。
【請求項6】
請求項5に記載の地形情報管理システムであって、
前記地形情報履歴記憶部は、前記合成計測信頼度に基づいて最新の前記地形情報と前記地形情報履歴に含まれる過去の前記地形情報とを合成する、
ことを特徴とする地形情報管理システム。
【請求項7】
地形を計測して地形情報を生成する複数の地形計測装置から受信する前記地形情報を集約して処理するサーバ装置であって、
前記地形計測装置の設置位置と、地形を計測した計測地点との間の距離を演算して距離情報を生成する計測地点距離演算部と、
前記地形計測装置毎の計測精度情報及び前記距離情報に基づいて前記計測地点毎の前記地形計測装置の計測信頼度を推定する計測信頼度推定部と、
前記計測信頼度に基づいて前記複数の地形計測装置が生成した前記地形情報を合成する地形情報合成部と、を備える、
ことを特徴とするサーバ装置。
発明の詳細な説明
【技術分野】
【0001】
本発明は地形に関する情報を管理する地形情報管理システムに関する。
続きを表示(約 1,600 文字)
【背景技術】
【0002】
土木施工現場において、油圧ショベルなどの作業機械や現場の構造物等に設置された複数のセンサが計測する地形情報を合成して、広範囲の現況地形情報をリアルタイムに管理するシステムの開発が進められている。現況地形に応じた建設機械の効率的な掘削制御や、現況地形の変化に基づく施工の進捗管理といった様々な実応用が期待されている。
【0003】
現場に設置された複数のセンサが計測した地形情報を正確に合成するには、計測された個々の地形情報の正確さ(信頼度)を考慮する必要がある。地形情報は、センサに対する対象地形の位置、計測時刻、計測したセンサの状態や性能などに応じてその正確さが変化する。特に複数のセンサによって重複して地形情報が取得された箇所は、より正確な地形情報を選択して合成することで合成後に生成される地形情報も正確なものとなる。
【0004】
個々の計測データの正確さを考慮して地形情報を合成する手段として、特許文献1のような技術が開示されている。特許文献1では、複数のセンサの計測データにおける精度情報によって設定された優先順位に基づいて、地形情報を合成する技術が示されている。
【先行技術文献】
【特許文献】
【0005】
特許第6289731号明細書
【発明の概要】
【発明が解決しようとする課題】
【0006】
複数のセンサの計測データを正確に合成するには各センサの計測精度を正確に把握する必要がある。特にセンサの計測精度の変動は、計測地点がセンサから遠い程大きくなる傾向がある。したがって、1つのセンサの計測データの中でも距離に応じて地形情報の正確さ(信頼度)が変動してしまう。
【0007】
特許文献1に示す技術では、個々のセンサごとの計測精度に着目して優先度を決定しているが、1つのセンサの計測データの中での精度の変動について考慮されていない。したがって、精度が最も高いと判断されたあるセンサの計測データのうちの、精度の低い箇所のデータの優先度が高くなってしまう恐れがある。
【0008】
本発明は、センサ毎の計測精度の正確さ(信頼度)の変動を考慮することで、複数のセンサで計測された地形情報をより正確に合成することが可能な地形情報管理システムを提供することを目的とする。
【課題を解決するための手段】
【0009】
上記課題を解決するために、本発明に係る地形情報管理システムは、地形を計測して地形情報を生成する複数の地形計測装置と、地形情報を集約して処理するサーバ装置と、を備え、サーバ装置は、地形計測装置の設置位置と、地形を計測した計測地点との間の距離を演算して距離情報を生成する計測地点距離演算部と、地形計測装置毎の計測精度情報及び距離情報に基づいて計測地点の地形計測装置の計測信頼度を推定する計測信頼度推定部と、計測信頼度に基づいて複数の地形計測装置が生成した地形情報を合成する地形情報合成部と、を備える。
【発明の効果】
【0010】
本発明によれば、各センサの設置位置と各センサが地形情報を計測した各計測地点との距離情報に基づいて、各センサが計測した地形情報の各計測地点における計測信頼度を推定する。加えて、各センサについて推定された計測信頼度を計測地点ごとに考慮することで、より正確に地形情報を合成することが可能となる。
本発明に関連する更なる特徴は、本明細書の記述、添付図面から明らかになるものである。また、上記した以外の課題、構成及び効果は、以下の実施例の説明により明らかにされる。
【図面の簡単な説明】
(【0011】以降は省略されています)
この特許をJ-PlatPat(特許庁公式サイト)で参照する
関連特許
日立建機株式会社
建設機械
今日
日立建機株式会社
作業機械
今日
日立建機株式会社
建設機械
1か月前
日立建機株式会社
作業機械
1か月前
日立建機株式会社
作業機械
1か月前
日立建機株式会社
作業機械
22日前
日立建機株式会社
作業機械
14日前
日立建機株式会社
作業機械
8日前
日立建機株式会社
油圧機器
今日
日立建機株式会社
作業機械
4日前
日立建機株式会社
作業機械
1日前
日立建機株式会社
作業機械
1日前
日立建機株式会社
建設機械
今日
日立建機株式会社
建設機械
4日前
日立建機株式会社
作業機械
今日
日立建機株式会社
作業機械
今日
日立建機株式会社
作業機械
今日
日立建機株式会社
作業車両
今日
日立建機株式会社
建設機械
今日
日立建機株式会社
油圧システム
4日前
日立建機株式会社
情報処理装置
2か月前
日立建機株式会社
動力伝達装置
今日
日立建機株式会社
液冷式抵抗器
今日
日立建機株式会社
電動式作業機械
今日
日立建機株式会社
ダンプトラック
今日
日立建機株式会社
充電支援システム
1か月前
日立建機株式会社
部品需要予測装置
1か月前
日立建機株式会社
水素供給システム
今日
日立建機株式会社
分別回収システム
4日前
日立建機株式会社
スプライン連結装置
4日前
日立建機株式会社
建設機械の作業装置
14日前
日立建機株式会社
減速機及び建設機械
今日
日立建機株式会社
建設機械の下部走行体
7日前
日立建機株式会社
地形情報管理システム
4日前
日立建機株式会社
作業機械及び監視システム
今日
日立建機株式会社
制御弁装置および作業機械
1か月前
続きを見る
他の特許を見る