TOP
|
特許
|
意匠
|
商標
特許ウォッチ
Twitter
他の特許を見る
10個以上の画像は省略されています。
公開番号
2025145316
公報種別
公開特許公報(A)
公開日
2025-10-03
出願番号
2024045425
出願日
2024-03-21
発明の名称
作業機械及び監視システム
出願人
日立建機株式会社
代理人
弁理士法人武和国際特許事務所
主分類
H04N
7/18 20060101AFI20250926BHJP(電気通信技術)
要約
【課題】他の作業機械に発生した異常を適切に把握することが可能な作業機械を提供する。
【解決手段】作業機械は、周囲を撮像する周囲監視カメラと、コントローラとを備える。コントローラは、作業機械から所定の距離範囲内で動作する他の作業機械の異常を検出した場合に、周囲監視カメラで撮像した撮像画像から、異常を検出した異常検出時刻を含む抽出画像を抽出する。
【選択図】図4
特許請求の範囲
【請求項1】
周囲を撮像する周囲監視カメラと、コントローラとを備える作業機械において、
前記コントローラは、前記作業機械から所定の距離範囲内で動作する他の作業機械の異常を検出した場合に、前記周囲監視カメラで撮像した撮像画像から、異常を検出した異常検出時刻を含む抽出画像を抽出することを特徴とする作業機械。
続きを表示(約 830 文字)
【請求項2】
請求項1に記載の作業機械において、
前記コントローラは、検出した前記他の作業機械の異常の種類に応じて、前記撮像画像のうち、前記異常検出時刻より前から抽出する画像の長さと、前記異常検出時刻より後から抽出する画像の長さとを変更することを特徴とする作業機械。
【請求項3】
請求項1に記載の作業機械において、
前記コントローラは、前記抽出画像から前記他の作業機械を含む領域をトリミングすることを特徴とする作業機械。
【請求項4】
請求項1に記載の作業機械において、
前記他の作業機械と通信する通信インタフェースを備え、
前記コントローラは、前記異常検出時刻を含む画像抽出指示を、前記通信インタフェースを通じて前記他の作業機械から受信した場合に、前記撮像画像から前記抽出画像を抽出することを特徴とする作業機械。
【請求項5】
請求項4に記載の作業機械において、
前記作業機械の状態を検出する状態検出センサを備え、
前記コントローラは、前記状態検出センサで前記作業機械の異常を検出した場合に、前記通信インタフェースを通じて前記画像抽出指示を前記他の作業機械に送信することを特徴とする作業機械。
【請求項6】
請求項1に記載の作業機械において、
前記コントローラは、前記撮像画像を画像解析して、前記他の作業機械の異常を検出することを特徴とする作業機械。
【請求項7】
所定の距離範囲内で動作する第1作業機械及び第2作業機械を備える監視システムにおいて、
前記第2作業機械は、周囲を撮像する周囲監視カメラを備え、
前記監視システムは、前記第1作業機械の異常を検出した場合に、前記周囲監視カメラで撮像した撮像画像から、異常を検出した異常検出時刻を含む抽出画像を抽出することを特徴とする監視システム。
発明の詳細な説明
【技術分野】
【0001】
本発明は、周囲監視カメラを搭載した作業機械及び監視システムに関する。
続きを表示(約 1,500 文字)
【背景技術】
【0002】
油圧ショベルに代表される作業機械は、不整地などの不安定な場所で使用されたり、過酷な環境での長時間稼働するので、様々なトラブル(例えば、転倒、水没、エンジンの異常)が発生するリスクがある。特許文献1、2には、このような課題を解決するために、車体状態を検出する検出センサと、自車の周囲を監視する周囲監視カメラとを備える作業機械が開示されている。
【先行技術文献】
【特許文献】
【0003】
特開2022-155699号公報
特許6545498号公報
【発明の概要】
【発明が解決しようとする課題】
【0004】
しかしながら、異常の種類によっては、自車に搭載された周囲監視カメラの映像だけで、状況を正確に把握できない場合もある。
【0005】
本発明は、上記した実状に鑑みてなされたものであり、その目的は、他の作業機械に発生した異常を適切に把握することが可能な作業機械を提供することにある。
【課題を解決するための手段】
【0006】
上記目的を達成するために、本発明は、周囲を撮像する周囲監視カメラと、コントローラとを備える作業機械において、前記コントローラは、前記作業機械から所定の距離範囲内で動作する他の作業機械の異常を検出した場合に、前記周囲監視カメラで撮像した撮像画像から、異常を検出した異常検出時刻を含む抽出画像を抽出することを特徴とする。
【発明の効果】
【0007】
本発明によれば、他の作業機械に発生した異常を適切に把握することが可能な作業機械を得ることができる。なお、上記した以外の課題、構成及び効果は、以下の実施形態の説明により明らかにされる。
【図面の簡単な説明】
【0008】
監視システムの概念図である。
作業機械のハードウェア構成図である。
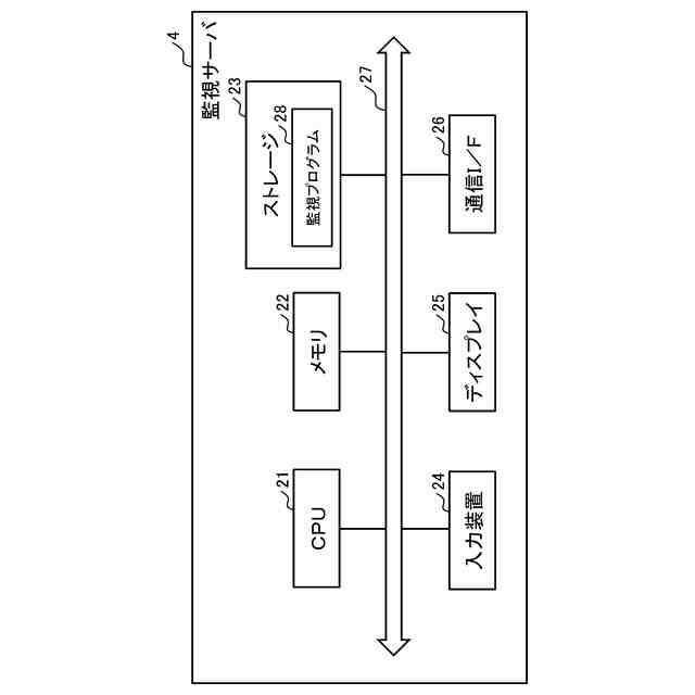
監視サーバのハードウェア構成図である。
本実施形態に係る監視処理のフローチャートである。
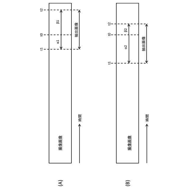
撮像画像から異常検出時刻を含む抽出画像を抽出する例を説明する図である。
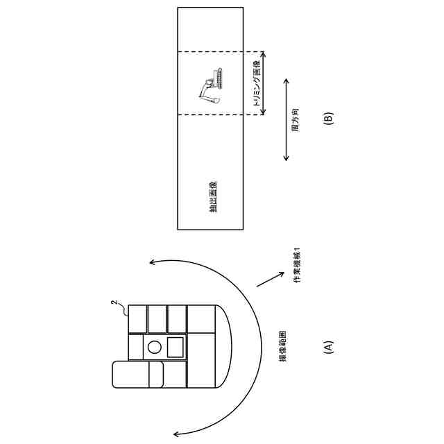
抽出画像から作業機械を含む領域をトリミングする例を示す図である。
状態報知画面の画面例である。
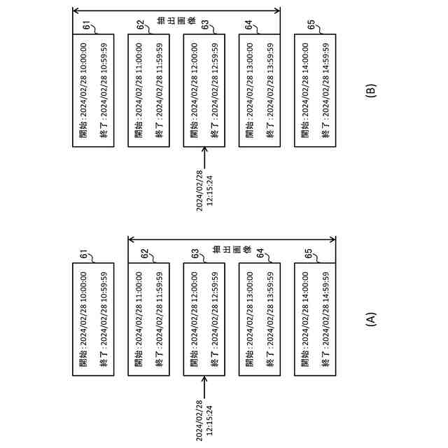
変形例1に係る撮像画像のデータ構造の他の例を示す図である。
変形例2に係る監視処理のフローチャートである。
【発明を実施するための形態】
【0009】
[監視システム100の概要]
図1は、監視システム100の概念図である。監視システム100は、複数の作業機械1、2、3のそれぞれが、車体の異常を第三者目線で相互に監視するシステムである。監視システム100は、例えば、複数の作業機械1、2、3と、監視サーバ4と、監視端末5とを備える。なお、作業機械1~3の数は3台に限定されない。また、監視サーバ4及び監視端末5の一方または両方は、省略可能である。
【0010】
[作業機械1~3の構成]
本実施形態に係る作業機械1~3は、油圧ショベルである。但し、作業機械1~3の具体例は油圧ショベルに限定されず、ダンプトラック、ホイールローダ、クレーンなどのあらゆる作業機械が適用可能である。作業機械1~3は、所定の距離範囲内(例えば、同一の作業現場)で動作している。より詳細には、作業機械1~3は、後述する周囲監視カメラ13でお互いを撮像可能な範囲で作業している。
(【0011】以降は省略されています)
この特許をJ-PlatPat(特許庁公式サイト)で参照する
関連特許
日立建機株式会社
建設機械
今日
日立建機株式会社
作業機械
3か月前
日立建機株式会社
作業機械
22日前
日立建機株式会社
油圧機器
今日
日立建機株式会社
作業機械
1か月前
日立建機株式会社
作業機械
1か月前
日立建機株式会社
建設機械
1か月前
日立建機株式会社
作業機械
2か月前
日立建機株式会社
建設機械
2か月前
日立建機株式会社
建設機械
2か月前
日立建機株式会社
作業機械
2か月前
日立建機株式会社
建設機械
3か月前
日立建機株式会社
作業機械
8日前
日立建機株式会社
作業機械
3か月前
日立建機株式会社
作業車両
3か月前
日立建機株式会社
作業車両
3か月前
日立建機株式会社
作業機械
3か月前
日立建機株式会社
減速装置
3か月前
日立建機株式会社
作業機械
4か月前
日立建機株式会社
建設機械
5か月前
日立建機株式会社
作業機械
5か月前
日立建機株式会社
作業機械
5か月前
日立建機株式会社
作業機械
14日前
日立建機株式会社
作業機械
5か月前
日立建機株式会社
建設機械
4日前
日立建機株式会社
作業機械
1日前
日立建機株式会社
作業機械
今日
日立建機株式会社
建設機械
今日
日立建機株式会社
作業機械
今日
日立建機株式会社
作業車両
今日
日立建機株式会社
作業機械
4日前
日立建機株式会社
建設機械
今日
日立建機株式会社
作業機械
今日
日立建機株式会社
作業機械
1日前
日立建機株式会社
作業機械
今日
日立建機株式会社
情報処理装置
2か月前
続きを見る
他の特許を見る