TOP
|
特許
|
意匠
|
商標
特許ウォッチ
Twitter
他の特許を見る
公開番号
2025063727
公報種別
公開特許公報(A)
公開日
2025-04-16
出願番号
2023173150
出願日
2023-10-04
発明の名称
建設機械
出願人
日立建機株式会社
代理人
弁理士法人第一テクニカル国際特許事務所
主分類
F01P
11/12 20060101AFI20250409BHJP(機械または機関一般;機関設備一般;蒸気機関)
要約
【課題】冷却ファンと油圧ポンプの油圧脈動やエンジン爆発に起因する周期的音源との間の不快なうなりを抑制することができる建設機械を提供する。
【解決手段】油圧ショベル1は、エンジン61と、冷却ファン77o,77r,77iと、冷却ファン77o,77r,77iの回転数を制御する車体コントローラ51と、を備え、車体コントローラ51は、エンジン61の回転数により周波数が変化する周期的音源となる油圧ポンプ62の周波数を特定し、冷却ファン77o,77r,77iの目標回転数Ntを、特定した周波数との間でうなりが生じることを回避可能な回転数に設定し、設定した目標回転数Ntで冷却ファン77o,77r,77iを駆動する。
【選択図】図4
特許請求の範囲
【請求項1】
エンジンと、
冷却ファンと、
前記冷却ファンの回転数を制御するコントローラと、を備えた建設機械において、
前記コントローラは、前記エンジンの回転数により周波数が変化する周期的音源となる駆動機器の前記周波数を特定し、前記冷却ファンの回転数を、特定した前記周波数との間でうなりが生じることを回避可能な回転数に設定し、設定した前記回転数で前記冷却ファンを駆動する
ことを特徴とする建設機械。
続きを表示(約 1,600 文字)
【請求項2】
請求項1に記載の建設機械において、
前記コントローラは、
前記駆動機器が発生させる音の前記周波数を、前記エンジンの仕様と前記エンジンの回転数とを基にした演算もしくは前記エンジンの回転数と前記周波数との対応表に基づいて特定する
ことを特徴とする建設機械。
【請求項3】
請求項2に記載の建設機械において、
前記冷却ファンにより冷却される熱交換器と、
前記熱交換器を流れる流体の温度を検出する温度検出器と、をさらに備え、
前記コントローラは、
前記温度検出器により検出された前記流体の温度に基づいて前記冷却ファンの回転数を設定し、
設定した前記回転数が前記駆動機器との間でうなりが発生する回転数範囲内である場合に、前記うなりが発生する回転数範囲の第1最大値と第1最小値を回転数候補とし、
前記第1最大値または前記第1最小値の中から選択した回転数で前記冷却ファンを駆動する
ことを特徴とする建設機械。
【請求項4】
請求項3に記載の建設機械において、
前記コントローラは、
前記流体の温度が上昇している場合には前記回転数候補のうち前記第1最小値を選択し、
前記流体の温度が下降している場合には前記回転数候補のうち前記第1最大値を選択する
ことを特徴とする建設機械。
【請求項5】
請求項3に記載の建設機械において、
前記コントローラは、
前記第1最大値または前記第1最小値が、前記冷却ファンと異なる他の冷却ファンとの間でうなりが発生する回転数範囲内にある場合、
前記駆動機器との間で前記うなりが発生する回転数範囲と、前記他の冷却ファンとの間で前記うなりが発生する回転数範囲を合わせた範囲における第2最大値と第2最小値を前記回転数候補とし、
前記第2最大値または前記第2最小値の中から選択した回転数で前記冷却ファンを駆動する
ことを特徴とする建設機械。
【請求項6】
請求項5に記載の建設機械において、
前記コントローラは、
前記流体の温度が上昇している場合には前記回転数候補のうち前記第2最小値を選択し、
前記流体の温度が下降している場合には前記回転数候補のうち前記第2最大値を選択する
ことを特徴とする建設機械。
【請求項7】
請求項3乃至6のいずれか1項に記載の建設機械において、
前記コントローラは、
前記回転数候補が前記冷却ファンの設定可能な回転数範囲を外れる場合、該当する回転数候補を前記回転数候補から除外する
ことを特徴とする建設機械。
【請求項8】
請求項3乃至6のいずれか1項に記載の建設機械において、
前記コントローラは、
前記温度検出器により検出された前記流体の温度が予め定められた規定温度よりも高い場合、前記回転数候補のうち低い方を前記回転数候補から除外する
ことを特徴とする建設機械。
【請求項9】
請求項3乃至6のいずれか1項に記載の建設機械において、
前記コントローラは、
前記回転数候補が前記冷却ファンの設定可能な回転数範囲を外れる場合、該当する回転数候補を前記回転数候補から除外し、
前記温度検出器により検出された前記流体の温度が予め定められた規定温度よりも高い場合、前記回転数候補のうち低い方を前記回転数候補から除外し、
除外により前記回転数候補が存在しない場合、前記温度検出器により検出された前記流体の温度に基づいて設定した前記回転数に基づいて前記冷却ファンを駆動する
ことを特徴とする建設機械。
発明の詳細な説明
【技術分野】
【0001】
本発明は、熱交換器を冷却する冷却ファンを備えた建設機械に係り、特に、エンジンの回転数に関わらずに冷却ファンの回転数を設定可能な建設機械に関する。
続きを表示(約 1,800 文字)
【背景技術】
【0002】
一般に油圧ショベルなどの建設機械に使用され、熱交換器を冷却する冷却ファンには、エンジンクランク軸と連結され、エンジンクランク軸の回転に伴い回転されるものや、エンジンとは切り離され、油圧モータや電動モータによって独自に回転数を設定可能に駆動されるものがある。建設機械においては、後者の独自に回転数を設定可能に駆動される冷却ファンが、例えば複数の熱交換器の各々に対向するように搭載され、それぞれの冷却ファンの回転数が各熱交換器を流れる流体の温度に基づき制御される場合がある。この場合、二つの冷却ファンが近い回転数で回転すると、両者の振動が重ね合わされることにより「うなり」が発生する。
【0003】
すなわち、異なる周波数f1および周波数f2の二つの音源が存在するとき、その合成音波は増幅と減衰を周期的に繰り返す。このとき、同位相で重なった二つの波が次に同位相になるまでの時間がうなりの周期T0であり、1つの周期T0における波の個数の差|f1×T0-f2×T0|は1個であるため、うなりの周波数fはf=|f1-f2|で求められる。この周波数fが一定値(例えば7Hz)を下回ると人の耳にうなりが感じられるようになり、オペレータや周囲者に不快感を与える恐れがある。
【0004】
複数の冷却ファンによるうなりの発生を抑制するために、例えば特許文献1には、複数の冷却対象部位の全てについて目標回転数を確保すべき順序としての優先順位が予め設定され、コントローラは、最低回転数差未満の差を持つように設定された2つの目標回転数のうち、優先順位の低い冷却対象部位に対する低順位側目標回転数が優先順位の高い冷却対象部位に対する高順位側目標回転数から離れた回転数となるように低順位側目標回転数を補正する建設機械が記載されている。
【先行技術文献】
【特許文献】
【0005】
特許第6432219号公報
【発明の概要】
【発明が解決しようとする課題】
【0006】
しかしながら、油圧ショベルのような建設機械においては、冷却ファンの他にも、油圧ポンプの油圧脈動やエンジン爆発に起因する周期的音源が存在している。それら周期的音源の周波数は、エンジン回転数の変化に伴って増減し、エンジン回転数とは独立して増減させることはできない。このため、周期的音源同士の周波数は通常、うなりや共振の発生を防ぐため十分に離れた周波数となるよう設計される。一方で、冷却ファンと周期的音源との間においてもうなりを回避することが好ましいが、上記従来技術ではこれらの間のうなりについては考慮されていなかった。
【0007】
本発明は、上記事情に鑑みてなされたものであり、その目的は、冷却ファンと油圧ポンプの油圧脈動やエンジン爆発に起因する周期的音源との間のうなりを抑制することができる建設機械を提供することにある。
【課題を解決するための手段】
【0008】
上記目的を達成するために、本発明の建設機械は、エンジンと、冷却ファンと、前記冷却ファンの回転数を制御するコントローラと、を備えた建設機械において、前記コントローラは、前記エンジンの回転数により周波数が変化する周期的音源となる駆動機器の前記周波数を特定し、前記冷却ファンの回転数を、特定した前記周波数との間でうなりが生じることを回避可能な回転数に設定し、設定した前記回転数で前記冷却ファンを駆動することを特徴とする。
【発明の効果】
【0009】
本発明によれば、冷却ファンと油圧ポンプの油圧脈動やエンジン爆発に起因する周期的音源との間のうなりを抑制することができる。
【図面の簡単な説明】
【0010】
本実施形態の油圧ショベルの全体構造の一例を示す側面図である。
図1の油圧ショベルに備えられる旋回体上の機器配置形態の一例を示す、旋回体を上方から見た透視図である。
油圧ショベルの冷却ファンの制御に関わる構成の一例を示すブロック図である。
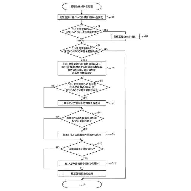
回転数候補決定処理の一例を示すフローチャートである。
補正回転数設定処理の一例を示すフローチャートである。
【発明を実施するための形態】
(【0011】以降は省略されています)
この特許をJ-PlatPat(特許庁公式サイト)で参照する
関連特許
日立建機株式会社
油圧機器
今日
日立建機株式会社
油圧機器
5日前
日立建機株式会社
作業機械
13日前
日立建機株式会社
作業機械
5日前
日立建機株式会社
建設機械
5日前
日立建機株式会社
作業車両
5日前
日立建機株式会社
作業機械
5日前
日立建機株式会社
作業機械
19日前
日立建機株式会社
作業機械
9日前
日立建機株式会社
作業機械
27日前
日立建機株式会社
建設機械
5日前
日立建機株式会社
作業機械
5日前
日立建機株式会社
建設機械
5日前
日立建機株式会社
作業機械
6日前
日立建機株式会社
作業機械
5日前
日立建機株式会社
建設機械
1日前
日立建機株式会社
建設機械
1日前
日立建機株式会社
建設機械
9日前
日立建機株式会社
作業車両
1日前
日立建機株式会社
作業車両
1日前
日立建機株式会社
作業機械
1日前
日立建機株式会社
作業機械
1日前
日立建機株式会社
作業機械
1日前
日立建機株式会社
作業機械
6日前
日立建機株式会社
動力伝達装置
5日前
日立建機株式会社
液冷式抵抗器
5日前
日立建機株式会社
油圧システム
9日前
日立建機株式会社
動力伝達装置
1日前
日立建機株式会社
電動建設機械
1日前
日立建機株式会社
電動式作業機械
5日前
日立建機株式会社
ダンプトラック
5日前
日立建機株式会社
水素供給システム
5日前
日立建機株式会社
分別回収システム
9日前
日立建機株式会社
物体検知システム
1日前
日立建機株式会社
減速機及び建設機械
5日前
日立建機株式会社
建設機械の作業装置
19日前
続きを見る
他の特許を見る