TOP
|
特許
|
意匠
|
商標
特許ウォッチ
Twitter
他の特許を見る
10個以上の画像は省略されています。
公開番号
2025146442
公報種別
公開特許公報(A)
公開日
2025-10-03
出願番号
2024047209
出願日
2024-03-22
発明の名称
計測装置及びダンプトラックの走行装置
出願人
日立建機株式会社
代理人
弁理士法人第一テクニカル国際特許事務所
主分類
G01G
19/08 20060101AFI20250926BHJP(測定;試験)
要約
【課題】ダンプトラックの荷重検出を正確に行うことができる計測装置、及び、ダンプトラックの走行装置を提供する。
【解決手段】車体2の上部に設けられた荷台5に被積載物を積載して走行するダンプトラック1に設けられる計測装置において、走行時に回転しないダンプトラック1の車体2の非回転部に設けられ、走行時に回転するダンプトラック1の回転部の所定の位置との距離Lを計測する光学センサ45と、光学センサ45の計測結果に基づき、ダンプトラック1の推定軸重Wを決定するプロセッサ210と、プロセッサ210により決定された推定軸重Wを表示する表示部240と、事前に測定されたダンプトラック1の軸重の実測値と、距離の実測値と、の相関を記憶した記憶装置215と、を有し、プロセッサ210は、走行時における光学センサ45の計測値に対し、記憶装置215に記憶された相関を適用して、対応する軸重Wを決定する。
【選択図】図3
特許請求の範囲
【請求項1】
車体の上部に設けられた荷台に被積載物を積載して走行するダンプトラックの走行装置に取り付けられる計測装置であって、
前記計測装置は、前記走行装置における走行時に回転しない非回転部に取り付けられ、発信した電磁波を用いて回転部の所定の位置との距離を計測する光学センサと、
前記光学センサの計測結果に基づき、前記ダンプトラックの推定軸重を決定する決定部と、
前記決定部により決定された前記推定軸重を表示する表示部と、
事前に測定された前記ダンプトラックの軸重の実測値と、前記距離の実測値と、の相関を記憶した記憶部と、を有し、
前記決定部は、走行時における前記光学センサの計測値に対し、前記記憶部に記憶された前記相関を適用して、対応する前記推定軸重を決定することを特徴とする計測装置。
続きを表示(約 1,400 文字)
【請求項2】
請求項1記載の計測装置において、
前記決定部は、
前記ダンプトラックの複数の車種それぞれに応じて設定された補正係数を用いて、前記推定軸重を決定する
ことを特徴とする計測装置。
【請求項3】
請求項1記載の計測装置において、
前記光学センサからの光の出射及び前記光学センサへの光の入射を可能とする透光口を備え、当該光学センサのうち少なくとも計測実行側を覆う防塵壁をさらに有する
ことを特徴とする計測装置。
【請求項4】
請求項3記載の計測装置において、
前記防塵壁の前記透光口に対して拭い動作を実行可能なワイピング機構をさらに有する
ことを特徴とする計測装置。
【請求項5】
車体の上部に設けられた荷台に被積載物を積載して走行するダンプトラックの走行装置において、
前記車体に設けられたモータと、
前記車体に対し回転可能に支持され、走行時に前記モータの回転駆動力により回転する、タイヤを含む回転部と、
走行時に回転しない前記車体の非回転部に取り付けられ、前記回転部の変形部位までの距離を発信した電磁波を用いて計測する光学センサと、
前記光学センサの計測結果に基づき、前記ダンプトラックの推定軸重を決定する決定部と、
前記決定部により決定された前記推定軸重を表示する表示部と
を有することを特徴とするダンプトラックの走行装置。
【請求項6】
請求項5記載のダンプトラックの走行装置において、
前記回転部は、略水平方向の回転軸心を備えており、
前記光学センサは、
前記非回転部における当該光学センサから前記回転部の前記変形部位までの、略水平方向における距離を計測する
ことを特徴とするダンプトラックの走行装置。
【請求項7】
請求項5記載のダンプトラックの走行装置において、
前記回転部は、さらに、
前記タイヤが装着されるホイールを有し、
前記非回転部は、さらに、
前記ホイールの内周側に挿入され、一端側に前記モータが配置されたスピンドルと、
前記スピンドルの外周側に設けられ、略円環形状を備えた防塵部材と、
を有し、
前記回転部は、さらに、
前記モータの出力軸に結合されるとともに前記スピンドルの内周側に挿通され、前記スピンドルの他端から突出するシャフトと、
前記スピンドルの前記他端側において前記シャフトと前記ホイールとの間に配置され、前記シャフトから前記ホイールへ動力を伝達する減速機と、
を有し、
前記光学センサは、前記防塵部材に設けられている
ことを特徴とするダンプトラックの走行装置。
【請求項8】
請求項7記載のダンプトラックの走行装置において、
前記防塵部材は、
前記略円環形状の所定部位において周方向に複数個に分割可能に構成されている
ことを特徴とするダンプトラックの走行装置。
【請求項9】
請求項7記載のダンプトラックの走行装置において、
前記光学センサは、
当該光学センサから前記ホイールの端面までの距離を計測する
ことを特徴とするダンプトラックの走行装置。
発明の詳細な説明
【技術分野】
【0001】
本発明は、被積載物を積載して走行するダンプトラックに設けられる計測装置、及び、そのダンプトラックの走行装置に関する。
続きを表示(約 1,800 文字)
【背景技術】
【0002】
特許文献1は、車両の車軸に取り付けるための荷重センサ配置において、車軸にかかる荷重を測定するための荷重センサと、センサ保持部、及び、車軸への配置用の取付部、を備えたセンサホルダと、を有し、荷重センサが、磁気センサまたは光センサであり、センサ保持部が、荷重センサを車軸上の方向測定用の位置へ保持する構成を開示している。
【先行技術文献】
【特許文献】
【0003】
欧州特許第3648996号
【発明の概要】
【発明が解決しようとする課題】
【0004】
しかしながら、例えばダンプトラックは、風雨の中、ぬかるんだ路面を走行する場合等があり、そのような場合、車軸を含む走行装置は、土砂、岩、砂塵、雨水等の各種障害物に晒される。そのため、特許文献1のように車軸に荷重センサを設ける構成では、上記障害物の接触により荷重センサが損傷し、正確な荷重検出を行えない恐れがある。
【0005】
本発明は、上記事情に鑑みてなされたものであり、その目的は、ダンプトラックの荷重検出を正確に行うことができる計測装置、及び、ダンプトラックの走行装置を提供することにある。
【課題を解決するための手段】
【0006】
上記目的を達成するために、本発明は、車体の上部に設けられた荷台に被積載物を積載して走行するダンプトラックに設けられる計測装置において、走行時に回転しない非回転部に取り付けられ、発信した電磁波を用いて回転部の所定の位置との距離を計測する光学センサと、前記光学センサの計測結果に基づき、前記ダンプトラックの推定軸重を決定する決定部と、前記決定部により決定された前記推定軸重を表示する表示部と、事前に測定された前記ダンプトラックの軸重の実測値と、前記距離の実測値と、の相関を記憶した記憶部と、を有し、前記決定部は、走行時における前記光学センサの計測値に対し、前記記憶部に記憶された前記相関を適用して、対応する前記推定軸重を決定することを特徴とする。
【発明の効果】
【0007】
本発明によれば、ダンプトラックの荷重検出を正確に行うことができる。
【図面の簡単な説明】
【0008】
本実施形態の一実施形態におけるダンプトラックの概略構造を表す側面図である。
図1に示すダンプトラックの後面図である。
左側走行装置の詳細構造を表す断面図である。
図3中B部の拡大図である。
図3及び図4中のA-A断面による矢視図である。
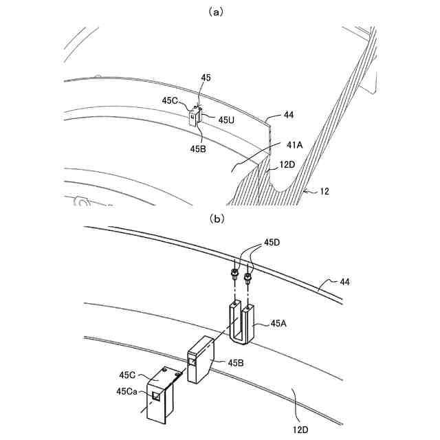
光学計測装置付近の詳細構造を表す部分破断斜視図、及び、光学計測装置の分解斜視図である。
軸重検出の原理を説明するためのリム及びホイール付近の変形挙動を表す説明図である。
ダンプトラックの車種ごとの、荷台上に積載する被積載物の重量と積載前後の距離の偏差との間の相関関係を表すグラフである。
ダンプトラックが備える電気的構成を表す機能ブロック図である。
光学計測装置がワイピング機能を備える変形例における、光学計測装置付近の詳細構造を表す部分破断斜視図、及び、光学計測装置の分解斜視図である。
光学計測装置が組付けられた状態を表す側断面図である。
【発明を実施するための形態】
【0009】
以下、本実施形態の一実施形態を、図面を参照しつつ説明する。
【0010】
<ダンプトラックの概略構造>
本実施形態によるダンプトラックの概略構造を表す側面図を図1に示し、当該ダンプトラックの後面図を図2に示す。図1及び図2において、ダンプトラック1は、頑丈なフレーム構造をなす車体2を有している。車体2の前部側には左・右の前輪3が回転可能に設けられ、車体2の後部側には左後輪4L及び右後輪4R(以下適宜、単に「後輪4」と総称する)が回転可能に設けられている。左前輪3L及び右前輪3R(以下適宜、単に「前輪3」と総称する)は、ダンプトラック1の運転者によってステアリング操作される操舵輪を構成している。車体2と左・右の前輪3との間には、油圧緩衝器等からなる前輪側サスペンション3Aが設けられている。
(【0011】以降は省略されています)
この特許をJ-PlatPat(特許庁公式サイト)で参照する
関連特許
日立建機株式会社
建設機械
2日前
日立建機株式会社
建設機械
2日前
日立建機株式会社
建設機械
2か月前
日立建機株式会社
作業機械
2か月前
日立建機株式会社
建設機械
1か月前
日立建機株式会社
作業機械
1か月前
日立建機株式会社
作業機械
1か月前
日立建機株式会社
作業機械
24日前
日立建機株式会社
作業機械
16日前
日立建機株式会社
作業機械
10日前
日立建機株式会社
油圧機器
2日前
日立建機株式会社
建設機械
6日前
日立建機株式会社
作業機械
6日前
日立建機株式会社
作業機械
3日前
日立建機株式会社
作業機械
3日前
日立建機株式会社
建設機械
2か月前
日立建機株式会社
作業車両
2日前
日立建機株式会社
作業機械
2日前
日立建機株式会社
作業機械
2日前
日立建機株式会社
作業機械
2日前
日立建機株式会社
作業機械
2日前
日立建機株式会社
建設機械
2日前
日立建機株式会社
液冷式抵抗器
2日前
日立建機株式会社
情報処理装置
2か月前
日立建機株式会社
油圧システム
6日前
日立建機株式会社
動力伝達装置
2日前
日立建機株式会社
電動式作業機械
2日前
日立建機株式会社
電動式建設機械
2か月前
日立建機株式会社
電動式作業機械
2か月前
日立建機株式会社
ダンプトラック
2日前
日立建機株式会社
部品需要予測装置
1か月前
日立建機株式会社
充電支援システム
1か月前
日立建機株式会社
水素供給システム
2日前
日立建機株式会社
分別回収システム
6日前
日立建機株式会社
スプライン連結装置
6日前
日立建機株式会社
減速機及び建設機械
2日前
続きを見る
他の特許を見る