TOP
|
特許
|
意匠
|
商標
特許ウォッチ
Twitter
他の特許を見る
公開番号
2025057968
公報種別
公開特許公報(A)
公開日
2025-04-09
出願番号
2023167833
出願日
2023-09-28
発明の名称
診断装置、診断方法、診断モデル及びプログラム
出願人
公立大学法人横浜市立大学
,
国立大学法人横浜国立大学
,
フクダ電子株式会社
代理人
弁理士法人大塚国際特許事務所
主分類
A61B
5/346 20210101AFI20250402BHJP(医学または獣医学;衛生学)
要約
【課題】誘導の種類が特定されていない心電図画像からでも心筋梗塞の発生部位を推定可能にする。
【解決手段】被検者が心筋梗塞を有するかどうかを診断するための診断装置は、被検者の複数の心電図画像を診断モデルに入力することによって、被検者が心筋梗塞を有するかどうかを診断する診断部を含む。診断モデルは、複数の心電図画像のそれぞれを複数のパッチに変換する入力層と、入力層によって変換された複数のパッチをクラストークン及び複数のセグメントトークンに符号化するエンコーダと、エンコーダによって符号化された複数のセグメントトークンに基づいて1つのセグメントトークンを生成するプーリング層と、エンコーダによって符号化されたクラストークンと、プーリング層によって生成された1つのセグメントトークンとに基づいて、被検者が心筋梗塞を有するかどうかの診断結果を出力する出力層と、を含む。
【選択図】図3
特許請求の範囲
【請求項1】
被検者が心筋梗塞を有するかどうかを診断するための診断装置であって、
前記被検者の複数の心電図画像を診断モデルに入力することによって、前記被検者が心筋梗塞を有するかどうかを診断する診断手段を備え、
前記診断モデルは、
前記複数の心電図画像のそれぞれを複数のパッチに変換する入力層と、
前記入力層によって変換された前記複数のパッチをクラストークン及び複数のセグメントトークンに符号化するエンコーダと、
前記エンコーダによって符号化された前記複数のセグメントトークンに基づいて1つのセグメントトークンを生成するプーリング層と、
前記エンコーダによって符号化された前記クラストークンと、前記プーリング層によって生成された前記1つのセグメントトークンとに基づいて、前記被検者が心筋梗塞を有するかどうかの診断結果を出力する出力層と、を含む、診断装置。
続きを表示(約 1,000 文字)
【請求項2】
前記プーリング層は、前記複数のセグメントトークンを平均することによって前記1つのセグメントトークンを生成する、請求項1に記載の診断装置。
【請求項3】
前記複数のパッチは、互いに重複する部分を含む、請求項1に記載の診断装置。
【請求項4】
前記診断手段は、特定の部位において心筋梗塞が発生しているかどうかを診断する、請求項1に記載の診断装置。
【請求項5】
コンピュータを、請求項1乃至4のいずれか1項に記載の診断装置が有する各手段として機能させるためのプログラム。
【請求項6】
被検者が心筋梗塞を有するかどうかを診断するための診断方法であって、
診断手段が、前記被検者の複数の心電図画像を診断モデルに入力することによって、前記被検者が心筋梗塞を有するかどうかを診断する診断工程を備え、
前記診断モデルは、
前記複数の心電図画像のそれぞれを複数のパッチに変換する入力層と、
前記入力層によって変換された前記複数のパッチを、クラストークン及び複数のセグメントトークンに符号化するエンコーダと、
前記エンコーダによって符号化された前記複数のセグメントトークンに基づいて1つのセグメントトークンを生成するプーリング層と、
前記エンコーダによって符号化された前記クラストークンと、前記プーリング層によって生成された前記1つのセグメントトークンとに基づいて、前記被検者が心筋梗塞を有するかどうかの診断結果を出力する出力層と、を含む、診断方法。
【請求項7】
被検者が心筋梗塞を有するかどうかを診断するための診断モデルであって、
複数の心電図画像のそれぞれを複数のパッチに変換する入力層と、
前記入力層によって変換された前記複数のパッチを、クラストークン及び複数のセグメントトークンに符号化するエンコーダと、
前記エンコーダによって符号化された前記複数のセグメントトークンに基づいて1つのセグメントトークンを生成するプーリング層と、
前記エンコーダによって符号化された前記クラストークンと、前記プーリング層によって生成された前記1つのセグメントトークンとに基づいて、前記被検者が心筋梗塞を有するかどうかの診断結果を出力する出力層と、を含む、診断モデル。
発明の詳細な説明
【技術分野】
【0001】
本発明は、診断装置、診断方法、診断モデル及びプログラムに関する。
続きを表示(約 2,000 文字)
【背景技術】
【0002】
近年、AI技術の実用化が急速に進み、心電図波形を時系列データまたは画像として取扱い、機械学習や深層学習のモデルを用いて自動解析する手法が提案されている。特許文献1には、心電図における複数種の波形情報と誘導間の関係を効率的に深層学習させることを可能とする心電図解析用データの生成手法が提案されている。特許文献2には、波形画像領域及びリズム画像領域を有する2次元画像を表すデータを心電図解析用データとして生成する手法が提案されている。
【先行技術文献】
【特許文献】
【0003】
特開2020-130772号公報
特開2022-054202号公報
【発明の概要】
【発明が解決しようとする課題】
【0004】
既存の手法では、入力データとして使用される心電図画像の各波形が誘導の種類が特定されている。しかし、心筋梗塞の診断に使用される心電図画像のすべてに誘導の種類が特定されているとは限らない。本発明の一部の側面は、誘導の種類が特定されていない心電図画像からでも心筋梗塞の発生部位を推定可能にするための技術を提供することを目的とする。
【課題を解決するための手段】
【0005】
一部の実施形態によれば、被検者が心筋梗塞を有するかどうかを診断するための診断装置であって、前記被検者の複数の心電図画像を診断モデルに入力することによって、前記被検者が心筋梗塞を有するかどうかを診断する診断手段を備え、前記診断モデルは、前記複数の心電図画像のそれぞれを複数のパッチに変換する入力層と、前記入力層によって変換された前記複数のパッチをクラストークン及び複数のセグメントトークンに符号化するエンコーダと、前記エンコーダによって符号化された前記複数のセグメントトークンに基づいて1つのセグメントトークンを生成するプーリング層と、前記エンコーダによって符号化された前記クラストークンと、前記プーリング層によって生成された前記1つのセグメントトークンとに基づいて、前記被検者が心筋梗塞を有するかどうかの診断結果を出力する出力層と、を含む、診断装置が提供される。
【発明の効果】
【0006】
一部の実施形態によれば、誘導の種類が特定されていない心電図画像からでも心筋梗塞の発生部位を推定可能になる。
【図面の簡単な説明】
【0007】
一部の実施形態に係る診断装置のハードウェア構成例を説明するブロック図。
一部の実施形態に係る診断装置の動作例を説明するフロー図。
一部の実施形態に係る誘導推定モデル例を説明する模式図。
一部の実施形態に係るパッチの生成方法例を説明する模式図。
【発明を実施するための形態】
【0008】
以下、添付図面を参照して実施形態を詳しく説明する。なお、以下の実施形態は特許請求の範囲に係る発明を限定するものでなく、また実施形態で説明されている特徴の組み合わせの全てが発明に必須のものとは限らない。実施形態で説明されている複数の特徴のうち二つ以上の特徴が任意に組み合わされてもよい。また、同一若しくは同様の構成には同一の参照番号を付し、重複した説明は省略する。
【0009】
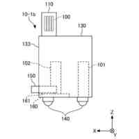
図1を参照して、一部の実施形態に係る診断装置100の構成について説明する。後述するように、診断装置100は、被検者の心電図画像に基づいて、被検者が心筋梗塞を有するかどうかを診断する機能を有してもよい。さらに、診断装置100は、被検者が心臓のどの部位に心筋梗塞を有するかを診断する機能を有してもよい。心電図画像とは、心電計によって計測された波形を表す画像のことであってもよい。
【0010】
診断装置100は、図1に示す構成要素を備えてもよい。プロセッサ101は、診断装置100の全体的な動作を制御する装置である。プロセッサ101は、例えばCPU(中央処理装置)として機能する。メモリ102は、診断装置100の動作に必要なプログラム及び一時データを記憶する装置である。メモリ102は、例えばRAM(ランダムアクセスメモリ)やROM(リードオンリメモリ)によって構成される。診断装置100の動作は、例えばメモリ102に格納されたプログラムをプロセッサ101が実行することによって行われてもよい。これにかえて、診断装置100の動作の一部又は全部は、ASIC(特定用途向け集積回路)やFPGA(フィールドプログラマブルゲートアレイ)のような専用回路によって実行されてもよい。さらに、プロセッサ101は、GPU(グラフィカルプロセッシングユニット)を含んでもよい。
(【0011】以降は省略されています)
この特許をJ-PlatPat(特許庁公式サイト)で参照する
関連特許
公立大学法人横浜市立大学
リピート伸長病の検出方法
6か月前
公立大学法人横浜市立大学
プログラム及び情報処理装置
3か月前
公立大学法人横浜市立大学
交流磁場発生装置、及びがん治療装置
1か月前
公立大学法人横浜市立大学
がん治療装置、及びがん治療システム
1か月前
公立大学法人横浜市立大学
がん治療装置、及びがん治療システム
1か月前
公立大学法人横浜市立大学
データ収集システムおよびプログラム
2か月前
公立大学法人横浜市立大学
胚の母体着床能を判定する方法及び判定試薬
5か月前
公立大学法人横浜市立大学
肝細胞の可塑性誘導法
4か月前
公立大学法人横浜市立大学
間質性肺炎症急性増悪患者における肺線維化進行のリスクを予測するためのバイオマーカー
5か月前
公立大学法人横浜市立大学
がん治療装置、がん治療システム、がん治療装置の作動方法、及びがん治療装置による磁束密度の推定方法
1か月前
日鉄ケミカル&マテリアル株式会社
イムノクロマトストリップ、イムノクロマトキット、検出方法及び展開液
1か月前
シスメックス株式会社
モノクローナル抗体、Crtac1B測定用試薬、試薬キット及びCrtac1Bの測定方法
1か月前
個人
貼付剤
20日前
個人
簡易担架
2日前
個人
短下肢装具
3か月前
個人
腋臭防止剤
2日前
個人
足踏み器具
9日前
個人
嚥下鍛錬装置
4か月前
個人
前腕誘導装置
4か月前
個人
排尿補助器具
1か月前
個人
腰ベルト
23日前
個人
歯の修復用材料
4か月前
個人
胸骨圧迫補助具
2か月前
個人
ウォート指圧法
1か月前
個人
矯正椅子
5か月前
個人
バッグ式オムツ
5か月前
個人
アイマスク装置
2か月前
個人
汚れ防止シート
1か月前
個人
ホバーアイロン
7か月前
個人
シャンプー
6か月前
個人
哺乳瓶冷まし容器
3か月前
個人
陣痛緩和具
4か月前
個人
美容セット
11日前
個人
歯の保護用シール
5か月前
個人
排尿排便補助器具
4日前
個人
湿布連続貼り機。
3か月前
続きを見る
他の特許を見る