TOP
|
特許
|
意匠
|
商標
特許ウォッチ
Twitter
他の特許を見る
公開番号
2025034578
公報種別
公開特許公報(A)
公開日
2025-03-13
出願番号
2023141053
出願日
2023-08-31
発明の名称
切片作成装置および切片作成方法
出願人
国立大学法人 東京大学
,
株式会社シンテック
代理人
個人
,
個人
,
個人
主分類
G01N
1/06 20060101AFI20250306BHJP(測定;試験)
要約
【課題】良質な厚い切片を安定的に作成する。
【解決手段】切片作成装置1は、試料を切削して切片を作成する刃3と、切片を浮かべる液体Eを貯留する液体貯留部2と、蒸気Dを発生させる蒸気発生手段5とを備える。蒸気発生手段5は、刃3の近傍に配置されたヒータ5aを備え、ヒータ5aは、刃3の近傍において液体Eを加熱する。
【選択図】図3
特許請求の範囲
【請求項1】
試料を切削して切片を作成する刃と、
前記切片を浮かべる液体を貯留する液体貯留部と、
蒸気を発生させる蒸気発生手段と、を備え、
該蒸気発生手段が、前記刃の近傍に配置されたヒータを備え、該ヒータが、前記刃の近傍において前記液体を加熱する、切片作成装置。
続きを表示(約 450 文字)
【請求項2】
前記刃から離れるにつれて温度が低下する温度勾配を前記液体に形成する温度勾配形成手段を備える、請求項1に記載の切片作成装置。
【請求項3】
前記液体貯留部が、前記刃の近傍の領域に設けられた浅部と、前記刃から離れた領域に設けられ前記浅部よりも深い深部とを有し、
前記温度勾配形成手段が、前記浅部および前記深部からなる、請求項2に記載の切片作成装置。
【請求項4】
前記液体貯留部が、高熱伝導性の材料から形成され、前記液体の熱を外部に放出する放熱性を有し、
前記温度勾配形成手段が、前記液体貯留部からなる、請求項2に記載の切片作成装置。
【請求項5】
前記温度勾配形成手段が、前記刃から離れた位置において前記液体を冷却する冷却手段からなる、請求項2に記載の切片作成装置。
【請求項6】
刃の近傍に蒸気を発生させる工程と、
前記蒸気中で前記刃によって試料を切削して切片を作成する工程と、を含む切片作成方法。
発明の詳細な説明
【技術分野】
【0001】
本発明は、切片作成装置および切片作成方法に関するものである。
続きを表示(約 1,900 文字)
【背景技術】
【0002】
従来、透過型電子顕微鏡(TEM)用の超薄切片よりも厚い切片を作成する技術が提案されている(例えば、非特許文献1および2参照。)。厚い切片は、関心領域、例えばTEMによって観察すべき領域の、試料内での3次元位置を特定するのに有用である。
【0003】
切片は、試料が包埋された樹脂ブロックをダイヤモンドナイフで切削することによって作成される。切片が厚い程、切削時にダイヤモンドナイフに加わる力は大きくなるので、厚い切片を超薄切片と同じ方法で作成することは難しい。非特許文献1および2では、2μm~10μmの厚さの切片の作成を可能にするために、ヒータおよび赤外光をダイヤモンドナイフと組み合わせ、ヒータによってダイヤモンドナイフの刃を加熱し、赤外光によって樹脂ブロック自体を加熱している。
【先行技術文献】
【非特許文献】
【0004】
Georg Kislinger、他5名、“Multiscale ATUM-FIB Microscopy Enables Targeted UltrastructuralAnalysis at Isotropic Resolution”、iScience、2020年7月24日、Volume 23、Issue 7
Georg Kislinger、他5名、“ATUM-FIB microscopy fortargeting and multiscale imaging of rare events in mouse cortex”、STAR Protocols、2020年12月16日、Volume 1、Issue 3
【発明の概要】
【発明が解決しようとする課題】
【0005】
平坦で良質な厚い切片を作成するためには、樹脂ブロックに適度な硬さが必要である。非特許文献1および2において、赤外光によって樹脂ブロック全体を加熱している。さらに、ダイヤモンドナイフの後部に配置されたヒータによってダイヤモンドナイフのボート内の水の全体を加熱し、それによりダイヤモンドナイフの前端に配置された刃を加熱しているため、多量の水蒸気が発生して樹脂ブロック全体または広範囲が含水する。そのため、樹脂ブロック全体が柔らかくなり、チャタリングと呼ばれる皺が切片に生じ易くなる等、平坦で良質な厚い切片を安定的に作成することが難しい。
【0006】
本発明は、上述した事情に鑑みてなされたものであって、良質な厚い切片を安定的に作成することができる切片作成装置および切片作成方法を提供することを目的とする。
【課題を解決するための手段】
【0007】
本発明の一態様は、試料を切削して切片を作成する刃と、前記切片を浮かべる液体を貯留する液体貯留部と、蒸気を発生させる蒸気発生手段と、を備え、該蒸気発生手段が、前記刃の近傍に配置されたヒータを備え、該ヒータが、前記刃の近傍において前記液体を加熱する、切片作成装置である。
本発明の他の態様は、刃の近傍に蒸気を発生させる工程と、前記蒸気中で前記刃によって試料を切削して切片を作成する工程と、を含む切片作成方法である。
【発明の効果】
【0008】
本発明によれば、良質な厚い切片を安定的に作成することができるという効果を奏する。
【図面の簡単な説明】
【0009】
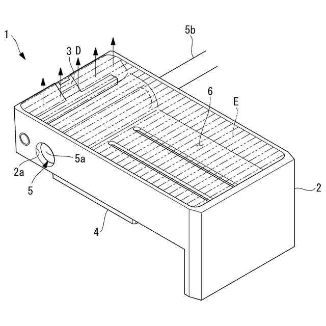
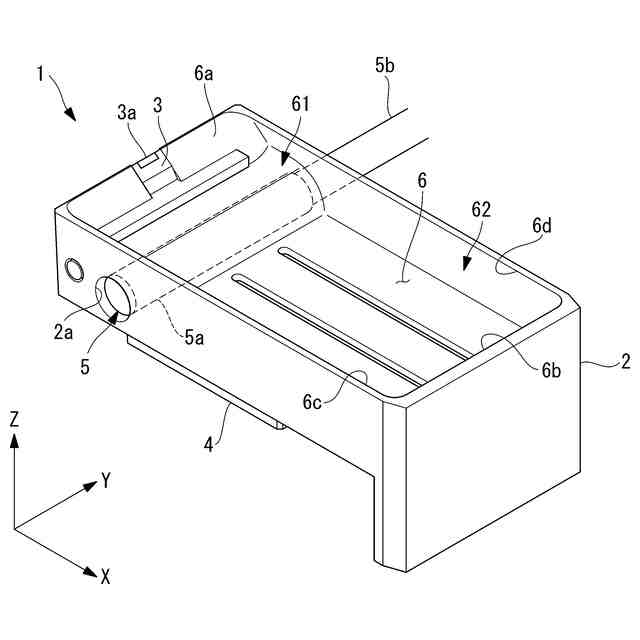
一実施形態に係る切片作成装置の斜視図である。
図1の切片作成装置の(a)平面図、(b)正面図および(c)側面図である。
図1の切片作成装置のボートに液体が貯留された状態を示す図である。
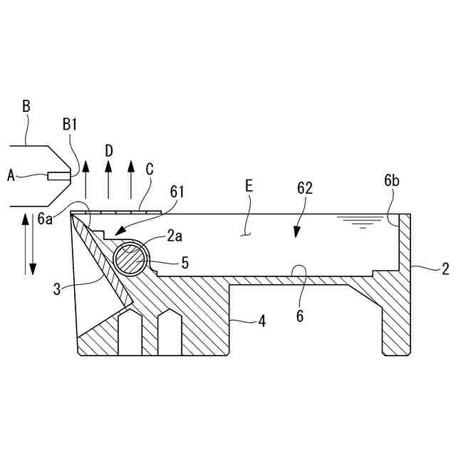
図2のI-I線における切片作成装置の縦断面図であり、切片作成装置の使用状態を説明する図である。
一実施形態に係る切片作成方法のフローチャートである。
図1の切片作成装置の変形例の側面図である。
【発明を実施するための形態】
【0010】
本発明の一実施形態に係る切片作成装置および切片作成方法について、図面を参照しながら以下に説明する。
本実施形態に係る切片作成装置1は、公知のミクロトームまたはウルトラミクロトームに搭載して使用され、試料Aを含む樹脂のブロックBを切削して切片Cを作成するものである(図4参照。)。切片作成装置1は、ナイフとも呼ばれ、後述するようにダイヤモンド製の刃3を有する場合にはダイヤモンドナイフとも呼ばれる。
(【0011】以降は省略されています)
この特許をJ-PlatPat(特許庁公式サイト)で参照する
関連特許
国立大学法人 東京大学
プロペラ
5か月前
国立大学法人 東京大学
ガス処理方法
2日前
国立大学法人 東京大学
担持金属触媒
16日前
国立大学法人 東京大学
せん妄判定方法
1か月前
国立大学法人東京農工大学
タンクモジュール
6か月前
国立大学法人 東京大学
化学センサ用基材
4か月前
国立大学法人 東京大学
コンパレータ回路
6日前
国立大学法人 東京大学
てんかんの検出方法
6か月前
国立大学法人 東京大学
ソフトエクソスーツ
4か月前
国立大学法人 東京大学
微粒子分離システム
4か月前
国立大学法人 東京大学
超音波モータシステム
1か月前
国立大学法人 東京大学
超音波モータシステム
1か月前
国立大学法人 東京大学
振動変換器及び噴霧器
4か月前
国立大学法人 東京大学
光学装置及びレーザー
2か月前
国立大学法人 東京大学
超音波モータシステム
1か月前
国立大学法人 東京大学
結晶、及びその製造方法
1か月前
国立大学法人 東京大学
粘性の測定装置及び方法
6か月前
AGC株式会社
組成物
3か月前
国立大学法人 東京大学
テラヘルツ帯同期検波回路
1か月前
国立大学法人 東京大学
制御装置、および制御方法
6か月前
国立大学法人 東京大学
生分解性ポリマー複合材料
5か月前
国立大学法人 東京大学
推定装置、及びプログラム
17日前
国立大学法人 東京大学
接着性細胞の浮遊培養用基材
2日前
NTT株式会社
圧力センサ
17日前
国立大学法人 東京大学
嗅覚受容体の応答感度増強剤
2か月前
国立大学法人 東京大学
読出回路及び磁気メモリ装置
16日前
国立大学法人 東京大学
テラヘルツ波帯位相変調回路
1か月前
国立大学法人 東京大学
消化管幹細胞活性化用組成物
5か月前
住友化学株式会社
原子力電池
3か月前
国立大学法人 東京大学
情報処理装置、及びプログラム
1か月前
国立大学法人 東京大学
ドローンを用いた配送システム
2日前
国立大学法人 東京大学
炭酸カルシウム結晶の製造方法
5か月前
国立大学法人 東京大学
血糖制御能力の推定方法及び装置
6か月前
国立大学法人 東京大学
搬送トレイおよびワーク作業装置
6か月前
国立大学法人 東京大学
光デバイス及びコヒーレント受信器
1か月前
積水化学工業株式会社
酸素発生剤
27日前
続きを見る
他の特許を見る