TOP
|
特許
|
意匠
|
商標
特許ウォッチ
Twitter
他の特許を見る
10個以上の画像は省略されています。
公開番号
2025033891
公報種別
公開特許公報(A)
公開日
2025-03-13
出願番号
2023139911
出願日
2023-08-30
発明の名称
加熱装置、定着装置、画像形成装置
出願人
株式会社リコー
代理人
個人
,
個人
,
個人
主分類
G03G
15/20 20060101AFI20250306BHJP(写真;映画;光波以外の波を使用する類似技術;電子写真;ホログラフイ)
要約
【課題】本発明では、除電部材の性能低下を抑制することを課題とする。
【解決手段】回転する定着ベルト20と、主発熱領域Dを有し、定着ベルト20を加熱するヒータ22と、その表面が導電性を有し、定着ベルト20を加圧する加圧ローラ21と、加圧ローラ21に接触する除電ブラシ37と、定着ベルト20に接触する分離板40と、を備えた定着装置9であって、除電ブラシ37は、定着ベルト20の長手方向において、主発熱領域Dよりも外側の接触領域Eで加圧ローラ21に接触し、長手方向の接触領域Eに対応する位置において、分離板40が定着ベルト20に接触することを特徴とする。
【選択図】図7
特許請求の範囲
【請求項1】
回転部材と、
主発熱領域を有し、前記回転部材を加熱する加熱体と、
その表面が導電性を有し、前記回転部材を加圧する加圧部材と、
前記加圧部材に接触する除電部材と、
前記回転部材に接触する接触部材と、を備えた加熱装置であって、
前記除電部材は、前記回転部材の長手方向において、前記主発熱領域よりも外側の接触領域で前記加圧部材に接触し、
前記長手方向の前記接触領域に対応する位置において、前記接触部材が前記回転部材に接触することを特徴とする加熱装置。
続きを表示(約 1,200 文字)
【請求項2】
前記除電部材は、前記長手方向の加熱装置が対応する最大幅の記録媒体の通過領域よりも外側で前記加圧部材に接触する請求項1記載の加熱装置。
【請求項3】
前記接触部材は、前記回転部材よりも記録媒体搬送方向の下流側に設けられ、前記記録媒体を前記回転部材から分離する分離部材であり、
前記接触部材は接触部と分離部とを有し、
前記接触部が前記回転部材に接触することにより、前記分離部と前記回転部材との間に所定の隙間を設ける請求項1記載の加熱装置。
【請求項4】
前記接触部材は、前記回転部材に接触する接触幅が、前記回転部材の回転方向の上流側から下流側へ向けて大きくなる請求項1記載の加熱装置。
【請求項5】
前記接触部材は、前記回転部材に接触する接触部が、前記回転部材の回転方向に対して前記回転部材のいずれかの方向へ傾斜している請求項1記載の加熱装置。
【請求項6】
その表面が導電性を有する回転部材と、
前記回転部材を加熱する加熱体と、
前記回転部材を加圧する加圧部材と、
前記回転部材に接触する除電部材と、
前記回転部材に接触する接触部を有する分離部材と、を備えた加熱装置であって、
前記回転部材の長手方向の前記除電部材が前記回転部材に接触する領域を接触領域とすると、前記接触領域に対応する位置において、前記接触部が前記回転部材に接触することを特徴とする加熱装置。
【請求項7】
前記加熱体は主発熱領域を有し、
前記分離部材は、前記回転部材の長手方向両側に設けられた前記接触部が前記回転部材に接触するとともに、両側の前記接触部の間で前記回転部材と隙間を空けて対向し、
前記除電部材は、前記長手方向の前記主発熱領域よりも外側で前記回転部材に接触する請求項6記載の加熱装置。
【請求項8】
回転部材と、
主発熱領域を有し、前記回転部材を加熱する加熱体と、
その表面が導電性を有し、前記回転部材を加圧する加圧部材と、
前記加圧部材に接触する除電部材と、
前記加圧部材に接触する接触部を有する分離部材と、を備えた加熱装置であって、
前記分離部材は、前記回転部材の長手方向両側に設けられた前記接触部が前記加圧部材に接触するとともに、両側の前記接触部の間で前記加圧部材と隙間を空けて対向し、
前記除電部材は、前記回転部材の長手方向において、前記主発熱領域よりも外側の接触領域で前記加圧部材に接触し、
前記長手方向の前記接触領域に対応する位置において、前記接触部が前記加圧部材に接触することを特徴とする加熱装置。
【請求項9】
請求項1から8いずれか1項に記載の加熱装置を有し、熱により画像を定着させる定着装置。
【請求項10】
請求項9記載の定着装置を備えた画像形成装置。
(【請求項11】以降は省略されています)
発明の詳細な説明
【技術分野】
【0001】
本発明は、加熱装置、定着装置および画像形成装置に関する。
続きを表示(約 2,300 文字)
【背景技術】
【0002】
加熱装置の一例として、複写機又はプリンタなどの画像形成装置に搭載される定着装置では、定着部材としての定着ベルトと、加圧部材としての加圧ローラとの間の定着ニップに用紙などの記録媒体を搬送して、記録媒体を加圧および加熱し、記録媒体上の未定着画像を記録媒体に定着させる。
【0003】
このような定着装置では、トナー像を担持した記録媒体に連続して定着動作が行われることにより、加圧ローラがトナーとは反対側の極性に帯電し、オフセット現象などの不具合が生じるという問題がある。
【0004】
これに対して、例えば特許文献1(特開2010-128298号公報)では、加圧ローラに対して非接触の除電部材を配置し、加圧ローラを除電している。
【発明の概要】
【発明が解決しようとする課題】
【0005】
特許文献1のように、非接触式の除電部材を設けると、加圧部材との適切な距離を保つための機構が必要になる等、定着装置のコストアップにつながってしまう。また接触式の除電部材の場合、加圧部材との接触によって加圧部材表面に付着した潤滑剤や不純物が除電部材に付着し、除電部材の除電機能を低下させるという問題がある。
【0006】
このような事情から、本発明では、除電部材の性能低下を抑制することを課題とする。
【課題を解決するための手段】
【0007】
上記の課題を解決するため、本発明は、回転部材と、主発熱領域を有し、前記回転部材を加熱する加熱体と、その表面が導電性を有し、前記回転部材を加圧する加圧部材と、前記加圧部材に接触する除電部材と、前記回転部材に接触する接触部材と、を備えた加熱装置であって、前記除電部材は、前記回転部材の長手方向において、前記主発熱領域よりも外側の接触領域で前記加圧部材に接触し、前記長手方向の前記接触領域に対応する位置において、前記接触部材が前記回転部材に接触することを特徴とする。
【発明の効果】
【0008】
本発明によれば、除電部材の性能低下を抑制できる。
【図面の簡単な説明】
【0009】
画像形成装置の概略構成図である。
本発明の一実施形態に係る定着装置の概略構成を示す側面断面図である。
ヒータの平面図である。
図3と抵抗発熱体の形状が異なるヒータの平面図である。
図3、図4と抵抗発熱体の形状が異なるヒータの平面図である。
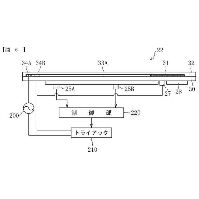
ヒータへの電力供給を示す図である。
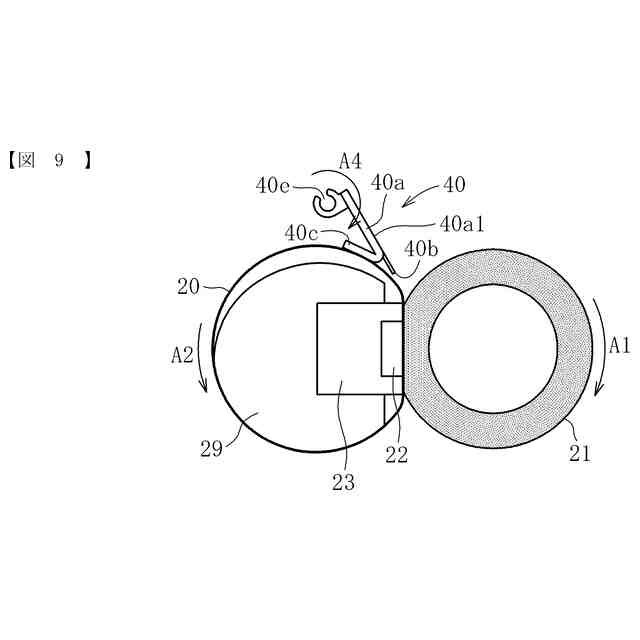
除電ブラシとヒータの長手方向の位置関係を示す図である。
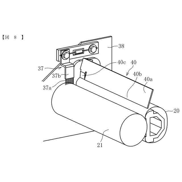
除電ブラシおよびその周辺構成を示す斜視図である。
分離板を示す定着装置の側面断面図である。
分離板、定着ベルトおよびフランジを示す正面図である。
分離板の当接部の変形例を示す図である。
分離板の当接部の別の変形例を示す図である。
加圧ローラ側に設けられた分離板を示す定着装置の側面断面図である。
図11の分離板、加圧ローラを示す正面図である。
図2と異なる定着装置の概略構成を示す側面断面図である。
図15の定着装置の分離板、定着ベルトおよびフランジを示す正面図である。
図15の定着装置の分離爪を示す斜視図である。
定着ベルトの配列方向の温度分布を示す図で、(a)図がヒータの平面図、(b)図が定着ベルトの温度分布を示す図である。
図5のヒータの分割領域を示す図である。
図19と異なる形状の分割領域を示す図である。
図6のヒータの分割領域を示す図である。
ヒータ、第1高熱伝導部材、ヒータホルダの斜視図である。
第1高熱伝導部材の配置を示すヒータの平面図である。
図2とは異なる実施形態の定着装置の概略構成を示す側面断面図である。
ヒータ、第1高熱伝導部材、第2高熱伝導部材、ヒータホルダの斜視図である。
第1高熱伝導部材および第2高熱伝導部材の配置を示すヒータの平面図である。
グラフェンの原子結晶構造を示す図である。
グラファイトの原子結晶構造を示す図である。
図26と第2高熱伝導部材の配置が異なるヒータを示す平面図である。
図2、図24とは異なる実施形態の定着装置の概略構成を示す側面断面図である。
上記と異なる定着装置の概略構成を示す側面断面図である。
上記と異なる定着装置の概略構成を示す側面断面図である。
上記と異なる定着装置の概略構成を示す側面断面図である。
図1と異なる画像形成装置の概略構成図である。
本発明の一実施形態に係る定着装置の概略構成を示す側面断面図である。
図35の定着装置におけるヒータの平面図である。
ヒータおよびヒータホルダの斜視図である。
ヒータに対するコネクタの取付状態を示す斜視図である。
サーミスタとサーモスタットの配置を示す図である。
フランジの溝部を示す図である。
【発明を実施するための形態】
【0010】
以下、本発明に係る実施の形態について、図面を参照して説明する。なお、各図中、同一又は相当する部分には同一の符号を付しており、その重複説明は適宜に簡略化ないし省略する。以下、本発明の加熱装置の一例として、記録媒体としての用紙上に画像を定着する定着装置について例示する。
(【0011】以降は省略されています)
この特許をJ-PlatPat(特許庁公式サイト)で参照する
関連特許
株式会社リコー
画像形成装置
16日前
株式会社リコー
外観検査装置
1日前
株式会社リコー
画像形成装置
7日前
株式会社リコー
服薬支援装置
7日前
株式会社リコー
画像形成装置、及び、機器
15日前
株式会社リコー
光走査装置及び画像形成装置
14日前
株式会社リコー
シート供給装置、画像形成装置
14日前
株式会社リコー
画像形成装置及び異常判定方法
7日前
株式会社リコー
画像形成装置および画像形成方法
7日前
株式会社リコー
画像形成装置、及び画像形成方法
1日前
株式会社リコー
樹脂粒子、及び樹脂粒子の製造方法
22日前
株式会社リコー
加熱搬送装置、及び、画像形成装置
15日前
株式会社リコー
加熱装置、定着装置、画像形成装置
17日前
株式会社リコー
加熱装置、定着装置及び画像形成装置
1日前
株式会社リコー
樹脂粒子、トナー、及び、画像形成装置
14日前
株式会社リコー
情報処理装置、情報処理方法およびプログラム
2日前
株式会社リコー
情報処理装置、情報処理方法およびプログラム
14日前
株式会社リコー
画像形成装置、画像形成方法およびプログラム
7日前
株式会社リコー
画像処理装置、画像処理方法およびプログラム
9日前
株式会社リコー
表示装置、表示方法、プログラム、表示システム
17日前
株式会社リコー
表示装置、表示方法、プログラム、表示システム
1日前
株式会社リコー
表示装置、表示方法、プログラム、表示システム
9日前
株式会社リコー
シート収容装置、シート給送装置及び画像形成装置
7日前
株式会社リコー
シート処理装置、シート処理方法及び画像形成システム
14日前
株式会社リコー
情報処理装置、設定システム、プログラム、情報処理方法
22日前
株式会社リコー
情報処理システム、情報処理装置、方法およびプログラム
1日前
株式会社リコー
機器システム、制御方法、情報処理装置、プログラム、機器
1日前
株式会社リコー
筆記装置、表示装置、および、コミュニケーションシステム
1日前
株式会社リコー
情報処理装置、表示装置、情報処理方法、およびプログラム
16日前
株式会社リコー
瞳孔又は角膜の位置検知装置、及びヘッドマウントディスプレイ
14日前
株式会社リコー
瞳孔又は角膜の位置検知装置、及びヘッドマウントディスプレイ
14日前
株式会社リコー
導電膜製造方法、焼結装置、電磁波シールド層及び電極パターン
1日前
株式会社リコー
情報処理装置、情報処理システム、情報処理方法及びプログラム
15日前
株式会社リコー
情報処理装置、画面作成方法、プログラム、及び情報処理システム
14日前
株式会社リコー
情報処理装置、画面作成方法、プログラム、及び情報処理システム
14日前
株式会社リコー
液体吐出システム、液体吐出装置、液体吐出方法およびプログラム
1日前
続きを見る
他の特許を見る