TOP
|
特許
|
意匠
|
商標
特許ウォッチ
Twitter
他の特許を見る
公開番号
2025005007
公報種別
公開特許公報(A)
公開日
2025-01-16
出願番号
2023104981
出願日
2023-06-27
発明の名称
吹付け装置及び吹付け方法
出願人
株式会社大林組
代理人
個人
,
個人
主分類
E04G
21/16 20060101AFI20250108BHJP(建築物)
要約
【課題】要求性能を担保した被覆を行なうための吹付け装置及び吹付け方法を提供する。
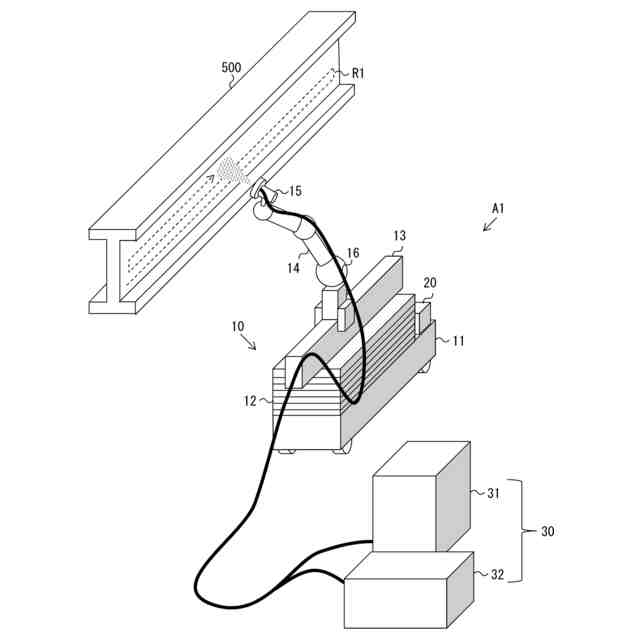
【解決手段】吹付け装置A1は、ロボットアーム14の先端部に取り付けた吹付けノズル15の位置に基づいて、対象物500に耐火被覆材を吹き付ける制御装置20を備える。制御装置20が、対象物の耐火性能を満足する吹付け条件を取得し、吹付け条件で、ロボットアーム14を動作させて、吹付けノズル15から吐出された耐火被覆材を吹き付けることにより、対象物500を耐火被覆材で被覆する。
【選択図】図1
特許請求の範囲
【請求項1】
ロボットアームの先端部に取り付けた吹付けノズルの位置に基づいて、対象物に耐火被覆材を吹き付ける制御部を備えた吹付け装置であって、
前記制御部が、
対象物の耐火性能を満足する吹付け条件を取得し、
前記吹付け条件で、前記ロボットアームを動作させて、前記吹付けノズルから吐出された前記耐火被覆材を吹き付けることにより、前記対象物を前記耐火被覆材で被覆することを特徴とする吹付け装置。
続きを表示(約 330 文字)
【請求項2】
前記制御部が、前記吹付け条件に応じて、ロボットアームの移動速度、吹付けピッチ及び材料の吐出量の中で少なくとも一つを制御変数として用いることを特徴とする請求項1に記載の吹付け装置。
【請求項3】
ロボットアームの先端部に取り付けた吹付けノズルの位置に基づいて、対象物に耐火被覆材を吹き付ける制御部を備えた吹付け装置を用いる吹付け方法であって、
前記制御部が、
対象物の耐火性能を満足する吹付け条件を取得し、
前記吹付け条件で、前記ロボットアームを動作させて、前記吹付けノズルから吐出された前記耐火被覆材を吹き付けることにより、前記対象物を前記耐火被覆材で被覆することを特徴とする吹付け方法。
発明の詳細な説明
【技術分野】
【0001】
本開示は、梁等の建築部材に対して、断熱材等の耐火被覆材を吹き付ける吹付け装置及び吹付け方法に関する。
続きを表示(約 1,700 文字)
【背景技術】
【0002】
従来、ロボットを用いて、鉄骨梁等の建築部材の表面を、ロックウール等の耐火被覆材で被覆することにより、耐火仕上げを行なうことがある。そこで、ロボットによる耐火被覆材の被覆を行なう吹付け装置が検討されている(例えば、特許文献1参照。)。この特許文献1に記載の吹付け装置は、吹付け手段を備える多関節構造のロボットアームと、このロボットアームを支持する走行部と、を有する。更に、この吹付け装置の走行部は、ロボットアームを昇降する昇降装置と、走行部上で施工対象面に沿う方向にロボットアームを移動させる横行装置と、を備える。
【先行技術文献】
【特許文献】
【0003】
特開2020-20206号公報
【発明の概要】
【発明が解決しようとする課題】
【0004】
ロボットを用いた吹付けロックウールによる耐火被覆の施工においては、吹き付けた耐火被覆の厚さや比重を、建築基準法に基づく耐火時間仕様に応じた規定値以上にする必要がある。従来の技能工による耐火被覆の吹付けにおいては、吹付け中の被覆状況を技能工が目視しながら被覆厚さが規定値以上となるように調整しながら施工を行なう。しかしながら、ロボットによる吹付けにおいては、技能工のような調整しながらの施工が困難である。
【課題を解決するための手段】
【0005】
上記課題を解決する吹付け装置は、ロボットアームの先端部に取り付けた吹付けノズルの位置に基づいて、対象物に耐火被覆材を吹き付ける制御部を備える。前記制御部が、対象物の耐火性能を満足する吹付け条件を取得し、前記吹付け条件で、前記ロボットアームを動作させて、前記吹付けノズルから吐出された前記耐火被覆材を吹き付けることにより、前記対象物を前記耐火被覆材で被覆する。
【発明の効果】
【0006】
本発明によれば、要求性能を担保した被覆を行なうことができる。
【図面の簡単な説明】
【0007】
実施形態における吹付け装置の説明図である。
実施形態における吹付け装置の機能の説明図である。
実施形態のハードウェア構成の説明図である。
実施形態における制御条件の説明図である。
実施形態における処理手順の説明図である。
実施形態における制御条件と被覆厚との関係を示す説明図であって、(a)は移動速度、(b)はルート間隔、(c)は吐出量との関係の説明図である。
実施形態における制御条件と吹付け状態との関係を示す画像であって、(a)は風圧が低い場合、(b)は風圧が高い場合、(c)はロックウール材料の粒が小さい場合、(d)はロックウール材料の粒が大きい場合の画像である。
【発明を実施するための形態】
【0008】
以下、図1~図7を用いて、耐火被覆材を吹き付ける吹付け装置及び吹付け方法を具体化した一実施形態を説明する。本実施形態では、建築部材としてのH形鋼で構成された鉄骨梁に対して、ロックウール等の耐火被覆材を吹き付ける吹付け装置及び吹付け方法として説明する。
【0009】
図1に示すように、H形鋼である対象物500に対して、吹付け装置A1を用いて、耐火被覆材の吹付けを行なう。このような吹付けにおいては、対象物500の吹付け面に吹付けルートR1を設定している。この吹付けルートR1は、吹付けノズルから吐出した材料が鋼材面に衝突するラインである。
【0010】
吹付け装置A1は、本体装置10、供給装置30を備える。
本体装置10の下端部には、走行部11が設けられている。この走行部11は、回転可能な離間した4個の車輪を有する。これら車輪には回転を止めるストッパやアウトリガ装置(図示せず)が設けられており、移動先等の任意の位置で本体装置10を据え付けることができる。
(【0011】以降は省略されています)
この特許をJ-PlatPat(特許庁公式サイト)で参照する
関連特許
株式会社大林組
接合構造
1か月前
株式会社大林組
接続構造
9日前
株式会社大林組
開封装置
6日前
株式会社大林組
加熱装置
6日前
株式会社大林組
操縦装置
9日前
株式会社大林組
測定方法
1か月前
株式会社大林組
接合構造
9日前
株式会社大林組
飛込み台
1か月前
株式会社大林組
ドリル装置
9日前
株式会社大林組
建物の構造
1か月前
株式会社大林組
仮設建築物
1か月前
株式会社大林組
耐火被覆構造
1か月前
株式会社大林組
折畳み構造物
12日前
株式会社大林組
スロープ構造
6日前
株式会社大林組
可搬式充電設備
1か月前
株式会社大林組
床板の設置方法
1か月前
株式会社大林組
鋼矢板の圧入方法
1か月前
株式会社大林組
リフトアップ装置
1か月前
株式会社大林組
リフトアップ装置
1か月前
株式会社大林組
大梁胴縁接続構造
今日
株式会社大林組
袋体付き排水パイプ
1か月前
株式会社大林組
電動式運搬補助装置
8日前
株式会社大林組
袋体付き排水パイプ
1か月前
株式会社大林組
繊維材供給システム
6日前
株式会社大林組
建築物及び建築方法
1か月前
株式会社大林組
自動屋根開閉システム
12日前
株式会社大林組
建物の構築方法及び建物
1か月前
株式会社大林組
継手装置及び複合支持杭
1か月前
株式会社大林組
クレーンの自動運転装置
1か月前
株式会社大林組
飛込み台及びその施工方法
1か月前
株式会社大林組
散水装置及び異物除去方法
1か月前
株式会社大林組
多孔質部材の漏洩検知方法
1か月前
株式会社大林組
建設用溶接方法及び建設物
1か月前
株式会社大林組
クレーン自動運転システム
1か月前
株式会社大林組
耐火構造、耐火板支持構造
26日前
株式会社大林組
シート部材及び、施工方法
1日前
続きを見る
他の特許を見る