TOP
|
特許
|
意匠
|
商標
特許ウォッチ
Twitter
他の特許を見る
10個以上の画像は省略されています。
公開番号
2025181235
公報種別
公開特許公報(A)
公開日
2025-12-11
出願番号
2024089089
出願日
2024-05-31
発明の名称
サポートプログラム
出願人
ブラザー工業株式会社
代理人
弁理士法人コスモス国際特許商標事務所
主分類
G06F
3/12 20060101AFI20251204BHJP(計算;計数)
要約
【課題】OS標準の汎用印刷プログラムを介してプリンタに印刷を行わせる場合に、画像シフトが施された画像が印刷される可能性を高める技術を提供すること。
【解決手段】補助プログラム42は、PC1のCPU11によって実行可能であり、PC1と接続するプリンタ2に対応し、PC1のOS21が有する汎用印刷プログラム41をサポートするプログラムである。補助プログラム42は、PC1のCPU11に、PC1に組み込まれている編集アプリ43から出力された印刷指示であって、汎用印刷プログラム41に対して画像の印刷をプリンタ2に行わせる印刷指示があった場合に、印刷指示に対応する画像シフトに関するパラメータに従って、印刷指示による印刷対象の画像を1面ごとにシフトさせた画像を示す印刷データを生成させ、生成された印刷データがプリンタ2に送信されるようにする。
【選択図】図1
特許請求の範囲
【請求項1】
情報処理装置のコンピュータによって実行可能であり、前記情報処理装置と接続するプリンタに対応し、前記情報処理装置のオペレーティングシステムが有する汎用印刷プログラムをサポートするサポートプログラムであって、
前記コンピュータに、
前記情報処理装置に組み込まれているアプリケーションプログラムから出力された印刷指示であって、前記汎用印刷プログラムに対して画像の印刷を前記プリンタに行わせる前記印刷指示があった場合に、
前記印刷指示に対応する画像シフトに関するパラメータに従って、前記印刷指示による印刷対象の前記画像を1面ごとにシフトさせた画像を示す印刷データを生成する生成処理を実行させ、前記生成処理にて生成された前記印刷データが前記プリンタに送信される、
ように構成されるサポートプログラム。
続きを表示(約 2,000 文字)
【請求項2】
請求項1に記載されるサポートプログラムにおいて、
前記生成処理では、
前記印刷指示による印刷対象の前記画像から、前記印刷データとして、前記パラメータに従ってシフトさせた画像のラスタデータを生成する、
ように構成されるサポートプログラム。
【請求項3】
請求項1に記載されるサポートプログラムにおいて、
前記生成処理では、
前記印刷指示による印刷対象の前記画像のラスタデータを生成し、前記印刷データとして、生成された前記ラスタデータを前記パラメータに従って加工した加工データを生成する、
ように構成されるサポートプログラム。
【請求項4】
請求項1に記載されるサポートプログラムにおいて、
前記コンピュータに、
前記印刷指示があった場合に、前記生成処理を実行させる前に、
前記パラメータに従って、前記印刷指示による印刷対象の前記画像を1面ごとにシフトさせたプレビュー画像を、前記情報処理装置のユーザインタフェースを用いて表示し、前記ユーザインタフェースを介して、印刷を実行するか否かの指示を受け付けるプレビュー処理を実行させ、前記プレビュー処理にて印刷を実行する前記指示を受け付けた場合に、前記生成処理にて生成された前記印刷データが前記プリンタに送信される、
ように構成されるサポートプログラム。
【請求項5】
請求項4に記載されるサポートプログラムにおいて、
前記プレビュー処理では、
前記パラメータの変更も受け付け、前記パラメータが変更された場合には、変更後の前記パラメータに従ってシフトさせた前記プレビュー画像を、前記ユーザインタフェースに表示し、
前記コンピュータに、
前記パラメータが変更された後、前記プレビュー処理にて印刷を実行する前記指示を受け付けた場合、前記生成処理を実行させ、前記生成処理では、変更後の前記パラメータに従って、前記印刷指示による印刷対象の前記画像を1面ごとにシフトさせた画像を示す前記印刷データを生成する、
ように構成されるサポートプログラム。
【請求項6】
請求項1に記載されるサポートプログラムにおいて、
前記コンピュータに、
前記生成処理では、前記印刷指示の印刷設定に含まれる前記パラメータに従って、前記印刷指示による印刷対象の前記画像を1面ごとにシフトさせた画像を示す前記印刷データを生成する、
ように構成されるサポートプログラム。
【請求項7】
請求項6に記載されるサポートプログラムにおいて、
前記コンピュータに、
前記プリンタでの印刷に用いる印刷設定を受け付ける設定画面を、前記情報処理装置のユーザインタフェースを用いて表示する設定受付処理を実行させ、前記設定画面では、前記パラメータとして、画像をシフトさせる向きであるシフト方向と、画像をシフトさせる量であるシフト量と、を設定可能であり、
前記生成処理では、前記設定画面にて設定された前記シフト方向と前記シフト量とに従って、前記印刷指示による印刷対象の前記画像を1面ごとにシフトさせた画像を示す前記印刷データを生成する、
ように構成されるサポートプログラム。
【請求項8】
請求項1に記載されるサポートプログラムにおいて、
前記コンピュータに、
前記印刷指示があり、前記印刷指示の印刷設定に、両面印刷が指定されている場合に、前記生成処理を実行させ、
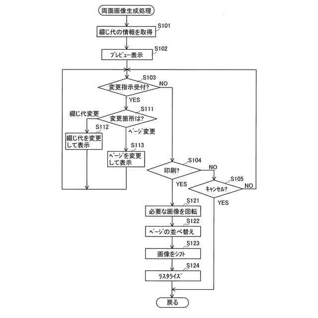
前記生成処理では、前記パラメータとして、前記印刷指示の印刷設定の項目に含まれる綴じ代の設定値に従って、前記印刷指示による印刷対象の前記画像を1面ごとにシフトさせた画像を示す前記印刷データを生成する、
ように構成されるサポートプログラム。
【請求項9】
請求項8に記載されるサポートプログラムにおいて、
前記コンピュータに、
前記印刷指示があり、前記印刷指示の印刷設定に、両面印刷が指定されている場合に、回転処理と、前記生成処理と、を実行させ、
前記回転処理では、前記印刷指示による印刷対象の前記画像のうち、回転が必要となるページの前記画像を180度回転させる、
ように構成されるサポートプログラム。
【請求項10】
請求項1に記載されるサポートプログラムにおいて、
前記印刷指示があり、前記印刷指示の印刷設定に、印字開始位置が指定されている場合に、前記生成処理を実行させ、
前記生成処理では、前記パラメータとして、前記印刷指示の印刷設定の項目に含まれる印字開始位置の設定値に従って、前記印刷指示による印刷対象の前記画像を1面ごとにシフトさせた画像を示す前記印刷データを生成する、
ように構成されるサポートプログラム。
発明の詳細な説明
【技術分野】
【0001】
本明細書に開示される技術分野は、プリンタの制御をサポートするサポートプログラムに関する。
続きを表示(約 2,000 文字)
【背景技術】
【0002】
近年、プリンタベンダから提供されるプリンタドライバを利用せず、オペレーティングシステム(OS)の一部を構成するOS標準の汎用印刷プログラムによってプリンタを制御する技術が実用化されている。この技術では、OSがプリンタを検知するとOS標準の汎用印刷プログラムとの関連付けを行い、以後、そのプリンタに対する印刷指示を受け付けた場合に、プリンタベンダから提供されるプリンタドライバを用いずに、OS標準の汎用印刷プログラムが印刷データを生成することで、OS標準の汎用印刷プログラムによる印刷が可能になる。
【0003】
OS標準の汎用印刷プログラムに関連する技術を開示した文献としては、例えば特許文献1がある。特許文献1には、汎用印刷プログラムをサポートするサポートプログラムであって、両面印刷時に、サポートプログラムがページの並べ替えや画像の回転を行う構成、さらには画像シフトの処理に関するシフトコマンドを印刷データに関連付けてプリンタに送信する構成が開示されている。
【先行技術文献】
【特許文献】
【0004】
特開2021-56642号公報
【発明の概要】
【発明が解決しようとする課題】
【0005】
OS標準の汎用印刷プログラムでは、画像シフトに関する機能が十分にサポートされていないことから、特許文献1に開示される技術のように、サポートプログラムが印刷データにシフトコマンドを付与し、プリンタにて画像シフトに関する処理を実行させる構成が考えられる。一方で、サポートプログラムがコマンドを付与したとしても、プリンタがそのコマンドに対応していなければそのコマンドに対応する画像シフトに関する処理が実行されないことから、改善の余地がある。
【課題を解決するための手段】
【0006】
上述した課題の解決を目的としてなされたサポートプログラムは、情報処理装置のコンピュータによって実行可能であり、前記情報処理装置と接続するプリンタに対応し、前記情報処理装置のオペレーティングシステムが有する汎用印刷プログラムをサポートするサポートプログラムであって、前記コンピュータに、前記情報処理装置に組み込まれているアプリケーションプログラムから出力された印刷指示であって、前記汎用印刷プログラムに対して画像の印刷を前記プリンタに行わせる前記印刷指示があった場合に、前記印刷指示に対応する画像シフトに関するパラメータに従って、前記印刷指示による印刷対象の前記画像を1面ごとにシフトさせた画像を示す印刷データを生成する生成処理を実行させ、前記生成処理にて生成された前記印刷データが前記プリンタに送信される、ように構成されている。
【0007】
本明細書に開示されるサポートプログラムは、印刷指示に対応する画像シフトに関するパラメータに従って、印刷対象の画像を1面ごとにシフトさせた画像を示す印刷データを生成し、生成された印刷データがプリンタに送信されるようにする。これにより、プリンタで画像シフトに関する処理を実行することなく、シフトされた画像がプリンタで印刷される。その結果として、画像シフトに関する処理を実行できないプリンタであっても、画像シフトが施された画像を印刷できる。
【0008】
上記サポートプログラムが組み込まれた情報処理装置、サポートプログラムを格納するコンピュータにて読取可能な記憶媒体、及びサポートプログラムの機能を実現するための制御方法、サポートプログラムとプリンタとを含む印刷システムも、新規で有用である。
【発明の効果】
【0009】
本明細書に開示される技術によれば、OS標準の汎用印刷プログラムを介してプリンタに印刷を行わせる場合に、画像シフトが施された画像が印刷される可能性を高める技術が実現される。
【図面の簡単な説明】
【0010】
PCの電気的構成の概略を示すブロック図である。
プリンタ選択と詳細設定の手順の例を示すシーケンス図である。
詳細設定画面の例を示す説明図である。
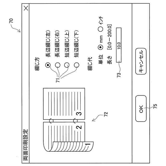
両面設定画面の例を示す説明図である。
印刷実行手順の例を示すシーケンス図である。
両面画像生成処理の手順の例を示すフローチャートである。
プレビュー画面の例を示す説明図である。
プレビュー画像の綴じ代を変更した例を示す説明図である。
プレビュー画像のページを変更した例を示す説明図である。
シフト印刷設定画面の例を示す説明図である。
シフト印刷設定画面の例を示す説明図である。
【発明を実施するための形態】
(【0011】以降は省略されています)
この特許をJ-PlatPat(特許庁公式サイト)で参照する
関連特許
ブラザー工業株式会社
印刷装置
1日前
ブラザー工業株式会社
印刷装置
3日前
ブラザー工業株式会社
プリンタ
2日前
ブラザー工業株式会社
定着装置
1日前
ブラザー工業株式会社
定着装置
1日前
ブラザー工業株式会社
読取装置
2日前
ブラザー工業株式会社
印刷装置
14日前
ブラザー工業株式会社
印刷装置
1日前
ブラザー工業株式会社
印刷装置
1日前
ブラザー工業株式会社
プリンタ
3日前
ブラザー工業株式会社
液体吐出装置
1日前
ブラザー工業株式会社
液体吐出装置
14日前
ブラザー工業株式会社
画像読取装置
3日前
ブラザー工業株式会社
画像形成装置
1日前
ブラザー工業株式会社
液滴吐出装置
1日前
ブラザー工業株式会社
液滴吐出装置
1日前
ブラザー工業株式会社
画像形成装置
1日前
ブラザー工業株式会社
画像形成装置
1日前
ブラザー工業株式会社
画像形成装置
1日前
ブラザー工業株式会社
画像形成装置
1日前
ブラザー工業株式会社
液体吐出装置
16日前
ブラザー工業株式会社
液体吐出装置
7日前
ブラザー工業株式会社
液体吐出装置
7日前
ブラザー工業株式会社
画像形成装置
9日前
ブラザー工業株式会社
液滴吐出装置
1日前
ブラザー工業株式会社
液体吐出ヘッド
14日前
ブラザー工業株式会社
液体吐出ヘッド
3日前
ブラザー工業株式会社
液滴吐出ヘッド
1日前
ブラザー工業株式会社
液滴吐出ヘッド
16日前
ブラザー工業株式会社
制御盤及び工作機械
1日前
ブラザー工業株式会社
サポートプログラム
1日前
ブラザー工業株式会社
収納箱およびシート
1日前
ブラザー工業株式会社
印刷カセット収納体
8日前
ブラザー工業株式会社
情報処理プログラム
14日前
ブラザー工業株式会社
印刷用カセット収納体
3日前
ブラザー工業株式会社
タンクおよび液体吐出装置
14日前
続きを見る
他の特許を見る