TOP
|
特許
|
意匠
|
商標
特許ウォッチ
Twitter
他の特許を見る
10個以上の画像は省略されています。
公開番号
2025179342
公報種別
公開特許公報(A)
公開日
2025-12-10
出願番号
2024086033
出願日
2024-05-28
発明の名称
読取装置
出願人
ブラザー工業株式会社
代理人
個人
,
個人
主分類
H04N
1/04 20060101AFI20251203BHJP(電気通信技術)
要約
【課題】読取装置において、2枚の透明板を跨いで貼られたシートの剥がれを抑制する。
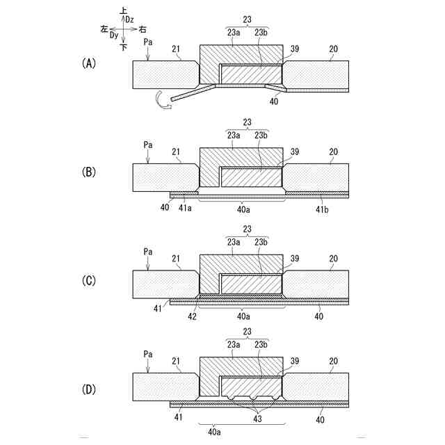
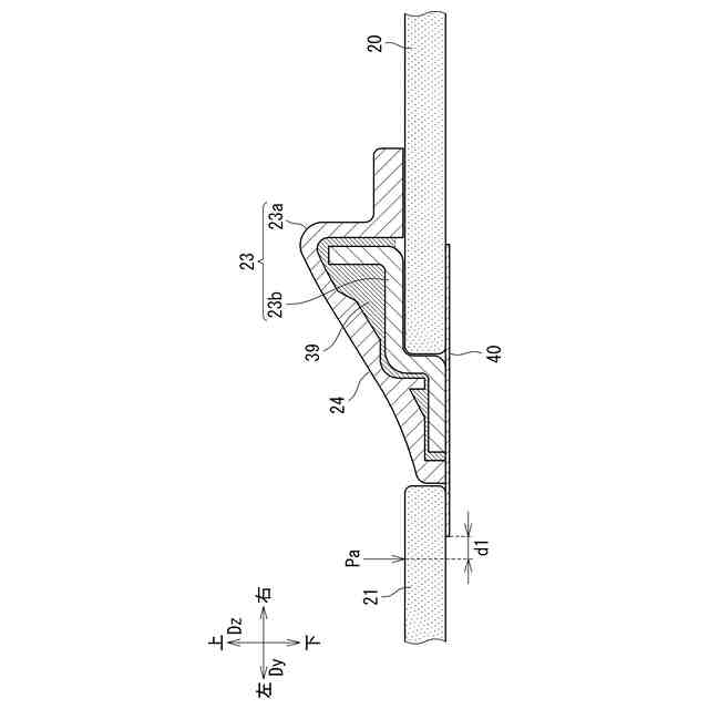
【解決手段】搬送原稿用のプラテンガラス21と、プラテンガラス21と左右方向に離れて位置する静止原稿用のプラテンガラス20と、プラテンガラス21とプラテンガラス20との間に位置し、移動原稿を案内する仕切り部材23と、仕切り部材23の下面と対向し、第1接着層41a及び第2接着層41bによってプラテンガラス21の下面とプラテンガラス20の下面とに接着され、プラテンガラス20、21及び仕切り部材23の隙間からの異物の落下を防止するシート40と、を備える画像読取装置1において、シート40は、仕切り部材23の下面に付着しない非付着部分40aを有する。
【選択図】図9
特許請求の範囲
【請求項1】
第1透明板と、
上記第1透明板と第1方向に離れて位置する第2透明板と、
上記第1透明板と上記第2透明板との間に位置する仕切り部材と、
上記仕切り部材の下面と対向し、上記第1透明板の下面と上記第2透明板の下面とに付着するシートと、を備え、
上記シートは、上記仕切り部材の下面に付着しない非付着部分を有する読取装置。
続きを表示(約 1,100 文字)
【請求項2】
上記シートは、上記第1透明板の下面と付着する第1接着層と、上記第2透明板の下面と付着する第2接着層と、を有しており、
上記非付着部分は、接着層を有しない請求項1に記載の読取装置。
【請求項3】
上記シートは、上記第1透明板の下面及び上記第2透明板の下面と付着する接着層を有しており、
上記非付着部分は、上記接着層を覆う非接着性の被覆層を有する請求項1に記載の読取装置。
【請求項4】
第1透明板と、
上記第1透明板と第1方向に離れて位置する第2透明板と、
上記第1透明板と上記第2透明板との間に位置する仕切り部材と、
上記仕切り部材の下面と対向し、上記第1透明板の下面と上記第2透明板の下面とに付着するシートと、を備え、
上記シートと対向する上記仕切り部材の下面は、接着防止形状である読取装置。
【請求項5】
上記接着防止形状は、凹凸形状である請求項4に記載の読取装置。
【請求項6】
第1透明板と、
上記第1透明板と第1方向に離れて位置する第2透明板と、
上記第1透明板と上記第2透明板との間に位置する仕切り部材と、
上記仕切り部材の下面と対向し、上記第1透明板の下面と上記第2透明板の下面とに付着するシートと、を備え、
上記仕切り部材の下面と上記シートとは、上下方向に離間する読取装置。
【請求項7】
上記第1透明板の下面及び上記第2透明板の下面に沿って移動するキャリッジと、
上記キャリッジに上下動可能に支持されたイメージセンサと、
上記イメージセンサから少なくとも一部が上方に突出しており、上記第1透明板の下面及び上記第2透明板の下面と当接するローラと、をさらに備えており、
上記仕切り部材は、上記仕切り部材の下面から下方へ突出する凸部を有しており、
上記キャリッジが上記仕切り部材の下方を移動するとき、上記ローラは上記凸部の下方を移動する請求項6に記載の読取装置。
【請求項8】
上記第1透明板の上方において原稿を搬送する原稿搬送部をさらに備えており、
上記仕切り部材は、上記原稿が摺動する案内面を有する請求項1に記載の読取装置。
【請求項9】
上記仕切り部材は、
上記案内面を有する案内部材と、
上記案内部材を補強する補強部材と、を含む請求項8に記載の読取装置。
【請求項10】
上記シートと対向する上記仕切り部の下面は、接着防止形状である請求項1に記載の読取装置。
(【請求項11】以降は省略されています)
発明の詳細な説明
【技術分野】
【0001】
本開示は、読取装置に関する。
続きを表示(約 1,200 文字)
【背景技術】
【0002】
原稿搬送装置を備えた読取装置として、搬送原稿用透明板と静止原稿用透明板との隙間にシートが貼られているものがある。シートは、搬送原稿用透明板の下面と静止原稿用透明板の下面とを跨るように貼られている。シートにより、隙間から落下した異物等がイメージセンサに付着することが防止される。
【先行技術文献】
【特許文献】
【0003】
特開2005-020667号公報
【発明の概要】
【発明が解決しようとする課題】
【0004】
搬送原稿用透明板と静止原稿用透明板の間との隙間にはスキャナトップカバーやカバーを補強する補強板金が設けられている。シートは、搬送原稿用透明板、スキャナトップカバー、補強板金および静止原稿用透明板に跨って貼られている。各部材の接着面に段差が生じていると、段差に応じてシートが変形して貼り付けられる。2枚の透明板に対してスキャナトップカバーや補強板金が凹んでいる場合、段差におけるシートの反発により、シートが透明板の下面から浮き上がり、浮き上がった箇所からシートが剥がれていくおそれがある。
【0005】
本開示は、読取装置において、2枚の透明板を跨いで貼られたシートの剥がれを抑制することを目的とする。
【課題を解決するための手段】
【0006】
(1)本開示に係る読取装置は、第1透明板と、上記第1透明板と第1方向に離れて位置する第2透明板と、上記第1透明板と上記第2透明板との間に位置する仕切り部材と、上記仕切り部材の下面と対向し、上記第1透明板の下面と上記第2透明板の下面とに付着するシートと、を備え、上記シートは、上記仕切り部材の下面に付着しない非付着部分を有する。
【0007】
上記構成を備えれば、第1透明板の下面または第2透明板の下面に対して仕切り部材の下面が上方へ凹む段差が生じていたとしても、シートが仕切り部材に付着し難くすることができる。
【0008】
(2)上記シートは、上記第1透明板の下面と付着する第1接着層と、上記第2透明板の下面と付着する第2接着層と、を有しており、上記非付着部分は、接着層を有しなくてもよい。
【0009】
(3)上記シートは、上記第1透明板の下面及び上記第2透明板の下面と付着する接着層を有しており、上記非付着部分は、上記接着層を覆う非接着性の被覆層を有してもよい。
【0010】
(4)第1透明板と、上記第1透明板と第1方向に離れて位置する第2透明板と、上記第1透明板と上記第2透明板との間に位置する仕切り部材と、上記仕切り部材の下面と対向し、上記第1透明板の下面と上記第2透明板の下面とに付着するシートと、を備え、上記シートと対向する上記仕切り部材の下面は、接着防止形状であってもよい。
(【0011】以降は省略されています)
この特許をJ-PlatPat(特許庁公式サイト)で参照する
関連特許
ブラザー工業株式会社
定着装置
今日
ブラザー工業株式会社
印刷装置
今日
ブラザー工業株式会社
プリンタ
2日前
ブラザー工業株式会社
印刷装置
2日前
ブラザー工業株式会社
読取装置
1日前
ブラザー工業株式会社
プリンタ
1日前
ブラザー工業株式会社
定着装置
今日
ブラザー工業株式会社
印刷装置
今日
ブラザー工業株式会社
印刷装置
今日
ブラザー工業株式会社
画像読取装置
2日前
ブラザー工業株式会社
液滴吐出装置
今日
ブラザー工業株式会社
液滴吐出装置
今日
ブラザー工業株式会社
液滴吐出装置
今日
ブラザー工業株式会社
液体吐出装置
今日
ブラザー工業株式会社
液体吐出装置
6日前
ブラザー工業株式会社
画像形成装置
今日
ブラザー工業株式会社
画像形成装置
今日
ブラザー工業株式会社
画像形成装置
今日
ブラザー工業株式会社
画像形成装置
今日
ブラザー工業株式会社
画像形成装置
今日
ブラザー工業株式会社
液体吐出ヘッド
2日前
ブラザー工業株式会社
液滴吐出ヘッド
今日
ブラザー工業株式会社
サポートプログラム
今日
ブラザー工業株式会社
制御盤及び工作機械
今日
ブラザー工業株式会社
収納箱およびシート
今日
ブラザー工業株式会社
印刷用カセット収納体
2日前
ブラザー工業株式会社
シート検知装置及び画像読取装置
今日
ブラザー工業株式会社
液体吐出ヘッド及び液体吐出装置
1日前
ブラザー工業株式会社
ラベルプリンタおよび印刷システム
2日前
ブラザー工業株式会社
液体吐出装置及び液体吐出装置の制御方法
今日
ブラザー工業株式会社
液体吐出装置及び液体吐出装置の制御方法
今日
ブラザー工業株式会社
液体吐出装置、その制御方法及びプログラム
今日
ブラザー工業株式会社
プログラム、ラベルプリンタ、および印刷方法
今日
ブラザー工業株式会社
情報処理装置、及び、情報処理装置用プログラム
今日
ブラザー工業株式会社
コンピュータプログラム、および、データ処理装置
今日
ブラザー工業株式会社
管理システム、消費装置、サーバ、および管理方法
2日前
続きを見る
他の特許を見る