TOP
|
特許
|
意匠
|
商標
特許ウォッチ
Twitter
他の特許を見る
10個以上の画像は省略されています。
公開番号
2025181157
公報種別
公開特許公報(A)
公開日
2025-12-11
出願番号
2024088969
出願日
2024-05-31
発明の名称
滅菌器
出願人
国立大学法人大阪大学
,
独立行政法人国立病院機構
,
株式会社タカゾノ
代理人
弁理士法人深見特許事務所
主分類
A61L
2/07 20060101AFI20251204BHJP(医学または獣医学;衛生学)
要約
【課題】小型化により効率よく搬送することが可能な滅菌器を提供する。
【解決手段】滅菌器100は、第1収納部1と、チャンバ3と、ヒータ5と、貯液槽7とを備える。チャンバ3は第1収納部1内に設置され、被滅菌物を収納可能である。ヒータ5はチャンバ3内に供給される液体を加熱する。貯液槽7はチャンバ3内に供給される液体を貯留する。使用時における第1占有体積よりも非使用時における第2占有体積を小さくすることが可能である。
【選択図】図1
特許請求の範囲
【請求項1】
筐体である第1収納部と、
前記第1収納部内に設置され、被滅菌物を収納可能なチャンバと、
前記チャンバ内に供給される液体を加熱するヒータと、
前記チャンバ内に供給される前記液体を貯留する貯液槽とを備え、
使用時における第1占有体積よりも非使用時における第2占有体積を小さくすることが可能である、滅菌器。
続きを表示(約 350 文字)
【請求項2】
前記非使用時には前記ヒータおよび前記貯液槽のうちの少なくともいずれか一方を前記チャンバ内に収納することで、前記第1占有体積よりも前記第2占有体積を小さくする、請求項1に記載の滅菌器。
【請求項3】
前記チャンバ内に収納可能な第2収納部をさらに備え、
前記第2収納部は前記ヒータおよび前記貯液槽のうちの少なくともいずれか一方を取付けるための取付部を含む、請求項2に記載の滅菌器。
【請求項4】
前記第1収納部は折り畳み可能であり、
前記チャンバは伸縮可能な材料で形成され、
前記非使用時には前記第1収納部が折り畳まれ、前記チャンバが縮むことで、前記第1占有体積よりも前記第2占有体積を小さくする、請求項1に記載の滅菌器。
発明の詳細な説明
【技術分野】
【0001】
本開示は、滅菌器に関するものである。
続きを表示(約 2,100 文字)
【背景技術】
【0002】
災害現場などでは、医療機器を滅菌する滅菌器が使用される場合がある。従来の滅菌器は大型であり、災害現場などに効率よく搬送することが困難であった。このため滅菌器を小型化するなど、滅菌器の搬送性を向上させることが求められている。
【0003】
滅菌器の小型化に貢献する技術は、たとえば特開2021-112654号公報(特許文献1)に提案されている。
【先行技術文献】
【特許文献】
【0004】
特開2021-112654号公報
【発明の概要】
【発明が解決しようとする課題】
【0005】
特開2021-112654号公報には、チャンバと貯液槽とを側方視において互いに重ねることで筐体の上下方向の寸法を小さくできることが開示されている。しかし特開2021-112654号公報の開示技術においては、滅菌器を効率よく搬送することは考慮されていない。
【0006】
本開示は上記の課題に鑑みなされたものである。本開示の目的は、効率よく搬送することが可能な滅菌器を提供することである。
【課題を解決するための手段】
【0007】
本開示に従った滅菌器は、第1収納部と、チャンバと、ヒータと、貯液槽とを備える。チャンバは第1収納部内に設置され、被滅菌物を収納可能である。ヒータはチャンバ内に供給される液体を加熱する。貯液槽はチャンバ内に供給される液体を貯留する。使用時における第1占有体積よりも非使用時における第2占有体積を小さくすることが可能である。
【発明の効果】
【0008】
本開示の滅菌器は、使用時における第1占有体積よりも搬送時等の非使用時における第2占有体積を小さくすることができる。このため滅菌器を効率よく搬送できる。
【図面の簡単な説明】
【0009】
実施の形態1に係る滅菌器の動作時の態様を簡略化した模式図である。
実施の形態1に係る滅菌器の搬送時の態様を簡略化した模式図である。
実施の形態1に係る滅菌器の動作時の外観態様を示す斜視図である。
実施の形態1に係る滅菌器の搬送時の外観態様を示す斜視図である。
図3および図4の第1収納部を上方から見た概略図である。
実施の形態1における扉が開き、ヒータなどを取付けるユニットが取り出される態様を示す斜視図である。
本実施の形態に係る滅菌器の配管の構成を示す模式図である。
本実施の形態に係る滅菌器の電気的構成を示すブロック図である。
実施の形態2に係る滅菌器の動作時の態様を簡略化した模式図である。
実施の形態2に係る滅菌器の搬送時の態様を簡略化した模式図である。
実施の形態2に係る滅菌器の動作時の外観態様を示す斜視図である。
実施の形態2に係る滅菌器の搬送時の外観態様を示す斜視図である。
実施の形態2におけるチャンバ内への蒸気の流入時の、チャンバの態様を示す概略断面図である。
実施の形態2におけるチャンバ内からの蒸気の排出時の、チャンバの態様を示す概略断面図である。
図14のように収縮されたチャンバが折り畳まれた第1収納部から取り出された態様を示す概略断面図である。
【発明を実施するための形態】
【0010】
以下、図面に基づいて本発明の実施の形態を説明する。
(実施の形態1)
<はじめに>
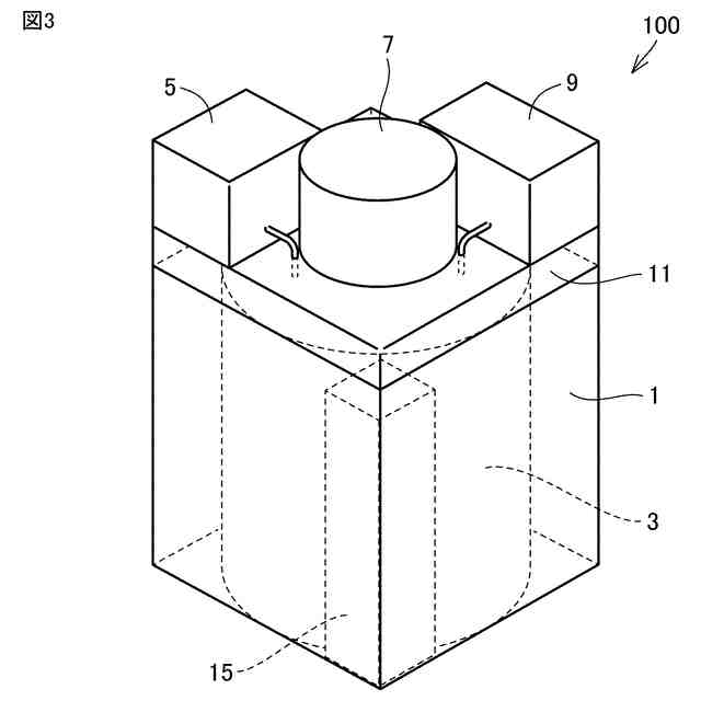
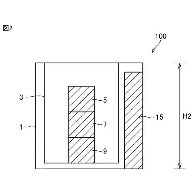
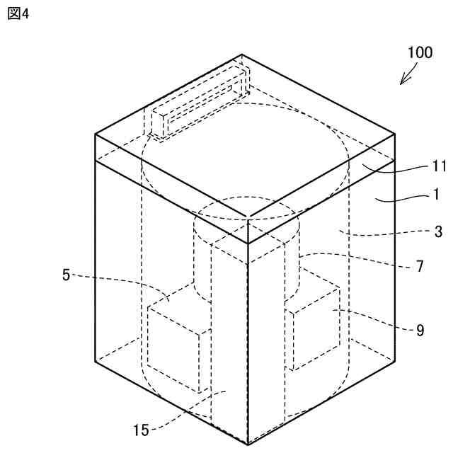
図1は、実施の形態1に係る滅菌器の動作時の態様を簡略化した模式図である。図2は、実施の形態1に係る滅菌器の搬送時の態様を簡略化した模式図である。図1および図2においては、当該滅菌器の特徴部分のみを抽出したものが、簡略化して示される。図1および図2に示されるように、本実施の形態に係る滅菌器100は、第1収納部1と、チャンバ3と、ヒータ5と、貯液槽7と、ポンプ9とを備える。第1収納部1は筐体である。チャンバ3は第1収納部1内に設置される。ヒータ5はチャンバ3内に供給される液体を加熱する。貯液槽7はチャンバ3内に供給される液体を貯留する。図1に示される、使用時における滅菌器100の第1占有体積よりも、図2に示される、非使用時における滅菌器100の第2占有体積を小さくすることが可能である。具体的には、図2に示されるように、搬送時などの滅菌器100の非使用時にはヒータ5、貯液槽7およびポンプ9がチャンバ3内に収納される。これにより滅菌器100は、非使用時における第2占有体積が使用時における第1占有体積より小さくなる。つまり図2の滅菌器100は、ヒータ5などがチャンバ3内に収納されているため、図1の滅菌器100に比べて全体的にサイズが小さい。たとえば図2での滅菌器100の高さ方向の寸法(全長)H2は、図1での同寸法(全長)H1よりも小さい。
(【0011】以降は省略されています)
この特許をJ-PlatPat(特許庁公式サイト)で参照する
関連特許
国立大学法人大阪大学
滅菌器
今日
国立大学法人大阪大学
モータ装置
2か月前
国立大学法人大阪大学
細胞シート
5か月前
国立大学法人大阪大学
歩行訓練装置
2日前
国立大学法人大阪大学
原子力発電装置
6か月前
国立大学法人大阪大学
ロボットハンド
3か月前
国立大学法人大阪大学
眼瞼痙攣緩和具
4か月前
国立大学法人大阪大学
発光タンパク質
7か月前
国立大学法人大阪大学
半月板の治療薬
2か月前
国立大学法人大阪大学
メタン反応装置
今日
国立大学法人大阪大学
内視鏡システム
6か月前
国立大学法人大阪大学
漏洩情報抑制回路
4か月前
国立大学法人大阪大学
動体視力向上用組成物
29日前
国立大学法人大阪大学
試料中の標的物質の検出
2か月前
国立大学法人大阪大学
化学反応方法及び反応装置
2か月前
トヨタ自動車株式会社
電池
5か月前
国立大学法人大阪大学
溶接装置および積層造形装置
今日
国立大学法人大阪大学
電気泳動装置および電気泳動法
3か月前
国立大学法人大阪大学
音声分析方法および音声分析装置
今日
大和ハウス工業株式会社
反応装置
6か月前
国立大学法人大阪大学
コネクタ取付具およびコネクタ部材
7か月前
大和ハウス工業株式会社
反応装置
2か月前
大和ハウス工業株式会社
反応装置
2か月前
国立大学法人大阪大学
CTAT電流生成回路及びBGR回路
1か月前
国立大学法人大阪大学
化合物の製造方法、及び金属多核錯体
3か月前
川崎重工業株式会社
ゼオライト触媒
2か月前
国立大学法人大阪大学
光発電システムの出力電力特性の最適化
7か月前
日本電信電話株式会社
量子鍵配送装置
7か月前
国立大学法人大阪大学
タンパク質間相互作用を可視化する方法
3か月前
国立大学法人大阪大学
溶融試料浮遊装置および溶融試料浮遊方法
2か月前
株式会社神戸製鋼所
ねじり疲労評価方法
6か月前
株式会社トクヤマ
ケトン誘導体の製造方法
1か月前
株式会社トクヤマ
ケトン誘導体の製造方法
4か月前
国立大学法人大阪大学
ナノダイヤモンドの製造方法および製造装置
5か月前
セイコーグループ株式会社
生体電位計測装置
2か月前
セイコーグループ株式会社
生体電位計測装置
2か月前
続きを見る
他の特許を見る