TOP
|
特許
|
意匠
|
商標
特許ウォッチ
Twitter
他の特許を見る
公開番号
2025181752
公報種別
公開特許公報(A)
公開日
2025-12-11
出願番号
2025088304
出願日
2025-05-27
発明の名称
溶接装置および積層造形装置
出願人
国立大学法人大阪大学
代理人
弁理士法人 HARAKENZO WORLD PATENT & TRADEMARK
主分類
B23K
9/173 20060101AFI20251204BHJP(工作機械;他に分類されない金属加工)
要約
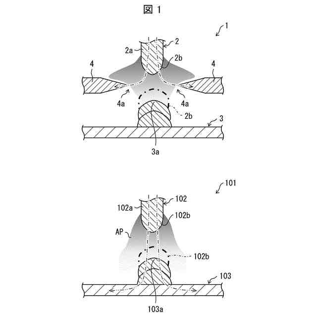
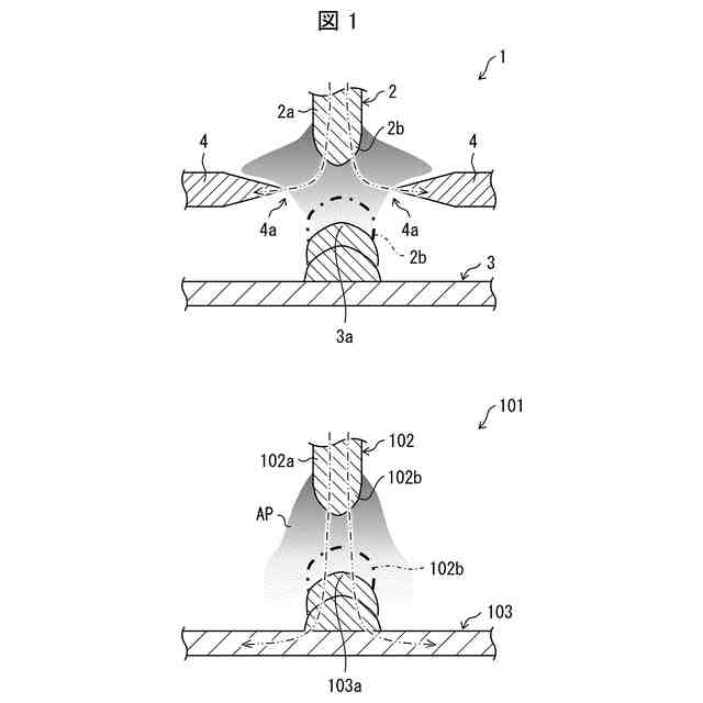
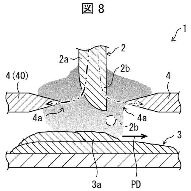
【課題】ワイヤおよび被溶接部材への入熱を良好に制御すると共に、造形の精度を向上させる。
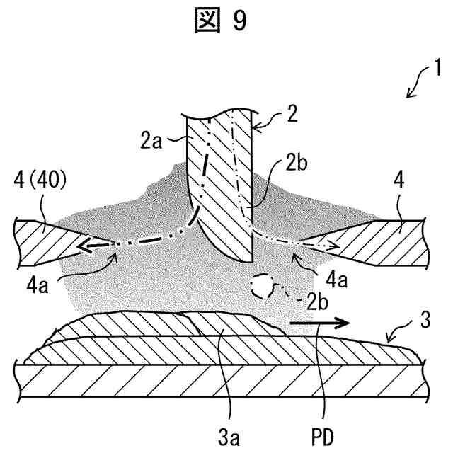
【解決手段】積層造形装置(1)は、フィラー材でありかつ陽極となるワイヤ(2)と、陰極となる2本の金属棒(4)と、を備え、ワイヤ(2)の先端部(2a)と2本の金属棒(4)の先端部(4a)との間のアーク放電により、ワイヤ(2)の先端部(2a)が溶融した溶融フィラー(2b)が、2本の金属棒(4)の先端部(4a)の間を通過するように、ワイヤ(2)および2本の金属棒(4)が配置されている。
【選択図】図1
特許請求の範囲
【請求項1】
フィラー材でありかつ陽極となるワイヤと、
陰極となる複数の金属棒と、を備え、
前記ワイヤの先端部と前記複数の金属棒の先端部との間のアーク放電により、前記ワイヤの先端部が溶融した溶融フィラーが、前記複数の金属棒の先端部の間を通過するように、前記ワイヤおよび前記複数の金属棒が配置されている、溶接装置。
続きを表示(約 830 文字)
【請求項2】
前記金属棒の数が2本であり、かつ、
2本の前記金属棒の先端部を結ぶ線分の中点を前記溶融フィラーが通過するように、前記ワイヤおよび前記複数の金属棒が配置されている、請求項1に記載の溶接装置。
【請求項3】
前記金属棒の数が3本以上であり、
複数の前記金属棒の先端部は、複数の前記金属棒の数が辺の数である正多角形の頂点に位置し、かつ、
前記正多角形の中心を前記溶融フィラーが通過するように、前記ワイヤおよび前記複数の金属棒が配置されている、請求項1に記載の溶接装置。
【請求項4】
前記ワイヤが延びる方向と、前記複数の金属棒のそれぞれが延びる方向とがなす角度は同じである、請求項1に記載の溶接装置。
【請求項5】
前記角度は、30°以上90°以下である、請求項4に記載の溶接装置。
【請求項6】
前記角度は、45°以上75°以下である、請求項5に記載の溶接装置。
【請求項7】
前記角度は、55°以上65°以下である、請求項6に記載の溶接装置。
【請求項8】
前記複数の金属棒は、タングステン、または、タングステンに対し酸化セリウム、酸化ランタン、酸化イットリウム、および酸化ジルコニウムの少なくとも1つが添加されたタングステン合金からなる、請求項1に記載の溶接装置。
【請求項9】
請求項1から8の何れか1項に記載の溶接装置と、
被溶接部材が載置されるステージと、を備え、
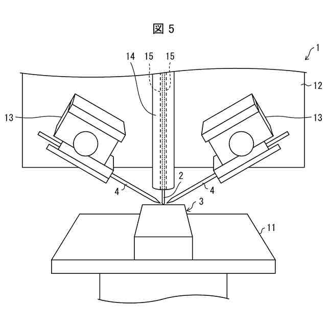
前記溶接装置および前記ステージの少なくとも一方は移動可能である、積層造形装置。
【請求項10】
前記ステージに前記被溶接部材が次々に載置される方向の反対方向に、前記溶接装置における少なくとも1つの金属棒の先端部が配置されている、請求項9に記載の積層造形装置。
(【請求項11】以降は省略されています)
発明の詳細な説明
【技術分野】
【0001】
本発明は溶接装置および積層造形装置に関する。
続きを表示(約 1,600 文字)
【背景技術】
【0002】
ワイヤ-アーク積層造形(Wire-Arc Additive Manufacturing、WAAM)プロセスは、溶接プロセスをベースとする金属積層造形プロセスである(非特許文献1)。WAAMでは、フィラー材であるワイヤと被溶接部材と間でアークプラズマを発生させる。或いは、被溶接部材の近くにワイヤを配置し、タングステン棒と被溶接部材との間でアークプラズマを発生させる。これにより、ワイヤの先端部と被溶接部材の一部とが溶融し、ワイヤの先端部の溶融フィラーが被溶接部材(母材)の溶融部に滴下することにより、溶融フィラーが上記溶融部と一体化し、凝固することで溶接される。これを繰り返すことにより、フィラーが積層されて、造形物が作製される。
【先行技術文献】
【非特許文献】
【0003】
S. W. Williams, et al., "Wire + Arc Additive Manufacturing", Materials Science and Technology, 2016, Vol. 32, p. 641-647
【発明の概要】
【発明が解決しようとする課題】
【0004】
現在、実用化されている3D金属プリンタは、金属粉末を敷いた領域にレーザ等で熱エネルギーを与え、溶融接合させて層を積み重ねる一方、接合していない金属粉末を除去するPBF(Powder Bed Fusion)方式で造形している。しかしながら、上記PBFでは、大型の造形物の作製が困難である、造形スピードが極めて遅い、などの問題があった。これに対して、上記WAAMは、上記PBFに比べて、大型の造形物を効率よく作製できる一方、造形の精度が悪いという問題があり、また、ワイヤおよび被溶接部材への入熱の制御に問題があった。
【0005】
本発明の一態様は、ワイヤおよび被溶接部材への入熱を良好に制御すると共に、造形の精度を向上させることを目的とする。
【課題を解決するための手段】
【0006】
上記の課題を解決するために、本発明の一態様に係る溶接装置は、フィラー材でありかつ陽極となるワイヤと、陰極となる複数の金属棒と、を備え、前記ワイヤの先端部と前記複数の金属棒の先端部との間のアーク放電により、前記ワイヤの先端部が溶融した溶融フィラーが、前記複数の金属棒の先端部の間を通過するように、前記ワイヤおよび前記複数の金属棒が配置されている。
【0007】
前記溶接装置において、前記金属棒の数が2本であり、かつ、2本の前記金属棒の先端部を結ぶ線分の中点を前記溶融フィラーが通過するように、前記ワイヤおよび前記複数の金属棒が配置されていてもよい。
【0008】
前記溶接装置において、前記金属棒の数が3本以上であり、複数の前記金属棒の先端部は、複数の前記金属棒の数が辺の数である正多角形の頂点に位置し、かつ、前記正多角形の中心を前記溶融フィラーが通過するように、前記ワイヤおよび前記複数の金属棒が配置されていてもよい。
【0009】
前記溶接装置において、前記ワイヤが延びる方向と、前記複数の金属棒のそれぞれが延びる方向とがなす角度は同じであってもよい。前記角度は、30°以上90°以下であってもよいし、45°以上75°以下であってもよいし、55°以上65°以下であってもよい。
【0010】
前記溶接装置において、前記複数の金属棒は、タングステン、または、タングステンに対し酸化セリウム、酸化ランタン、酸化イットリウム、および酸化ジルコニウムの少なくとも1つが添加されたタングステン合金からなってもよい。
(【0011】以降は省略されています)
この特許をJ-PlatPat(特許庁公式サイト)で参照する
関連特許
国立大学法人大阪大学
滅菌器
今日
国立大学法人大阪大学
細胞シート
5か月前
国立大学法人大阪大学
モータ装置
2か月前
国立大学法人大阪大学
歩行訓練装置
2日前
国立大学法人大阪大学
ロボットハンド
3か月前
国立大学法人大阪大学
半月板の治療薬
2か月前
国立大学法人大阪大学
メタン反応装置
今日
国立大学法人大阪大学
内視鏡システム
6か月前
国立大学法人大阪大学
眼瞼痙攣緩和具
4か月前
国立大学法人大阪大学
漏洩情報抑制回路
4か月前
国立大学法人大阪大学
動体視力向上用組成物
29日前
国立大学法人大阪大学
試料中の標的物質の検出
2か月前
国立大学法人大阪大学
化学反応方法及び反応装置
2か月前
国立大学法人大阪大学
溶接装置および積層造形装置
今日
トヨタ自動車株式会社
電池
5か月前
国立大学法人大阪大学
電気泳動装置および電気泳動法
3か月前
国立大学法人大阪大学
音声分析方法および音声分析装置
今日
大和ハウス工業株式会社
反応装置
6か月前
大和ハウス工業株式会社
反応装置
2か月前
大和ハウス工業株式会社
反応装置
2か月前
川崎重工業株式会社
ゼオライト触媒
2か月前
国立大学法人大阪大学
CTAT電流生成回路及びBGR回路
1か月前
国立大学法人大阪大学
化合物の製造方法、及び金属多核錯体
3か月前
国立大学法人大阪大学
タンパク質間相互作用を可視化する方法
3か月前
株式会社神戸製鋼所
ねじり疲労評価方法
6か月前
国立大学法人大阪大学
溶融試料浮遊装置および溶融試料浮遊方法
2か月前
国立大学法人大阪大学
ナノダイヤモンドの製造方法および製造装置
5か月前
株式会社トクヤマ
ケトン誘導体の製造方法
1か月前
株式会社トクヤマ
ケトン誘導体の製造方法
4か月前
国立大学法人大阪大学
接合体及びその製造方法、ならびに接合ツール
今日
国立大学法人大阪大学
量子ビット制御装置および量子コンピューター
6日前
株式会社ジャパンディスプレイ
液晶光学素子
6か月前
セイコーグループ株式会社
生体電位計測装置
2か月前
セイコーグループ株式会社
生体電位計測装置
2か月前
株式会社アイシン
フッ化物イオン電池用電解液
2か月前
日東紡績株式会社
二酸化炭素の吸収又は脱着剤
4か月前
続きを見る
他の特許を見る