TOP
|
特許
|
意匠
|
商標
特許ウォッチ
Twitter
他の特許を見る
10個以上の画像は省略されています。
公開番号
2025180908
公報種別
公開特許公報(A)
公開日
2025-12-11
出願番号
2024088593
出願日
2024-05-31
発明の名称
メタン反応装置
出願人
国立大学法人大阪大学
代理人
弁理士法人ユニアス国際特許事務所
主分類
C07C
29/48 20060101AFI20251204BHJP(有機化学)
要約
【課題】メタンと酸化塩素系材料とを効率的に化学反応させるメタン反応装置を提供する。
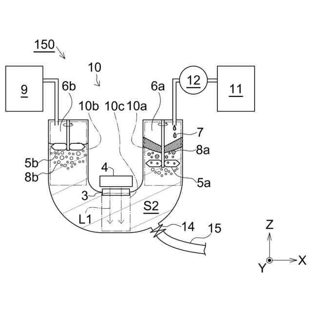
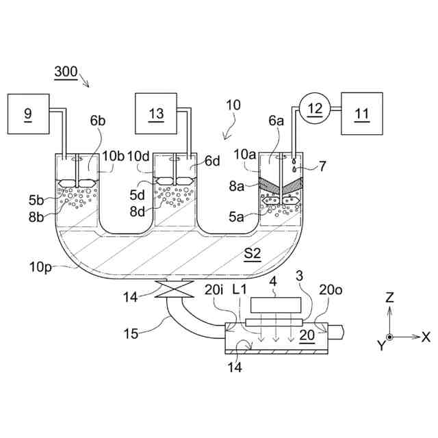
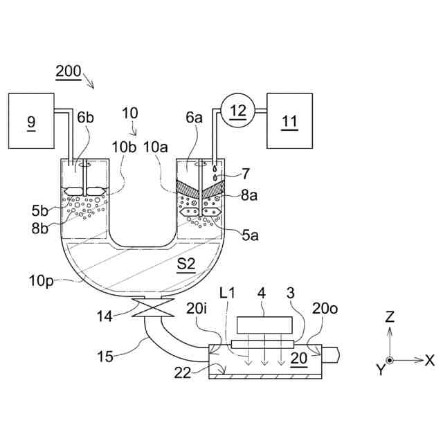
【解決手段】メタンと酸化塩素系材料とを溶媒内で化学反応させてメタンを酸化させるメタン反応装置であって、前記メタン反応装置は、第一溶質として酸化塩素系材料を前記溶媒に溶解させる第一溶解部と、前記第一溶解部から離れた位置にあり、かつ、第二溶質として前記メタンを前記溶媒に溶解させる第二溶解部であって、前記第二溶解部では、前記メタンの気相が前記第一溶解部から分離して形成されている、第二溶解部と、前記第一溶解部及び前記第二溶解部から離れた位置にあり、かつ、前記第一溶質と前記第二溶質とを含む混合液に光源からの光が照射される光照射部と、を備える。
【選択図】図1B
特許請求の範囲
【請求項1】
メタンと酸化塩素系材料とを溶媒内で化学反応させてメタンを酸化させるメタン反応装置であって、前記メタン反応装置は、
第一溶質として酸化塩素系材料を前記溶媒に溶解させる第一溶解部と、
前記第一溶解部から離れた位置にあり、かつ、第二溶質として前記メタンを前記溶媒に溶解させる第二溶解部であって、前記第二溶解部では、前記メタンの気相が前記第一溶解部から分離して形成されている、第二溶解部と、
前記第一溶解部、及び前記第二溶解部から離れた位置にあり、かつ、前記第一溶質と前記第二溶質とを含む混合液に光源からの光が照射される光照射部と、
を備えることを特徴とする、メタン反応装置。
続きを表示(約 830 文字)
【請求項2】
第三溶質として酸素を前記溶媒に溶解させる酸素溶解部を備え、
前記光照射部では、前記第一溶質と前記第二溶質と前記第三溶質とを含む混合液に前記光が照射されることを特徴とする、請求項1に記載のメタン反応装置。
【請求項3】
前記光照射部は、前記第二溶解部を含む容器に接続される配管、又は当該配管の下流に位置することを特徴とする、請求項1又は2に記載のメタン反応装置。
【請求項4】
前記光照射部の上流に、前記混合液に含まれる気泡を除去する気泡除去部を備えていることを特徴とする、請求項1又は2に記載のメタン反応装置。
【請求項5】
前記気泡除去部で除去した気泡を前記第一溶解部に供給する、第一戻り流路を備えることを特徴とする、請求項4に記載のメタン反応装置。
【請求項6】
前記光照射部から排出される混合液を前記第一溶解部に供給する、第二戻り流路を備えることを特徴とする、請求項1又は2に記載のメタン反応装置。
【請求項7】
前記第一溶解部が、撹拌子を備えることを特徴とする、請求項1又は2に記載のメタン反応装置。
【請求項8】
前記第二溶解部が、撹拌子、メタンバブル含有液供給口、又は、及び昇圧機構、の少なくとも一つを備えることを特徴とする、請求項1又は2に記載のメタン反応装置。
【請求項9】
前記酸素溶解部が、溶解場に設けられた撹拌子、酸素バブル含有液供給口、又は、及び昇圧機構、の少なくとも一つを備えることを特徴とする、請求項2に記載のメタン反応装置。
【請求項10】
前記第一溶解部と前記第二溶解部とは異なる場所で、前記第一溶質を溶解させた溶液と、前記第二溶質を溶解させた溶液が混合される混合部を備えることを特徴とする請求項1又は2に記載のメタン反応装置。
(【請求項11】以降は省略されています)
発明の詳細な説明
【技術分野】
【0001】
この発明は、メタン反応装置に関する。
続きを表示(約 1,800 文字)
【背景技術】
【0002】
光を使用して液中に溶解する材料の化学反応を促進する方法が、様々な分野で知られている。例えば、特許文献1には、ダイオキシン類と、アルコールを混合して撹拌しながら、低圧水銀ランプにより紫外線(UV250nm)を照射して、ダイオキシン類を分解する技術が記載されている。
【先行技術文献】
【特許文献】
【0003】
特開2008-068227号公報
【発明の概要】
【発明が解決しようとする課題】
【0004】
本発明者らは、メタンと酸化塩素系材料を使用した場合の化学反応について研究を重ね、当該化学反応に適した高効率のメタン反応装置を検討した。
【0005】
メタン反応装置について検討した理由を説明する。例えば、生ごみや畜産動物の排泄物から多量に生成されるメタンガスは、地球温暖化の原因となる温室効果ガスとして知られており、大気にそのまま放出すれば、地球温暖化係数も二酸化炭素の25倍と言われている。メタンガスを燃焼させてから放出しても、多量の二酸化炭素を大気中に放出することになる。さらに、メタンガスは常温・常圧で気体であるが、気体のまま運搬することは、運送効率が悪く、保存が困難である。メタンガスを固定化することで温室効果ガスを削減し、メタンガスの運送効率や保存の容易性を向上させ、地球温暖化対策に貢献する。
【0006】
加えて、メタンに反応させる物質として酸化塩素系材料を使用する場合には、メタンを固定化して産業上有用な物質に変換することが期待される。産業上有用な物質に変換して市場に提供することで得られる利益を見込んで、メタンを固定化するための装置を導入するための投資を呼び込むことができる。つまり、メタンの固定化がビジネスとして成立し得る。
【0007】
本発明は、メタンと酸化塩素系材料とを効率的に化学反応させるメタン反応装置を提供することを目的とする。メタン反応装置を提供し、提供したメタン反応装置を使用してメタンを固定化することは、国連が主導する持続可能な開発目標(SDGs)の目標13「気候変動及びその影響を軽減するための緊急対策を講じる」に貢献するものである。
【課題を解決するための手段】
【0008】
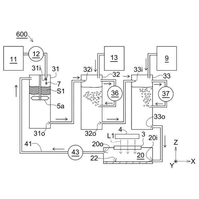
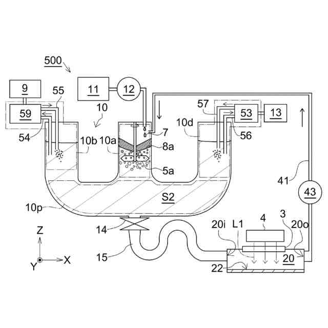
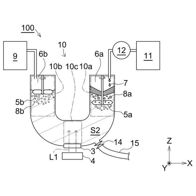
本発明のメタン反応装置は、メタンと酸化塩素系材料とを溶媒内で化学反応させてメタンを酸化させるメタン反応装置であって、前記メタン反応装置は、
第一溶質として酸化塩素系材料を前記溶媒に溶解させる第一溶解部と、
前記第一溶解部から離れた位置にあり、かつ、第二溶質として前記メタンを前記溶媒に溶解させる第二溶解部であって、前記第二溶解部では、前記メタンの気相が前記第一溶解部から分離して形成されている、第二溶解部と、
前記第一溶解部、及び前記第二溶解部から離れた位置にあり、かつ、前記第一溶質と前記第二溶質とを含む混合液に光源からの光が照射される光照射部と、
を備える。
【0009】
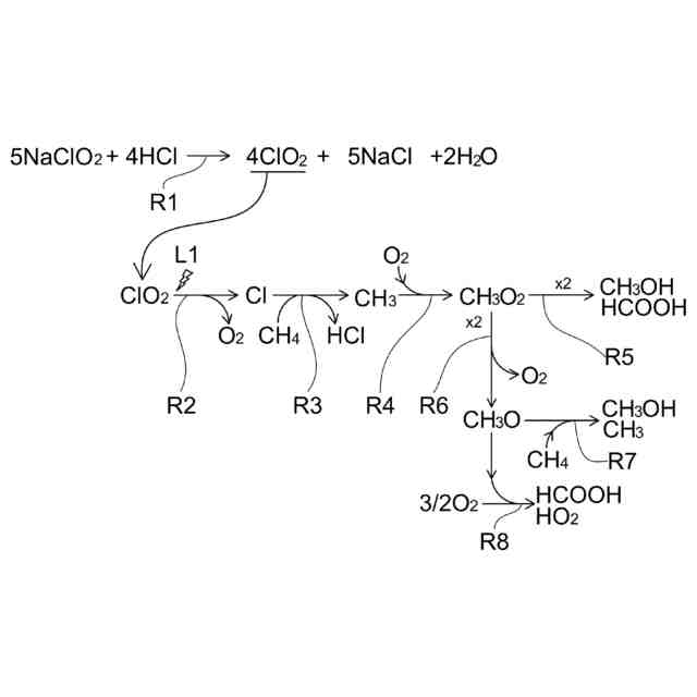
本発明者らが前記メタン反応装置を案出するに到った経緯を説明する。メタンは、フルオラス溶媒に溶解する。酸化塩素系材料は、水や塩化水素水溶液等の溶媒に溶解しやすい。酸化塩素系材料(例えば、亜塩素酸ナトリウム)が溶解する過程で、酸化塩素系材料として二酸化塩素(二酸化塩素ラジカル)が生成される。この二酸化塩素は、フルオラス溶媒にも溶解されやすい。そこで、溶媒として、酸化塩素系材料を溶解する溶媒とフルオラス溶媒の両方を使用すれば、メタンと酸化塩素系材料の両方を溶媒に溶解させることができる。そして、詳細は後述するが、溶媒内にメタンと酸化塩素系材料の両方を溶解した混合液を作製し、容器内の前記混合液に光を照射して、塩素ラジカルを生成し、生成した塩素ラジカルでメタンを酸化させる。酸化されたメタンは、最終的に、メタノール及びギ酸という産業上有用な物質に変換される。
【0010】
容器内でメタンと酸化塩素系材料とを含む混合液を効率的に化学反応させるには、混合液中の酸化塩素系材料を高濃度にすることが想起される。しかしながら、本発明者らの鋭意研究の結果、以下のことが分かった。
(【0011】以降は省略されています)
この特許をJ-PlatPat(特許庁公式サイト)で参照する
関連特許
国立大学法人大阪大学
滅菌器
今日
国立大学法人大阪大学
モータ装置
2か月前
国立大学法人大阪大学
細胞シート
5か月前
国立大学法人大阪大学
歩行訓練装置
2日前
国立大学法人大阪大学
原子力発電装置
6か月前
国立大学法人大阪大学
ロボットハンド
3か月前
国立大学法人大阪大学
眼瞼痙攣緩和具
4か月前
国立大学法人大阪大学
発光タンパク質
7か月前
国立大学法人大阪大学
半月板の治療薬
2か月前
国立大学法人大阪大学
メタン反応装置
今日
国立大学法人大阪大学
内視鏡システム
6か月前
国立大学法人大阪大学
漏洩情報抑制回路
4か月前
国立大学法人大阪大学
動体視力向上用組成物
29日前
国立大学法人大阪大学
試料中の標的物質の検出
2か月前
国立大学法人大阪大学
化学反応方法及び反応装置
2か月前
トヨタ自動車株式会社
電池
5か月前
国立大学法人大阪大学
溶接装置および積層造形装置
今日
国立大学法人大阪大学
電気泳動装置および電気泳動法
3か月前
国立大学法人大阪大学
音声分析方法および音声分析装置
今日
大和ハウス工業株式会社
反応装置
6か月前
国立大学法人大阪大学
コネクタ取付具およびコネクタ部材
7か月前
大和ハウス工業株式会社
反応装置
2か月前
大和ハウス工業株式会社
反応装置
2か月前
国立大学法人大阪大学
CTAT電流生成回路及びBGR回路
1か月前
国立大学法人大阪大学
化合物の製造方法、及び金属多核錯体
3か月前
川崎重工業株式会社
ゼオライト触媒
2か月前
国立大学法人大阪大学
光発電システムの出力電力特性の最適化
7か月前
日本電信電話株式会社
量子鍵配送装置
7か月前
国立大学法人大阪大学
タンパク質間相互作用を可視化する方法
3か月前
国立大学法人大阪大学
溶融試料浮遊装置および溶融試料浮遊方法
2か月前
株式会社神戸製鋼所
ねじり疲労評価方法
6か月前
株式会社トクヤマ
ケトン誘導体の製造方法
1か月前
株式会社トクヤマ
ケトン誘導体の製造方法
4か月前
国立大学法人大阪大学
ナノダイヤモンドの製造方法および製造装置
5か月前
セイコーグループ株式会社
生体電位計測装置
2か月前
セイコーグループ株式会社
生体電位計測装置
2か月前
続きを見る
他の特許を見る