TOP
|
特許
|
意匠
|
商標
特許ウォッチ
Twitter
他の特許を見る
公開番号
2025179580
公報種別
公開特許公報(A)
公開日
2025-12-10
出願番号
2024086421
出願日
2024-05-28
発明の名称
合金部材、接合体、装置、合金部材の製造方法および接合体の製造方法
出願人
キヤノン株式会社
代理人
個人
,
個人
,
個人
,
個人
,
個人
主分類
C22C
23/00 20060101AFI20251203BHJP(冶金;鉄または非鉄合金;合金の処理または非鉄金属の処理)
要約
【課題】 樹脂膜との密着性に優れた合金部材を提供する。
【解決手段】 マグネシウムおよびリチウムを含有する基材101と、基材101上に設けられ、マグネシウム、リンおよびフッ素を含有する防食膜102と、を備える合金部材200である。防食膜102は、基材101と反対側の表面に少なくとも1つの第1の凹部111を有し、第1の凹部の表面は、第1の凹部よりも小さい少なくとも1つの第2の凹部112を有することを特徴とする。
【選択図】 図8
特許請求の範囲
【請求項1】
マグネシウムおよびリチウムを含有する基材と、
前記基材上に設けられ、マグネシウム、リンおよびフッ素を含有する防食膜と、を備える合金部材であって、
前記防食膜は、前記基材と反対側の表面に少なくとも1つの第1の凹部を有し、
前記第1の凹部の表面は、前記第1の凹部よりも小さい少なくとも1つの第2の凹部を有する、
ことを特徴とする合金部材。
続きを表示(約 660 文字)
【請求項2】
前記第1の凹部の平均円相当径が30μm以上である請求項1に記載の合金部材。
【請求項3】
前記第2の凹部の平均円相当径が10μm以下である請求項1に記載の合金部材。
【請求項4】
前記第1の凹部を埋める仮想平面における第1の法線および、前記第2の凹部を埋める仮想平面における第2の法線と、が交差する請求項1に記載の合金部材。
【請求項5】
隣り合う前記第1の凹部どうしの間隔は、前記隣り合う第1の凹部の各々の平均円相当径以上である請求項1に記載の合金部材。
【請求項6】
前記第1の凹部の表面および前記第2の凹部の表面におけるフッ素の含有割合は、前記防食膜の表面の前記第1の凹部および前記第2の凹部以外の領域におけるフッ素の含有割合より大きい請求項1に記載の合金部材。
【請求項7】
前記防食膜の膜厚が20μm以上である請求項1に記載の合金部材。
【請求項8】
前記基材において、前記マグネシウムの含有量および前記リチウムの含有量の和が90質量%以上である請求項1に記載の合金部材。
【請求項9】
前記基材において、前記リチウムの含有量が0.5質量%以上15質量%以下の範囲である請求項8に記載の合金部材。
【請求項10】
前記基材において、前記リチウムの含有量が5質量%以上11質量%以下の範囲である請求項9に記載の合金部材。
(【請求項11】以降は省略されています)
発明の詳細な説明
【技術分野】
【0001】
本開示は、マグネシウムおよびリチウムを含有する合金部材、接合体、装置、合金部材の製造方法および接合体の製造方法に関する。
続きを表示(約 1,500 文字)
【背景技術】
【0002】
マグネシウムおよびリチウムを含有するマグネシウムリチウム合金は、軽量であり、かつ、機械強度に優れることから様々な物品に使用されている。また、軽量化が要求される物品においては、ビスによる締結を回避し、接着剤を硬化させた接合樹脂を介して2つの部材を接合することが知られている。
【0003】
しかし、マグネシウムを含有する合金からなる合金部材を接合樹脂により他の部材と接合すると、合金部材と接合樹脂との界面に脆弱な層が形成され、所望の接着強度が得られないことが知られている。特許文献1には陽極酸化処理の1つであるマイクロアーク酸化(Micrо Arc Oxidatiоn)処理により、マグネシウムを主成分とする合金の表面に多孔質の酸化マグネシウム層を設け、接着強度を向上させる技術が開示されている。
【先行技術文献】
【特許文献】
【0004】
特開2007-308757号公報
【発明の概要】
【発明が解決しようとする課題】
【0005】
特許文献1に開示された方法では、多孔質層の孔径が十分に大きくできないため、接着剤の硬化物である接合樹脂の密着性が十分でないことがあった。また、この合金に樹脂材料を硬化させた樹脂塗膜を形成しても剥がれてしまうことがあった。
【課題を解決するための手段】
【0006】
上記課題を解決するための第一の態様は、マグネシウムおよびリチウムを含有する基材と、前記基材上に設けられ、マグネシウム、リンおよびフッ素を含有する防食膜と、を備える合金部材であって、前記防食膜は、前記基材と反対側の表面に少なくとも1つの第1の凹部を有し、前記第1の凹部の表面は、前記第1の凹部よりも小さい少なくとも1つの第2の凹部を有する、ことを特徴とする合金部材である。
【0007】
上記課題を解決するための第二の態様は、上記合金部材と、被接合部材と、前記合金部材および前記被接合部材とを接合する接合樹脂と、を備えた接合体であって、前記接合樹脂の一部が、前記第1の凹部および前記第2の凹部に設けられていることを特徴とする接合体である。
【0008】
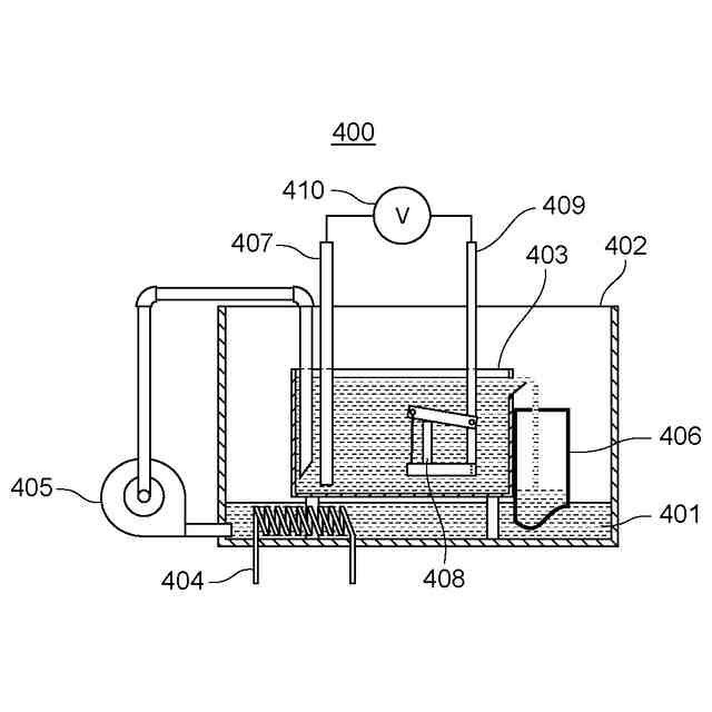
上記課題を解決するための第三の態様は、電解液中に陽極と陰極を配置する工程と、前記陽極と前記陰極との間に電圧を印加して、前記陽極に防食膜を形成する工程と、を含む合金部材の製造方法であって、前記陽極が、マグネシウムおよびリチウムを含有し、前記電解液が、フッ素、アンモニウムおよびリンと、を含有し、前記電解液におけるリン酸イオンとフッ素イオンの総和に対するフッ素イオンの含有割合が88%以上99.5%以下の範囲であることを特徴とする合金部材の製造方法である。
【0009】
上記課題を解決するための第四の態様は、合金部材と、被接合部材と、を、接着剤を介して接合する接合体の製造方法であって、上記合金部材の製造方法で合金部材を用意する工程と、前記合金部材および/または前記被接合部材に接着剤を載置する工程と、前記接着剤を硬化し、前記合金部材と、前記被接合部材と、を接合する接合樹脂を形成する工程と、を含むことを特徴とする接合体の製造方法である。
【発明の効果】
【0010】
本開示によれば、樹脂膜との密着性に優れた合金部材と、合金部材と接合樹脂との密着性に優れた接合体と、を提供することができる。
【図面の簡単な説明】
(【0011】以降は省略されています)
この特許をJ-PlatPat(特許庁公式サイト)で参照する
関連特許
キヤノン株式会社
顕微鏡
1日前
キヤノン株式会社
定着装置
1日前
キヤノン株式会社
記録装置
2日前
キヤノン株式会社
撮像装置
1日前
キヤノン株式会社
撮像装置
1日前
キヤノン株式会社
記録装置
1日前
キヤノン株式会社
記録装置
1日前
キヤノン株式会社
記録装置
1日前
キヤノン株式会社
記録装置
1日前
キヤノン株式会社
撮像装置
1日前
キヤノン株式会社
記録装置
1日前
キヤノン株式会社
インク容器
1日前
キヤノン株式会社
画像形成装置
1日前
キヤノン株式会社
画像形成装置
1日前
キヤノン株式会社
液体吐出装置
1日前
キヤノン株式会社
画像形成装置
1日前
キヤノン株式会社
画像形成装置
1日前
キヤノン株式会社
画像形成装置
1日前
キヤノン株式会社
画像形成装置
1日前
キヤノン株式会社
シート接着装置
1日前
キヤノン株式会社
シート処理装置
1日前
キヤノン株式会社
測距装置及び方法
1日前
キヤノン株式会社
露光装置の製造方法
1日前
キヤノン株式会社
光電変換装置、機器
1日前
キヤノン株式会社
光源装置及び測距装置
1日前
キヤノン株式会社
定着ベルト、及び定着装置
1日前
キヤノン株式会社
露光装置および画像形成装置
1日前
キヤノン株式会社
露光装置および画像形成装置
1日前
キヤノン株式会社
露光装置および画像形成装置
1日前
キヤノン株式会社
光電変換装置、機器、移動体
1日前
キヤノン株式会社
露光ヘッド及び画像形成装置
2日前
キヤノン株式会社
露光ヘッド及び画像形成装置
2日前
キヤノン株式会社
画像形成装置及び電装ユニット
1日前
キヤノン株式会社
通信装置、制御方法、プログラム
1日前
キヤノン株式会社
露光装置の製造方法及び露光装置
1日前
キヤノン株式会社
画像処理装置および画像処理方法
1日前
続きを見る
他の特許を見る