TOP
|
特許
|
意匠
|
商標
特許ウォッチ
Twitter
他の特許を見る
公開番号
2025178767
公報種別
公開特許公報(A)
公開日
2025-12-09
出願番号
2024085574
出願日
2024-05-27
発明の名称
フロントターンランプ、車両用前照灯
出願人
スタンレー電気株式会社
代理人
弁理士法人むつきパートナーズ
主分類
B60Q
1/34 20060101AFI20251202BHJP(車両一般)
要約
【課題】フロントターンランプが点灯している実感をより得られやくすること。
【解決手段】車両の前部において一対の前照灯のそれぞれと近接し又は前照灯と一体に配置されるフロントターンランプであって、前記フロントターンランプのスクリーン上の配光パターンとしてフロントターン配光規格範囲内において、水平線と鉛直線とが交わる中央部近傍に第1光度ピークを有し、前記車両正面から側方側に離れる方の角度位置に第2光度ピークを有する、フロントターンランプである。
【選択図】図3
特許請求の範囲
【請求項1】
車両の前部において一対の前照灯のそれぞれと近接し又は前照灯と一体に配置されるフロントターンランプであって、
前記フロントターンランプの仮想スクリーン上の配光パターンとしてフロントターン配光規格範囲内において、水平線と鉛直線とが交わる中央部近傍に第1光度ピークを有し、前記車両正面から側方側に離れる方の角度位置に第2光度ピークを有することを特徴とする、
フロントターンランプ。
続きを表示(約 2,100 文字)
【請求項2】
前記フロントターンランプは、
前記車両における左側と右側のうち運転席が配置された側ではない第1側に配置されており、前記第1側の斜め前方から側方にかけての第1範囲を含む領域に第1点滅光を照射可能に構成された第1フロントターンランプと、
前記第1側と反対の第2側に配置されており、前記第2側の斜め前方から側方にかけての第2範囲を含む領域に第2点滅光を照射可能に構成された第2フロントターンランプと、
を含み、
前記第1範囲は、前記第1フロントターンランプの仮想スクリーン上の範囲であり、前記車両の前後方向と平行であって前記第1フロントターンランプの所定位置を通る軸を基準に前記第1側において80°から30°までの範囲内かつ鉛直方向において上側15°から下側15°までの範囲内に設定されており、前記第1フロントターンランプの前記第2光度ピークは前記第1範囲内に含まれ、
前記第2範囲は、前記第2フロントターンランプの仮想スクリーン上の範囲であり、前記前後方向と平行であって前記第2フロントターンランプの所定位置を通る軸を基準に前記第2側において80°から30°の範囲内かつ前記鉛直方向において上側15°から下側15°の範囲内に設定されており、前記前記第2フロントターンランプの前記第2光度ピークは前記第2範囲内に含まれる、
請求項1に記載のフロントターンランプ。
【請求項3】
車両の前部において一対の前照灯のそれぞれと近接し又は前照灯と一体に配置されるフロントターンランプであって、
前記フロントターンランプは、
前記車両における左側と右側のうち運転席が配置された側ではない第1側に配置されており、前記第1側の斜め前方から側方にかけての第1範囲を含む領域に第1点滅光を照射可能に構成された第1フロントターンランプと、
前記第1側と反対の第2側に配置されており、前記第2側の斜め前方から側方にかけての第2範囲を含む領域に第2点滅光を照射可能に構成された第2フロントターンランプと、
を含み、
前記第1範囲は、前記第1フロントターンランプの仮想スクリーン上の範囲であり、前記車両の前後方向と平行であって前記第1フロントターンランプの所定位置を通る軸を基準に前記第1側において80°から30°までの範囲に渡って設定され、前記第1範囲には、前記第1フロントターンランプによる前記第1点滅光の照射時に100cd以上の連続した光度帯が形成され、
前記第2範囲は、前記第2フロントターンランプの仮想スクリーン上の範囲であり、前記前後方向と平行であって前記第2フロントターンランプの所定位置を通る軸を基準に前記第2側において80°から30°の範囲に渡って設定され、前記第2範囲には、前記第2フロントターンランプによる前記第2点滅光の照射時に100cd以上の連続した光度帯が形成される、
フロントターンランプ。
【請求項4】
前記第1範囲が70°から35°までの範囲内に設定されている、
請求項2又は3に記載のフロントターンランプ。
【請求項5】
前記第1範囲と前記第2範囲の各々の前記鉛直方向における範囲が上側15°から0°までの範囲内に設定されている、
請求項2又は3に記載のフロントターンランプ。
【請求項6】
前記第1範囲と前記第2範囲の各々の前記鉛直方向における範囲が上側5°から0°までの範囲内に設定されている、
請求項2又は3に記載のフロントターンランプ。
【請求項7】
前記第1点滅光及び前記第2点滅光の各々がアンバー色の光である、
請求項2又は3に記載のフロントターンランプ。
【請求項8】
前記第1点滅光は、前記第1範囲内の少なくとも一部において100cd以上の光度であり、
前記第2点滅光は、前記第2範囲内の少なくとも一部において100cd以上の光度である、
請求項2又は3に記載のフロントターンランプ。
【請求項9】
請求項1又は3に記載のフロントターンランプと、
前記フロントターンランプと接続されたコントローラと、
前記コントローラと接続された降雨センサと、
を更に含み、
前記コントローラは、前記降雨センサの検出結果に基づいて前記自車両周辺が雨天であると推定される場合に前記フロントターンランプを動作させる、
車両用前照灯。
【請求項10】
請求項1又は3に記載のフロントターンランプと、
前記フロントターンランプと接続されたコントローラと、
前記コントローラを接続された照度センサと、
を更に含み、
前記コントローラは、前記照度センサの検出結果に基づいて前記自車両周辺が夜間であると推定される場合に前記フロントターンランプを動作させる、
車両用前照灯。
発明の詳細な説明
【技術分野】
【0001】
本開示は、フロントターンランプ、車両用前照灯に関する。
続きを表示(約 2,600 文字)
【背景技術】
【0002】
特許第5664900号公報(特許文献1)には、フロントターンランプ用配光を形成可能に構成された車両用光学ユニットが記載されている。この車両用光学ユニットによって形成されるフロントターンランプ用配光において光度が100cdを超える照射領域は、概ね鉛直方向において水平線の上方20°~下方10°の範囲、水平方向において左右ともに鉛直方向を基準にそれぞれ23°の範囲である。この照射領域は、フロントターンランプ用配光としては一般的なものである。
【0003】
ところで、上記したフロントターンランプ用配光にて点灯(点滅)するフロントターンランプを用いている場合、自車両の運転者の視点で考えると、フロントターンランプによる照射光が見えにくくフロントターンランプが点灯している実感を得られにくい。このため、運転者におけるフロントターンランプの点け忘れや消し忘れを生じ得る。
【先行技術文献】
【特許文献】
【0004】
特許第5664900号公報
【発明の概要】
【発明が解決しようとする課題】
【0005】
本開示に係る具体的態様は、フロントターンランプが点灯している実感をより得られやくする技術を提供することを目的の1つとする。
【課題を解決するための手段】
【0006】
[1]本開示に係る一態様のフロントターンランプは、
車両の前部において一対の前照灯のそれぞれと近接し又は前照灯と一体に配置されるフロントターンランプであって、
前記フロントターンランプの仮想スクリーン上の配光パターンとしてフロントターン配光規格範囲内において、水平線と鉛直線とが交わる中央部近傍に第1光度ピークを有し、前記車両正面から側方側に離れる方の角度位置に第2光度ピークを有することを特徴とする、
フロントターンランプである。
[2]本開示に係る他態様のフロントターンランプは、
車両の前部において一対の前照灯のそれぞれと近接し又は前照灯と一体に配置されるフロントターンランプであって、
前記フロントターンランプは、
前記車両における左側と右側のうち運転席が配置された側ではない第1側に配置されており、前記第1側の斜め前方から側方にかけての第1範囲を含む領域に第1点滅光を照射可能に構成された第1フロントターンランプと、
前記第1側と反対の第2側に配置されており、前記第2側の斜め前方から側方にかけての第2範囲を含む領域に第2点滅光を照射可能に構成された第2フロントターンランプと、
を含み、
前記第1範囲は、前記第1フロントターンランプの仮想スクリーン上の範囲であり、前記車両の前後方向と平行であって前記第1フロントターンランプの所定位置を通る軸を基準に前記第1側において80°から30°までの範囲に渡って設定され、前記第1範囲には、前記第1フロントターンランプによる前記第1点滅光の照射時に100cd以上の連続した光度帯が形成され、
前記第2範囲は、前記第2フロントターンランプの仮想スクリーン上の範囲であり、前記前後方向と平行であって前記第2フロントターンランプの所定位置を通る軸を基準に前記第2側において80°から30°の範囲に渡って設定され、前記第2範囲には、前記第2フロントターンランプによる前記第2点滅光の照射時に100cd以上の連続した光度帯が形成される、
フロントターンランプである。
[3]本開示に係る一態様の車両用前照灯は、
前記[1]又は[2]に記載のフロントターンランプと、
前記フロントターンランプと接続されたコントローラと、
前記コントローラと接続された降雨センサと、
を更に含み、
前記コントローラは、前記降雨センサの検出結果に基づいて前記自車両周辺が雨天であると推定される場合に前記フロントターンランプを動作させる、
車両用前照灯である。
[4]本開示に係る他態様の車両用前照灯は、
前記[1]又は[2]に記載のフロントターンランプと、
前記フロントターンランプと接続されたコントローラと、
前記コントローラを接続された照度センサと、
を更に含み、
前記コントローラは、前記照度センサの検出結果に基づいて前記自車両周辺が夜間であると推定される場合に前記フロントターンランプを動作させる、
車両用前照灯である。
【0007】
上記構成によれば、フロントターンランプが点灯している実感をより得られやくする技術が提供される。
【図面の簡単な説明】
【0008】
図1は、第1実施形態の車両用前照灯の構成を説明するためのブロック図である。
図2は、自車両の運転者の視界を説明するための図である。
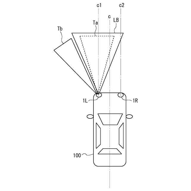
図3は、本実施形態の車両用前照灯による照射光の照射領域の一例を説明するための図である。
図4は、フロントターンランプ11Lの側方照射ランプ13Lによる点滅光Tbの照射される範囲を説明するための図である。
図5は、フロントターンランプ11Lによる点滅光Ta、Tbの照射例を説明するための図である。
図6は、第2実施形態の車両用前照灯の構成を説明するためのブロック図である。
【発明を実施するための形態】
【0009】
(第1実施形態)
図1は、第1実施形態の車両用前照灯の構成を説明するためのブロック図である。第1実施形態の車両用前照灯は、左側前照灯1Lと右側前照灯1Rを含んで構成されている。これらは、後述の図3に模式的に示すように、左側前照灯1Lが自車両100の前部左側に設置されており、右側前照灯1Rが自車両の前部右側に設置されている。
【0010】
左側前照灯1L、右側前照灯1Rのそれぞれは、自車両の運転席に設置されているウインカーレバー2と接続されている。なお、ここでいう「接続」とは、配線等を介して直接的に接続されている場合に限られず、図示しない車両用制御装置等を介して信号を取得し得るように間接的に接続されている場合を含む。
(【0011】以降は省略されています)
この特許をJ-PlatPat(特許庁公式サイト)で参照する
関連特許
個人
タイヤレバー
4か月前
個人
前輪キャスター
3か月前
個人
上部一体型自動車
2か月前
個人
タイヤ脱落防止構造
3か月前
個人
ルーフ付きトライク
4か月前
個人
空間形成装置
1か月前
個人
ホイルのボルト締結
5か月前
日本精機株式会社
表示装置
3か月前
日本精機株式会社
照明装置
1か月前
日本精機株式会社
表示装置
4か月前
日本精機株式会社
表示装置
4か月前
個人
マスタシリンダ
2か月前
個人
車両通過構造物
4か月前
日本精機株式会社
表示装置
4か月前
個人
乗合路線バスの客室装置
4か月前
個人
常設収納型サンバイザー
1か月前
日本精機株式会社
車載表示装置
1か月前
日本精機株式会社
車室演出装置
3か月前
株式会社豊田自動織機
産業車両
4か月前
個人
円湾曲ホイール及び球体輪
4か月前
個人
回転窓ワイパー装置
1か月前
日本精機株式会社
車載表示装置
1か月前
日本精機株式会社
車載表示装置
1か月前
個人
車載小物入れ兼雨傘収納具
5か月前
株式会社ニフコ
収納装置
3か月前
個人
音声ガイド、音声サービス
4か月前
株式会社ニフコ
照明装置
3か月前
株式会社ニフコ
保持装置
5か月前
日本精機株式会社
車載表示装置
2か月前
日本精機株式会社
画像投映装置
2か月前
株式会社豊田自動織機
産業車両
1か月前
日本精機株式会社
車両用表示装置
今日
日本精機株式会社
車両用投影装置
2か月前
株式会社SUBARU
車両
2か月前
日本精機株式会社
車両用表示装置
2か月前
日本精機株式会社
車両用表示装置
4か月前
続きを見る
他の特許を見る