TOP
|
特許
|
意匠
|
商標
特許ウォッチ
Twitter
他の特許を見る
10個以上の画像は省略されています。
公開番号
2025178728
公報種別
公開特許公報(A)
公開日
2025-12-09
出願番号
2024085511
出願日
2024-05-27
発明の名称
水電解システムの制御方法および水電解システム
出願人
株式会社日立製作所
代理人
弁理士法人信友国際特許事務所
主分類
C25B
15/02 20210101AFI20251202BHJP(電気分解または電気泳動方法;そのための装置)
要約
【課題】複数ある電解スタックの運転状態を高応答かつ高効率で独立に調整することができる水電解システムの制御方法を提供する。
【解決手段】水を電気分解して水素と酸素を発生させる電解スタックと、電解スタックに純水を供給する純水供給装置と、それぞれ電解スタックと純水供給装置との間に設置され、電解スタックの運転状態を調整可能な第一の調整部および第二の調整部と、第一の調整部と第二の調整部を調整して、電解スタックの運転状態を調整する運転状態調整制御部と、を備えた水電解システムの制御方法であって、運転状態調整制御部は、電解スタックの運転状態の変更指令を受けた後に、運転状態に基づいて第一の調整部を動作させ、かつ、所定の条件を満たした際に、運転状態に基づいて第一の調整部と同時に第二の調整部を動作させる。
【選択図】図8
特許請求の範囲
【請求項1】
水を電気分解して水素と酸素を発生させる電解スタックと、前記電解スタックに純水を供給する純水供給装置と、前記電解スタックと前記純水供給装置との間に設置され、前記電解スタックの運転状態を調整可能な第一の調整部と、前記電解スタックと前記純水供給装置との間に設置され、前記電解スタックの前記運転状態を調整可能な第二の調整部と、前記第一の調整部と前記第二の調整部を調整して、前記電解スタックの前記運転状態を調整する運転状態調整制御部と、を備えた水電解システムの制御方法であって、
前記運転状態調整制御部は、前記電解スタックの前記運転状態の変更指令を受けた後に、前記運転状態に基づいて前記第一の調整部を動作させ、かつ、所定の条件を満たした際に、前記運転状態に基づいて前記第一の調整部と同時に前記第二の調整部を動作させる
ことを特徴とする水電解システムの制御方法。
続きを表示(約 870 文字)
【請求項2】
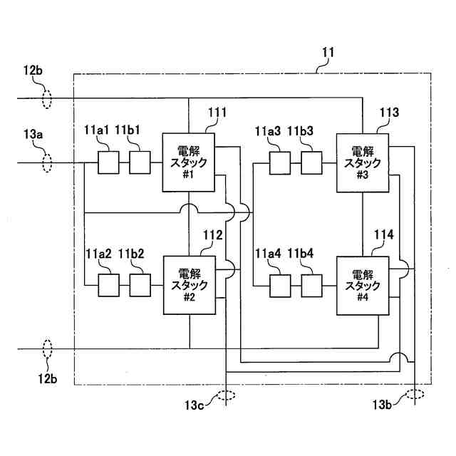
前記水電解システムが前記電解スタック、前記第一の調整部、および前記第二の調整部のセットを複数備えており、前記運転状態調整制御部は、複数ある前記セットの前記第一の調整部および第二の調整部を、複数ある前記セット毎に独立して調整することを特徴とする請求項1に記載の水電解システムの制御方法。
【請求項3】
前記第二の調整部は、前記第一の調整部が有する前記運転状態の調整作用とは異なる調整作用を有し、前記第二の調整部の調整作用は、前記第一の調整部が有する前記運転状態の調整作用を高めることで前記運転状態を調整することを特徴とする請求項1に記載の水電解システムの制御方法。
【請求項4】
前記第一の調整部は、前記純水の温度を調整する熱交換器または加熱器または冷却器のいずれかであることを特徴とする請求項1に記載の水電解システムの制御方法。
【請求項5】
前記第二の調整部は、前記純水の流量を調整する流量調整弁であることを特徴とする請求項1に記載の水電解システムの制御方法。
【請求項6】
前記所定の条件とは、前記運転状態が変更された直後の期間であって、前記運転状態の目標値と、前記運転状態の計測値の差分が大きい状態であることを特徴とする請求項1に記載の水電解システムの制御方法。
【請求項7】
前記運転状態は、前記電解スタックの温度であることを特徴とする請求項1に記載の水電解システムの制御方法。
【請求項8】
前記運転状態は、前記電解スタックの劣化状態であることを特徴とする請求項1に記載の水電解システムの制御方法。
【請求項9】
前記運転状態は、前記電解スタックの電圧であることを特徴とする請求項1に記載の水電解システムの制御方法。
【請求項10】
前記運転状態は、前記電解スタックの電流であることを特徴とする請求項1に記載の水電解システムの制御方法。
(【請求項11】以降は省略されています)
発明の詳細な説明
【技術分野】
【0001】
本発明は、水電解システムの制御方法および水電解システムに関する。
続きを表示(約 2,200 文字)
【背景技術】
【0002】
化石燃料に対して水素は、燃焼時に二酸化炭素を排出しないクリーンなエネルギーである。このことから、水素は、カーボンニュートラル実現のためのクリーンエネルギーの一つとして注目され、水素の製造、輸送、利用に関する技術開発が進められている。
特に、水素は水を電気分解することで、場所を選ばず製造できることから、エネルギーの輸入量を低減してエネルギー自給率を向上させる手段として、水素を水電解により製造可能な水電解システムが注目されている。このような水電解システムは、欧州を中心に大量導入が計画されている。
【0003】
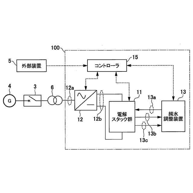
水電解システムの基本構成は、水電解を担う電解槽(電解スタック)があり、電解スタックに直流電力を供給するための電源(例えば、整流器)が接続され、電源は変圧器を介して電力系統に接続されるものである。また、電解スタックで水を電気分解するための純水を供給すると共に、電解スタックで発生した水素と酸素のみならず、電気分解に用いられなかった純水を回収するための装置(本書では純水調整装置と定義)が設置される。
純水調整装置は、電解スタックに供給する純水の圧力や流量を調整する装置を備えている。上述したような水電解システムの構成と運転方法が、例えば、特許文献1に開示されている。
【0004】
特許文献1に開示されている水電解システムは、直流電源と直列に接続される複数の電解スタックと、直列接続された複数の電解スタック全体に水を供給する送水ポンプと、複数の電解スタック全体に供給される水の温度を調整する大型冷却器と、送水ポンプ又は大型冷却器と、電解スタックと、の間の水の供給配管に設けられた水流量調整バルブおよび小型冷却器と、送水ポンプ、大型冷却器、小型冷却器および水流量調整バルブを制御する制御装置と、を備える。そして、制御装置は、水流量調整バルブで、個々の電解スタックに供給される水量を調整し、小型冷却器で、個々の電解スタックに供給される水の温度を調整する。
【先行技術文献】
【特許文献】
【0005】
国際公開第2023/012944号明細書
【発明の概要】
【発明が解決しようとする課題】
【0006】
特許文献1は、複数ある電解スタックに供給される純水の流量と温度を調整する水流量調整バルブおよび小型冷却器をそれぞれの電解スタックに備えた水電解システム、並びに、それぞれの電解スタックの状態を調整するための、水流量調整バルブおよび小型冷却器の調整方法を開示している。
しかしながら、特許文献1は、静的な特性の調整方法のみを開示しており、動的な特性を調整するための、水流量調整バルブおよび小型冷却器の過渡的な調整方法については開示していなかった。
この過渡状態を適切に調整しないことより、水流量調整バルブの調整による流量損失の発生や、この流量損失の増大に伴う流量低下を解消するための送水ポンプの負荷増大に伴う効率低下や、小型冷却器による温度調整に時間を要することにより、効率悪化や低応答性といった課題が生ずる可能性がある。
【0007】
本発明は、上述した課題を解決するためになされたものであり、複数ある電解スタックの状態を高応答かつ高効率に独立に調整することができる水電解システムの制御方法および水電解システムを提供することを目的とする。
【0008】
また、本発明の上記の目的およびその他の目的と本発明の新規な特徴は、本明細書の記述および添付図面によって明らかにする。
【課題を解決するための手段】
【0009】
本発明の水電解システムの制御方法は、水を電気分解して水素と酸素を発生させる電解スタックと、電解スタックに純水を供給する純水供給装置と、電解スタックと純水供給装置との間に設置され、電解スタックの運転状態を調整可能な第一の調整部と、電解スタックと純水供給装置との間に設置され、電解スタックの運転状態を調整可能な第二の調整部と、第一の調整部と第二の調整部を調整して、電解スタックの運転状態を調整する運転状態調整制御部と、を備えた水電解システムの制御方法であって、運転状態調整制御部は、電解スタックの運転状態の変更指令を受けた後に、運転状態に基づいて第一の調整部を動作させ、かつ、所定の条件を満たした際に、運転状態に基づいて第一の調整部と同時に第二の調整部を動作させる。
【0010】
本発明の水電解システムは、水を電気分解して水素と酸素を発生させる電解スタックと、電解スタックに純水を供給する純水供給装置と、電解スタックと純水供給装置との間に設置され、電解スタックの運転状態を調整可能な第一の調整部と、電解スタックと純水供給装置との間に設置され、電解スタックの運転状態を調整可能な第二の調整部と、第一の調整部と第二の調整部を調整して、電解スタックの運転状態を調整する運転状態調整制御部と、を備えた水電解システムであって、運転状態調整制御部は、電解スタックの運転状態の変更指令を受けた後に、運転状態に基づいて第一の調整部を動作させ、かつ、所定の条件を満たした際に運転状態に基づいて第一の調整部と同時に第二の調整部を動作させる。
【発明の効果】
(【0011】以降は省略されています)
この特許をJ-PlatPat(特許庁公式サイト)で参照する
関連特許
株式会社日立製作所
演算装置
13日前
株式会社日立製作所
冷却構造
7日前
株式会社日立製作所
軌条車両
7日前
株式会社日立製作所
鉄道車両
1か月前
株式会社日立製作所
回転電機
13日前
株式会社日立製作所
工程設計装置
1日前
株式会社日立製作所
電力変換装置
8日前
株式会社日立製作所
電力変換装置
7日前
株式会社日立製作所
放射線モニタ
1か月前
株式会社日立製作所
電力変換システム
21日前
株式会社日立製作所
環境負荷算出装置
6日前
株式会社日立製作所
ガス分離システム
1か月前
株式会社日立製作所
システム検証方法
1か月前
株式会社日立製作所
鉄道車両用空調装置
1か月前
株式会社日立製作所
調停案提示システム
1か月前
株式会社日立製作所
診断装置及び診断方法
6日前
株式会社日立製作所
部品管理装置及び方法
2か月前
株式会社日立製作所
情報提示装置及び方法
6日前
株式会社日立製作所
分散電源管理システム
8日前
株式会社日立製作所
施設管理装置および方法
21日前
株式会社日立製作所
店舗管理装置および方法
1か月前
株式会社日立製作所
乗降床及び乗客コンベア
1か月前
株式会社日立製作所
生産ライン設計システム
29日前
株式会社日立製作所
飲食店提案装置および方法
1か月前
株式会社日立製作所
署名照合システム及び方法
1か月前
株式会社日立製作所
乗りかご及びエレベーター
1か月前
株式会社日立製作所
乗りかご及びエレベーター
1か月前
株式会社日立製作所
検索システム及び検索方法
1か月前
株式会社日立製作所
実行ハードウエア決定方法
6日前
株式会社日立製作所
ソフトウェア生成システム
2か月前
株式会社日立製作所
データ変換装置および方法
1か月前
株式会社日立製作所
検証システムおよび検証方法
13日前
株式会社日立製作所
ソースコードを生成する方法
29日前
株式会社日立製作所
生体認証装置、生体認証方法
1か月前
株式会社日立製作所
情報処理装置、情報処理方法
2か月前
株式会社日立製作所
ソフトエラー率評価システム
22日前
続きを見る
他の特許を見る