TOP
|
特許
|
意匠
|
商標
特許ウォッチ
Twitter
他の特許を見る
公開番号
2025178206
公報種別
公開特許公報(A)
公開日
2025-12-05
出願番号
2025086126
出願日
2025-05-23
発明の名称
極低温流体用パイプ、パイプアセンブリ、及びパイプを備えた航空宇宙システム
出願人
アリアーネグループ ゲーエムベーハー
代理人
個人
,
個人
主分類
F16L
9/147 20060101AFI20251128BHJP(機械要素または単位;機械または装置の効果的機能を生じ維持するための一般的手段)
要約
【課題】極低温流体を導送するための改良されたパイプ及びパイプアセンブリを提供する。さらに、極低温流体を使用する改良された航空宇宙システムを提供する。
【解決手段】極低温流体を導送するためのパイプが開示される。このパイプは、少なくとも部分的に繊維強化ポリマーで作られた剛性の外管と、外管内を通るガス不透過性の内管と、内管と外管との間に配置された断熱層と、内管のそれぞれの端部に形成された少なくとも1つのフランジとを備える。少なくとも1つのフランジは、内管を外管に接続する。さらに、少なくとも2つのこのようなパイプが、それぞれのフランジにおいて接続されるか、接続されるように構成されたパイプアセンブリ、及び少なくとも1つのこのようなパイプを含む航空宇宙システムが開示される。
【選択図】図1
特許請求の範囲
【請求項1】
極低温流体を導送するためのパイプ(100、100’、100
2
’)であって、
該パイプは
-少なくとも部分的に繊維強化ポリマーで作られた剛性の外管(10、10’、10
2
’)、
-前記外管(10、10’、10
2
’)内を通るガス不透過性の内管(20、20’、20
2
’)、
-前記内管(20、20’、20
2
’)と前記外管(10、10’、10
2
’)の間に配置された断熱層(30、30’、30
2
’)、及び
-前記内管(20、20’、20
2
’)のそれぞれの端部に形成された少なくとも1つのフランジ(40、40’、40
2
’)であって、前記内管(20、20’、20
2
’)を前記外管(10、10’、10
2
’)に接続する前記少なくとも1つのフランジ(40、40’、40
2
’)を備える、パイプ。
続きを表示(約 1,200 文字)
【請求項2】
前記少なくとも1つのフランジ(40、40’)は、
-前記内管(20)と一体的に成形されているか、又は前記内管(20’)に材料的に接続されているか、及び/又は前記内管に形状嵌合により結合されており、及び/又は、
-前記外管(10、10’)に材料的に接続されているか、及び/又は前記外管に形状嵌合により結合されている、請求項1に記載のパイプ。
【請求項3】
前記少なくとも1つのフランジ(40、40’)の材料と、前記内管(20、20’)の材料とは、少なくとも部分的に一致している、請求項1又は2に記載のパイプ。
【請求項4】
前記内管(20、20’)は、
-壁厚が最大で8mm又は最大で5mmであり、
-20℃から90℃の間で測定された熱膨張係数が、最大で2.5×10
-6
K
-1
又は最大で2×10
-6
K
-1
であり、及び/又は
-少なくとも部分的に、金属合金、例えば鉄合金、特にニッケル-鉄合金、又は複合材料、特に炭素繊維強化プラスチックでできている、請求項1乃至3のいずれか一項に記載のパイプ。
【請求項5】
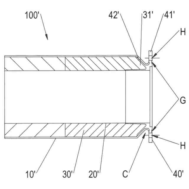
前記少なくとも1つのフランジ(40、40’)は、前記断熱層(30’)の縁部(31’)を取り囲むブラケットセグメント(42’)を備える、請求項1乃至4のいずれか一項に記載のパイプ。
【請求項6】
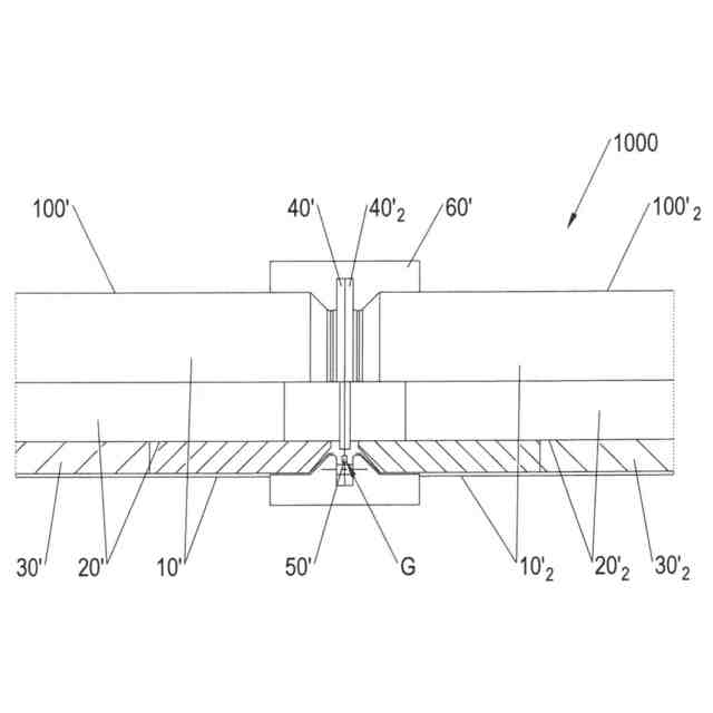
前記ブラケットセグメント(42’)は、周方向のチャネル(C)によって、前記少なくとも1つのフランジ(40’)の平坦な接触セグメント(41’)から分離され、該接触セグメント(41’)は、別のパイプ(100
2
’)に接続されるように構成されている、請求項5に記載のパイプ。
【請求項7】
前記外管(10’)は、前記ブラケットセグメント(42’)の少なくとも一部分を覆う、請求項5又は6に記載のパイプ。
【請求項8】
前記断熱層(30、30’)は、少なくとも部分的に硬質発泡体からなる、請求項1乃至7のいずれか一項に記載のパイプ。
【請求項9】
前記少なくとも1つのフランジ(40、40’)に、別のパイプ(100
2
’)と接続するための少なくとも1つの貫通孔(H)及び/又は少なくとも1つのねじ山が形成されている、請求項1乃至8のいずれか一項に記載のパイプ。
【請求項10】
前記少なくとも1つのフランジ(40’)に、それぞれのシールリング(50’)の少なくとも一部を受容するように適合した1つ又は複数の溝(G)が形成されている、請求項1乃至9のいずれか一項に記載のパイプ。
(【請求項11】以降は省略されています)
発明の詳細な説明
【技術分野】
【0001】
航空宇宙システムにおいて、液体及びガスは、通常、1本又は複数本のパイプからなる剛性又は可撓性のライン(配管)を用いて、例えば、それぞれの貯留槽からそれぞれの使用地点まで導送される。
続きを表示(約 1,800 文字)
【背景技術】
【0002】
従来、これらのパイプラインは、いわゆる「二次」構造の一部を形成しており、運転中の構造荷重の支持には使用されないが、特定の二次機能を果たすために必要とされる。これらのパイプは通常、金属合金製で、隣接する耐荷重構造、いわゆる「一次」構造にブラケットによって取り付けられている。
【0003】
FLINTシステム(Fluid Line Integrated Thrustframe)のような新しいシステムは、二次構造を一次構造に一貫して統合することで、質量削減を実現し、既存の質量を複数の機能に活用する。特に、中間支柱(ストラット)を使用することで、剛性パイプをトラスに組み合わせ、荷重伝達のための構造要素として使用することができる。
【0004】
しかし、液体水素などの極低温媒体を導送する場合、運転中にパイプは著しく冷却される。組み立て状態と運転状態の間のこの温度変化は、材料に依存した大きな長さの変化をもたらす。パイプを航空機又は宇宙船の主要構造に確実に接続するために、従来はそれぞれの取付け点間の変形を補償するコンペンセータ(補償器)が使用されている。
【0005】
さらに、極低温流体を使用する場合は、媒体への熱流入を制限するために配管を断熱する必要がある。そうでなければ、過剰な熱入力による気泡形成により、媒体への熱流入が重大な問題となるおそれがある。断熱には様々な選択肢があり、例えば、二重壁管に真空空間を設ける方法(真空断熱)や、断熱発泡体を利用する方法がある。断熱発泡体は、管に吹き付けたり、外側にハーフシェルとして取り付けたり、柔軟なマットの形で管に巻き付けたりすることができる。さらに、多層断熱(MLI)フィルムを管の断熱に使用することもできる。しかし、ホルダーと管の間に導電性接続が必然的に生じるため、それぞれの固定点を断熱することは困難である。したがって、パイプラインの最大接続点数は、それぞれの最大許容熱流量によって制限される。
【0006】
前述のように、パイプを一次システムに統合することで二重利用することは、長さの変化を補償するための構造要素の利用には不利である。パイプを構造的に利用するためには、高い剛性と安定性が求められるが、これは補償機能とは相反するものである。さらに、この二重利用は接続点の増加を伴い、それによってパイプへの熱流入が増加する。したがって、熱膨張率の高い材料で作られた従来のパイプを用いた構造統合システムアーキテクチャの設計は、困難な課題である。
【発明の概要】
【発明が解決しようとする課題】
【0007】
本発明の目的は、極低温流体を導送(輸送)するための改良されたパイプ及びパイプアセンブリを提供することである。本発明のさらなる目的は、極低温流体を使用する改良された航空宇宙システムを提供することである。
【課題を解決するための手段】
【0008】
この目的は、請求項1に記載のパイプ、請求項13に記載のパイプアセンブリ、及び請求項14に記載の航空宇宙システムによって達成される。有利な実施形態は、従属請求項、明細書及び図面に開示されている。
【0009】
本発明によるパイプは、液体水素などの極低温流体を流すために発明されたものである。このパイプは、少なくとも部分的に繊維強化ポリマーで作られた剛性外管を備え、強化繊維は特に、炭素繊維及び/又はガラス繊維を含んでもよい。パイプはさらに、外管内を通るガス不透過性の内管を備え、その間に(熱)断熱層を有する。(好ましくは受動的)断熱層は特に、例えば、硬質発泡体及び/又は多層断熱材から構成される。内管の少なくとも一端には、内管と外管とを接続する(各々の)フランジが形成されている。
【0010】
その独創的な構造により、本発明によるパイプは、それぞれのシステム、特に航空宇宙システムの一次構造の一部として、軽量化利用を容易にする。その点で、外管は構造荷重の大部分を伝達する役割を果たし、内管は極低温流体を導送し、ガスに対する不浸透性を確保するように構成される。断熱層は外管の内側にあるため、その断熱特性は、ヘリウムなどの周囲ガスに影響されることはあっても、ごくわずかである。特に、パイプは熱的に安定化されている。
(【0011】以降は省略されています)
この特許をJ-PlatPat(特許庁公式サイト)で参照する
関連特許
個人
留め具
1か月前
個人
鍋虫ねじ
3か月前
個人
紛体用仕切弁
3か月前
個人
ホース保持具
7か月前
個人
回転伝達機構
4か月前
個人
差動歯車用歯形
5か月前
個人
給排気装置
2か月前
個人
ジョイント
2か月前
個人
ナット
1か月前
株式会社不二工機
電磁弁
6か月前
個人
地震の揺れ回避装置
4か月前
個人
ナット
2か月前
株式会社不二工機
電磁弁
5か月前
個人
吐出量監視装置
3か月前
個人
ゲート弁バルブ
19日前
兼工業株式会社
バルブ
1か月前
カヤバ株式会社
ダンパ
5か月前
柿沼金属精機株式会社
分岐管
3か月前
カヤバ株式会社
ダンパ
5か月前
カヤバ株式会社
緩衝器
5か月前
カヤバ株式会社
緩衝器
5か月前
カヤバ株式会社
緩衝器
2か月前
株式会社フジキン
ボールバルブ
6か月前
株式会社三五
ドライブシャフト
1か月前
株式会社タカギ
水栓装置
4か月前
個人
固着具と固着具の固定方法
6か月前
日東電工株式会社
断熱材
7か月前
株式会社ニフコ
クリップ
2か月前
株式会社奥村組
制振機構
2か月前
株式会社ノーリツ
分配弁
7か月前
株式会社ノーリツ
分配弁
7か月前
株式会社ノーリツ
分配弁
7か月前
株式会社ニフコ
クリップ
19日前
竹内工業株式会社
ラッチ
4日前
株式会社ノーリツ
分配弁
2か月前
株式会社不二工機
電動弁
2か月前
続きを見る
他の特許を見る