TOP
|
特許
|
意匠
|
商標
特許ウォッチ
Twitter
他の特許を見る
公開番号
2025177689
公報種別
公開特許公報(A)
公開日
2025-12-05
出願番号
2024084737
出願日
2024-05-24
発明の名称
負荷駆動回路
出願人
ウィル セミコンダクター (シャンハイ) カンパニー リミテッド
代理人
弁理士法人YKI国際特許事務所
主分類
H03K
17/16 20060101AFI20251128BHJP(基本電子回路)
要約
【課題】比較的簡単な回路で、ソフトスタートを実施する。
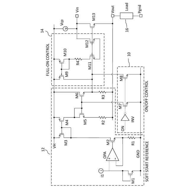
【解決手段】負荷駆動回路は、ドレインが電源に接続され、出力オン時にソースからの出力を負荷16に印加するnチャネルの出力トランジスタM13と、出力オンの開始時からの所定期間に、出力トランジスタのゲート・ソース間にソフトスタート電圧を印加するソフトスタートリファレンスブロック12と、を含む。ソフトスタートリファレンスブロック12は、電流源からの電流を流す基準トランジスタのゲート・ソース間電圧に対応したソフトスタート電圧を出力トランジスタのゲート・ソース間に印加し、基準トランジスタのサイズは、出力トランジスタより小さい。
【選択図】図1
特許請求の範囲
【請求項1】
ドレインが電源に接続され、出力オン時にソースからの出力を負荷に印加するnチャネルの出力トランジスタと、
出力オンの開始時からの所定期間に、前記出力トランジスタのゲート・ソース間にソフトスタート電圧を印加するソフトスタートリファレンスブロックと、
を含み、
前記ソフトスタートリファレンスブロックは、
電流源からの電流を流す基準トランジスタのゲート・ソース間電圧に対応したソフトスタート電圧を前記出力トランジスタのゲート・ソース間に印加し、
前記基準トランジスタのサイズは、前記出力トランジスタより小さい、
負荷駆動回路。
続きを表示(約 650 文字)
【請求項2】
請求項1に記載の負荷駆動回路であって、
前記基準トランジスタは、前記出力トランジスタと同様の特性を有する、
負荷駆動回路。
【請求項3】
請求項1に記載の負荷駆動回路であって、
前記ソフトスタートリファレンスブロックは、
基準トランジスタのゲート・ソース間電圧に対応した電流を前記出力トランジスタのゲート・ソース間に配置した抵抗に流すことによって、前記出力トランジスタのゲート・ソースにソフトスタート電圧を印加する、
負荷駆動回路。
【請求項4】
請求項1に記載の負荷駆動回路であって、
前記出力オンの開始時からの所定期間は、出力オンの後、前記出力トランジスタのソース間電圧が所定値に至るまでの期間である、
負荷駆動回路。
【請求項5】
請求項1に記載の負荷駆動回路であって、
さらに、
出力オンの開始時から所定期間経過後に前記出力トランジスタのゲート・ソース間にフルオン電圧を印加するフルオンコントロールブロックを
含む、
負荷駆動回路。
【請求項6】
請求項5に記載の負荷駆動回路であって、
前記フルオンコントロールブロックは、
前記出力トランジスタのゲート・ソース間に配置した抵抗に所定の電流を流すことによって、前記出力トランジスタのゲート・ソース間にフルオン電圧を印加する、
負荷駆動回路。
発明の詳細な説明
【技術分野】
【0001】
本開示は、nチャネルトランジスタによる負荷を駆動する負荷駆動回路に関する。
続きを表示(約 1,500 文字)
【背景技術】
【0002】
従来、モータなど各種の負荷の駆動を制御するスイッチデバイスを内蔵する半導体集積回路が知られている。スイッチデバイスとしては、負荷の上流側に配置されるハイサイドロードスイッチと、負荷の下流側に配置されるローサイドスイッチがあり、用途に応じて適宜選択して用いられる。
【0003】
また、スイッチデバイスとして、パワートランジスタ、例えばMOSFETデバイスを使用する場合、nチャネルトランジスタ(NMOSFET)またはpチャネルのトランジスタ(PMOSFET)の2つの選択肢がある。NMOSは、負荷への供給電流が比較的大きいアプリケーションに適している。
【0004】
ハイサイドロードスイッチの場合、NMOSのスイッチング制御のためには、NMOSのゲート電圧を入力電源電圧より高くする必要がある。このため、入力電源電圧より高電圧の電源を必要とする。このような高電圧の電源は通常、チャージポンプ回路によって生成される場合が多い。
【先行技術文献】
【非特許文献】
【0005】
ROHM Datasheet 2.0A Current Load Switch ICs for Portable Equipment''
【発明の概要】
【発明が解決しようとする課題】
【0006】
ここで、チャージポンプ回路で生成される電力は限られており、スイッチデバイスの制御は低消費電力であることが望ましい。また、ハイサイドロードスイッチは、オン時のサージ電流を防ぐためにソフトスタート機能が必要な場合がある。さらに、ハイサイドロードスイッチはメカニカル・リレーに代わるものであり、容量性負荷や、誘導性負荷や、大電流の負荷など、さまざまな条件の負荷に対応しなければならない。
【0007】
このように、ハイサイドロードスイッチについては各種の要求がある。
【課題を解決するための手段】
【0008】
本開示に係る負荷駆動回路は、
ドレインが電源に接続され、出力オン時にソースからの出力を負荷に印加するnチャネルの出力トランジスタと、
出力オンの開始時からの所定期間に、前記出力トランジスタのゲート・ソース間にソフトスタート電圧を印加するソフトスタートリファレンスブロックと、
を含み、
前記ソフトスタートリファレンスブロックは、
電流源からの電流を流す基準トランジスタのゲート・ソース間電圧に対応したソフトスタート電圧を前記出力トランジスタのゲート・ソース間に印加し、
前記基準トランジスタは、前記基準トランジスタのサイズは、前記出力トランジスタより小さい。
【発明の効果】
【0009】
本開示に係る負荷駆動回路によれば、低消費電力で、ソフトスタートを実施することができる。
【図面の簡単な説明】
【0010】
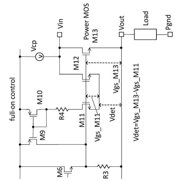
実施形態に係る負荷駆動回路の構成を示す回路図である。
図1の回路の動作を示すタイミングチャートである。
ソフトスタート時の出力電流Ioutと、Vcpから供給される電流I_vcpの関係を示す図である。
ソフトスタートなしに出力トランジスタをオンした場合の波形を示す図である。
フルオンコントロールブロックの回路図に、複数の箇所間の電圧を記載した図である。
フルオンコントロールブロックの動作を示すタイミングチャートである。
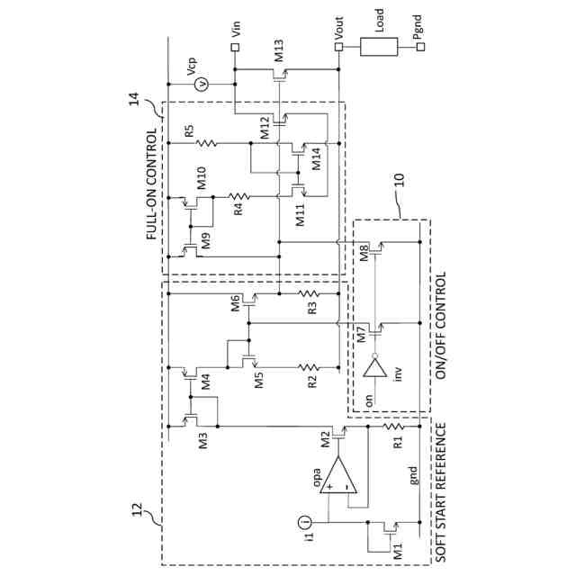
変形例の構成を示す回路図である。
【発明を実施するための形態】
(【0011】以降は省略されています)
この特許をJ-PlatPat(特許庁公式サイト)で参照する
関連特許
株式会社蜂鳥
増幅器
13日前
エイブリック株式会社
増幅器
2か月前
エイブリック株式会社
増幅器
2か月前
エイブリック株式会社
増幅回路
2か月前
日本電波工業株式会社
水晶振動子
1か月前
日本電波工業株式会社
圧電振動片
2か月前
株式会社大真空
圧電振動デバイス
今日
台灣晶技股ふん有限公司
水晶発振器
1か月前
富士電機株式会社
半導体装置
12日前
京セラ株式会社
差動信号フィルタデバイス
19日前
京セラ株式会社
差動信号フィルタデバイス
19日前
株式会社半導体エネルギー研究所
駆動回路
2か月前
TDK株式会社
電子部品
2か月前
台灣晶技股ふん有限公司
水晶発振素子
1か月前
株式会社村田製作所
弾性波装置
12日前
TDK株式会社
電子部品
2か月前
ローム株式会社
自己診断システム
1か月前
住友電気工業株式会社
歪補償装置
6日前
株式会社村田製作所
弾性波フィルタ
2か月前
国立大学法人東北大学
弾性表面波デバイス
1か月前
三菱電機株式会社
高周波増幅器モジュール
1か月前
住友電気工業株式会社
高周波増幅器
2か月前
株式会社村田製作所
高周波電力増幅器
11日前
株式会社村田製作所
高周波電力増幅器
11日前
日清紡マイクロデバイス株式会社
演算増幅器
2か月前
日本電波工業株式会社
温度センサ内蔵型の水晶振動子
1か月前
太陽誘電株式会社
フィルタ及びマルチプレクサ
2か月前
エイブリック株式会社
出力制御回路及び電圧出力回路
2か月前
エイブリック株式会社
電流制限回路及び電流制限装置
2か月前
アルプスアルパイン株式会社
センサ装置
2か月前
台灣晶技股ふん有限公司
発振装置
1か月前
セイコーエプソン株式会社
振動素子
2か月前
株式会社NTTドコモ
リニアライザ
2か月前
株式会社JVCケンウッド
電源装置および増幅装置
2か月前
ローム株式会社
発振回路
2か月前
ローム株式会社
発振回路
2か月前
続きを見る
他の特許を見る