TOP
|
特許
|
意匠
|
商標
特許ウォッチ
Twitter
他の特許を見る
公開番号
2025177068
公報種別
公開特許公報(A)
公開日
2025-12-05
出願番号
2024083574
出願日
2024-05-22
発明の名称
超音波探傷装置及び超音波探傷方法
出願人
日本製鉄株式会社
代理人
弁理士法人まこと国際特許事務所
主分類
G01N
29/44 20060101AFI20251128BHJP(測定;試験)
要約
【課題】探傷性能を損なうことなく探傷時間を短縮可能な超音波探傷装置等を提供する。
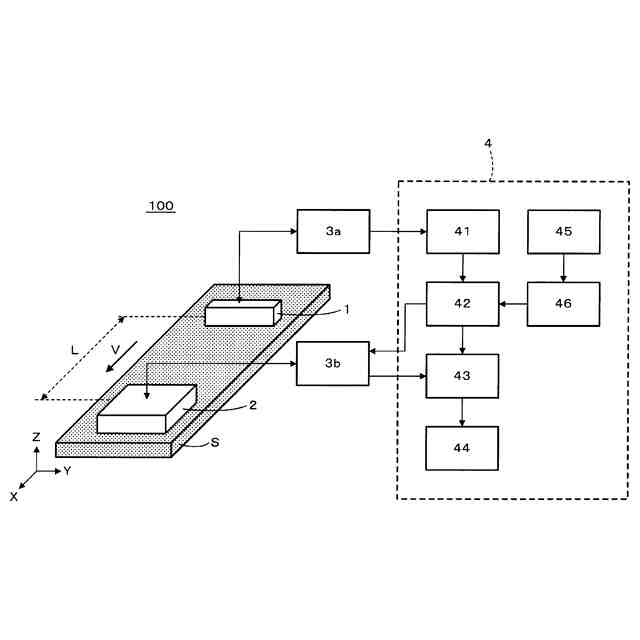
【解決手段】超音波探傷装置100は、第1超音波探触子1と、第1超音波探触子で受信したエコーに基づいて被探傷材Sの第1画像を生成する第1画像生成部41と、教師データ生成部45で生成された教師データを用いて教師データ生成部45で機械学習を行うことで生成された予測モデルを有し、第1画像を予測モデルに入力することで好適探傷条件を推定する探傷条件推定部42と、送信用・受信用振動子の組み合わせの数が第1超音波探触子における組み合わせの数より多く、好適探傷条件で定まる送信用・受信用振動子だけを用いる第2超音波探触子2と、第2超音波探触子で受信したエコーに基づいて、被探傷材の第1開口合成画像を生成する第2画像生成部43と、第1開口合成画像に基づいて、被探傷材の内部に存在する欠陥を検出する欠陥検出部44と、を備える。
【選択図】図1
特許請求の範囲
【請求項1】
被探傷材の内部に存在する欠陥を検出する超音波探傷装置であって、
複数の送信用振動子及び複数の受信用振動子を有し、前記送信用振動子を用いて前記被探傷材に超音波を送信し、前記受信用振動子を用いて前記被探傷材の内部で反射したエコーを受信する第1超音波探触子と、
前記第1超音波探触子で受信したエコーに基づいて、前記被探傷材の内部の様子を画像化した第1画像を生成する第1画像生成部と、
機械学習を用いて生成された予測モデルを有し、前記第1画像を前記予測モデルに入力することで、前記被探傷材の探傷性能が損なわれない、送信用振動子の数、送信用振動子の位置、受信用振動子の数、及び、受信用振動子の位置から構成される好適探傷条件、を推定する、探傷条件推定部と、
送信用振動子及び受信用振動子の組み合わせの数が前記第1超音波探触子が有する送信用振動子及び受信用振動子の組み合わせの数より多い、複数の送信用振動子及び複数の受信用振動子を有し、前記複数の送信用振動子のうち、前記好適探傷条件で定まる送信用振動子だけを用いて前記被探傷材に超音波を送信し、前記複数の受信用振動子のうち、前記好適探傷条件で定まる受信用振動子だけを用いて前記被探傷材の内部で反射したエコーを受信する第2超音波探触子と、
前記第2超音波探触子で受信したエコーに基づいて、前記被探傷材の内部の様子を画像化した第1開口合成画像を生成する第2画像生成部と、
前記第1開口合成画像に基づいて、前記被探傷材の内部に存在する欠陥を検出する欠陥検出部と、
を備える、超音波探傷装置。
続きを表示(約 4,500 文字)
【請求項2】
学習用画像及び学習用好適探傷条件の組み合わせである教師データを生成する教師データ生成部と、
前記教師データを用いた機械学習によって前記予測モデルを生成する予測モデル生成部と、
を備え、
前記第1超音波探触子が、前記被探傷材の代わりに内部に欠陥を有する試験材に超音波を送信し、前記試験材の内部で反射したエコーを受信し、
前記第1画像生成部が、前記第1超音波探触子で受信したエコーに基づいて、前記試験材の内部の様子を画像化した第2画像を生成し、
前記第2超音波探触子が、前記第2超音波探触子の有する全ての送信用振動子を用いて前記試験材に超音波を送信し、前記第2超音波探触子の有する全ての受信用振動子を用いて前記試験材の内部で反射したエコーを受信し、
前記第2画像生成部が、前記第2超音波探触子の有する全ての受信用振動子で受信したエコーに基づいて、前記試験材の内部の様子を画像化した第2開口合成画像を生成し、
前記第2超音波探触子が、前記第2超音波探触子の有する全ての送信用振動子のうちm個(mは1より大きく、全ての送信用振動子の数以下の整数)の送信用振動子を用いて前記試験材に超音波を送信し、前記第2超音波探触子の有する全ての受信用振動子のうちn個(nは1より大きく、全ての受信用振動子の数以下の整数)の受信用振動子を用いて前記試験材の内部で反射したエコーを受信し、
前記第2画像生成部が、前記第2超音波探触子の有するn個の受信用振動子で受信したエコーに基づいて、前記試験材の内部の様子を画像化した第3開口合成画像を生成し、
前記探傷性能に関わる条件として、第2開口合成画像に基づいて推定した前記試験材の有する欠陥位置の推定値と、前記第3開口合成画像に基づいて推定した前記試験材の有する欠陥位置の推定値とを比較し、前記欠陥位置の推定値の差の絶対値が所定の値以下となる条件下で、積m×nが最小となるm及びnを求め、
前記第2超音波探触子において、前記求めたm個の送信用振動子で超音波を送信し、前記求めたn個の受信用振動子でエコーを受信する際の処理時間と、受信したエコーに基づいて画像化するために必要な時間との和が最小となる、m個の送信用振動子の位置及びn個の受信用振動子の位置を求めた場合に、
前記教師データ生成部は、前記求めたmを送信用振動子の数とし、前記求めたm個の振動子の位置を送信用振動子の位置とし、前記求めたnを受信用振動子の数とし、前記求めたn個の振動子の位置を受信用振動子の位置として構成される条件を前記学習用好適探傷条件とし、前記第2画像を前記学習用画像として、前記教師データを生成し、
前記予測モデル生成部は、前記教師データを用いて、機械学習モデルを機械学習させることで、前記予測モデルを生成する、請求項1に記載の超音波探傷装置。
【請求項3】
学習用画像及び学習用好適探傷条件の組み合わせである教師データを生成する教師データ生成部と、
前記教師データを用いた機械学習によって前記予測モデルを生成する予測モデル生成部と、
を備え、
前記第1超音波探触子が、前記被探傷材の代わりに内部に欠陥を有する試験材に超音波を送信し、前記試験材の内部で反射したエコーを受信し、
前記第1画像生成部が、前記第1超音波探触子で受信したエコーに基づいて、前記試験材の内部の様子を画像化した第2画像を生成し、
前記第2超音波探触子が、前記第2超音波探触子の有する全ての送信用振動子を用いて前記試験材に超音波を送信し、前記第2超音波探触子の有する全ての受信用振動子を用いて前記試験材の内部で反射したエコーを受信し、
前記第2画像生成部が、前記第2超音波探触子の有する全ての受信用振動子で受信したエコーに基づいて、前記試験材の内部の様子を画像化した第2開口合成画像を生成し、
前記第2超音波探触子が、前記第2超音波探触子の有する全ての送信用振動子のうちm個(mは1より大きく、全ての送信用振動子の数以下の整数)の送信用振動子を用いて前記試験材に超音波を送信し、前記第2超音波探触子の有する全ての受信用振動子のうちn個(nは1より大きく、全ての受信用振動子の数以下の整数)の受信用振動子を用いて前記試験材の内部で反射したエコーを受信し、
前記第2画像生成部が、前記第2超音波探触子の有するn個の受信用振動子で受信したエコーに基づいて、前記試験材の内部の様子を画像化した第3開口合成画像を生成し、
前記探傷性能に関わる条件として、前記第2開口合成画像に基づいて推定した前記試験材の有する欠陥の大きさの推定値と、前記第3開口合成画像に基づいて推定した前記試験材の有する欠陥の大きさの推定値とを比較し、前記欠陥の大きさの推定値の差の絶対値が所定の値以下となる条件下で、積m×nが最小となるm及びnを求め、
前記第2超音波探触子において、前記求めたm個の送信用振動子で超音波を送信し、前記求めたn個の受信用振動子でエコーを受信する際の処理時間と、受信したエコーに基づいて画像化するために必要な時間との和が最小となる、m個の送信用振動子の位置及びn個の受信用振動子の位置を求めた場合に、
前記教師データ生成部は、前記求めたmを送信用振動子の数とし、前記求めたm個の振動子の位置を送信用振動子の位置とし、前記求めたnを受信用振動子の数とし、前記求めたn個の振動子の位置を受信用振動子の位置として構成される条件を前記学習用好適探傷条件とし、前記第2画像を前記学習用画像として、前記教師データを生成し、
前記予測モデル生成部は、前記教師データを用いて、機械学習モデルを機械学習させることで、前記予測モデルを生成する、請求項1に記載の超音波探傷装置。
【請求項4】
学習用画像及び学習用好適探傷条件の組み合わせである教師データを生成する教師データ生成部と、
前記教師データを用いた機械学習によって前記予測モデルを生成する予測モデル生成部と、
を備え、
前記第1超音波探触子が、前記被探傷材の代わりに内部に近接する2つの欠陥を有する試験材に超音波を送信し、前記試験材の内部で反射したエコーを受信し、
前記第1画像生成部が、前記第1超音波探触子で受信したエコーに基づいて、前記試験材の内部の様子を画像化した第2画像を生成し、
前記第2超音波探触子が、前記第2超音波探触子の有する全ての送信用振動子を用いて前記試験材に超音波を送信し、前記第2超音波探触子の有する全ての受信用振動子を用いて前記試験材の内部で反射したエコーを受信し、
前記第2画像生成部が、前記第2超音波探触子の有する全ての受信用振動子で受信したエコーに基づいて、前記試験材の内部の様子を画像化した第2開口合成画像を生成し、
前記第2超音波探触子が、前記第2超音波探触子の有する全ての送信用振動子のうちm個(mは1より大きく、全ての送信用振動子の数以下の整数)の送信用振動子を用いて前記試験材に超音波を送信し、前記第2超音波探触子の有する全ての受信用振動子のうちn個(nは1より大きく、全ての受信用振動子の数以下の整数)の受信用振動子を用いて前記試験材の内部で反射したエコーを受信し、
前記第2画像生成部が、前記第2超音波探触子の有するn個の受信用振動子で受信したエコーに基づいて、前記試験材の内部の様子を画像化した第3開口合成画像を生成し、
前記探傷性能に関わる条件として、前記第2開口合成画像において、前記試験材の有する2つの欠陥に対応する画素領域が所定の輝度値以上で2つに分離し、前記第3開口合成画像において、前記試験材の有する2つの欠陥に対応する画素領域が所定の輝度値以上で2つに分離する条件下で、積m×nが最小となるm及びnを求め、
前記第2超音波探触子において、前記求めたm個の送信用振動子で超音波を送信し、前記求めたn個の受信用振動子でエコーを受信する際の処理時間と、受信したエコーに基づいて画像化するために必要な時間との和が最小となる、m個の送信用振動子の位置及びn個の受信用振動子の位置を求めた場合に、
前記教師データ生成部は、前記求めたmを送信用振動子の数とし、前記求めたm個の振動子の位置を送信用振動子の位置とし、前記求めたnを受信用振動子の数とし、前記求めたn個の振動子の位置を受信用振動子の位置として構成される条件を前記学習用好適探傷条件とし、前記第2画像を前記学習用画像として、前記教師データを生成し、
前記予測モデル生成部は、前記教師データを用いて、機械学習モデルを機械学習させることで、前記予測モデルを生成する、請求項1に記載の超音波探傷装置。
【請求項5】
被探傷材の内部に存在する欠陥を検出する超音波探傷方法であって、
複数の送信用振動子及び複数の受信用振動子を有する第1超音波探触子を用い、前記送信用振動子を用いて前記被探傷材に超音波を送信し、前記受信用振動子を用いて前記被探傷材の内部で反射したエコーを受信する第1超音波送受信ステップと、
第1画像生成部を用い、前記第1超音波探触子で受信したエコーに基づいて、前記被探傷材の内部の様子を画像化した第1画像を生成する第1画像生成ステップと、
機械学習を用いて生成された予測モデルを有する探傷条件推定部を用い、前記第1画像を前記予測モデルに入力することで、前記被探傷材の探傷性能が損なわれない、送信用振動子の数、送信用振動子の位置、受信用振動子の数、及び、受信用振動子の位置から構成される好適探傷条件、を推定する、探傷条件推定ステップと、
送信用振動子及び受信用振動子の組み合わせの数が前記第1超音波探触子が有する送信用振動子及び受信用振動子の組み合わせの数より多い、複数の送信用振動子及び複数の受信用振動子を有する第2超音波探触子を用い、前記複数の送信用振動子のうち、前記好適探傷条件で定まる送信用振動子だけを用いて前記被探傷材に超音波を送信し、前記複数の受信用振動子のうち、前記好適探傷条件で定まる受信用振動子だけを用いて前記被探傷材の内部で反射したエコーを受信する第2超音波送受信ステップと、
第2画像生成部を用い、前記第2超音波探触子で受信したエコーに基づいて、前記被探傷材の内部の様子を画像化した第1開口合成画像を生成する第2画像生成ステップと、
欠陥検出部を用い、前記第1開口合成画像に基づいて、前記被探傷材の内部に存在する欠陥を検出する欠陥検出ステップと、
を有する、超音波探傷方法。
発明の詳細な説明
【技術分野】
【0001】
本発明は、超音波を用いて鋼材等の被探傷材を探傷する超音波探傷装置及び超音波探傷方法に関する。特に、本発明は、探傷性能を損なうことなく探傷時間を短縮可能な超音波探傷装置及び超音波探傷方法に関する。
続きを表示(約 4,100 文字)
【背景技術】
【0002】
従来、鋼材等の被探傷材の内部に存在する欠陥を検出することを目的として、超音波探傷方法が用いられている。
超音波探傷方法は、超音波探触子が有する振動子を用いて被探傷材に超音波を送信し、超音波探触子が有する振動子を用いて被探傷材の内部で反射した超音波(エコー)を受信することで、被探傷材の内部に存在する欠陥を検出する方法である。エコーの受信には、超音波の送信に用いた振動子と同じ振動子が用いられる場合もあれば、送信に用いた振動子とは別の振動子を用意する場合もある。
【0003】
上記のような超音波探傷方法の中でも、送信用振動子及び受信用振動子が数多く配置された超音波探触子を用いて、送信用振動子及び受信用振動子のあらゆる組み合わせで受信したエコーから得られる探傷信号波形を合算する開口合成処理を施すことで、被探傷材の内部の様子を画像化した開口合成画像を生成する開口合成法が注目されている(例えば、特許文献1参照)。
開口合成法は、多くの探傷信号波形を合算することでノイズが平均化されることによる検出能の向上(高S/N化)や、後処理による空間分解能向上、画像化によって欠陥の分布の情報が分かることなどが利点として挙げられる。
【0004】
しかしながら、開口合成法では、多くの探傷信号波形を処理するため、計算負荷が大きく、探傷時間(=探傷信号波形を取得するための処理時間+画像化時間)が長くなってしまうという問題がある。
【先行技術文献】
【特許文献】
【0005】
特開2011-203037号公報
【発明の概要】
【発明が解決しようとする課題】
【0006】
本発明は、上記従来技術の問題点を解決するべくなされたものであり、探傷性能を損なうことなく、計算負荷を低減可能で、探傷時間を短縮可能な超音波探傷装置及び超音波探傷方法を提供することを課題とする。
【課題を解決するための手段】
【0007】
前記課題を解決するため、本発明らは、鋭意検討を行い、計算負荷を低減し探傷時間を短縮するために、超音波探触子が有する複数の送信用振動子及び複数の受信用振動子のうち、いずれかの振動子を使用せずに(いずれかの振動子を間引いて)、開口合成画像を生成することに着眼した。この際、振動子の間引き数(使用しない振動子の数)を大きくすればするほど、探傷時間を短縮可能であるものの、振動子の間引き数を大きくすればするほど、探傷性能(例えば、近接する2つの欠陥を2つに識別できる識別性能など)が低下するため、探傷性能が損なわれない限度内で、間引き数を大きくする必要がある。
本発明者らの知見によれば、振動子の適切な間引き方(探傷性能が損なわれない間引き方)は、欠陥位置の影響を受ける。そこで、本発明者らは、被探傷材の内部に存在する欠陥を検出するための超音波探傷を行う超音波探触子(本明細書では、これを「第2超音波探触子」と称する)とは別に、大まかな欠陥位置を事前に把握するための超音波探触子(本明細書では、これを「第1超音波探触子」と称する)を用意し、第1超音波探触子を用いて被探傷材の内部の様子を画像化した画像(被探傷材に欠陥が存在する場合、この画像には、欠陥位置が反映されることになる)を生成し、この画像に基づき、第2超音波探触子が有する振動子の適切な間引き方を推定する予測モデルを構築すれば良いことに想到した。具体的には、第1超音波探触子で生成された画像を入力とし、好適探傷条件(探傷性能が損なわれない限度内で間引き数の大きな、間引き後の振動子の数・位置)を出力とする予測モデルを、機械学習を用いて生成し、この予測モデルに第1超音波探触子で生成された画像を入力することで、第2超音波探触子について探傷性能が損なわれない限度内で間引き数の大きな適切な間引き方を推定可能であることを見出した。
本発明は、上記本発明者らの知見に基づき完成したものである。
【0008】
すなわち、前記課題を解決するため、本発明は、被探傷材の内部に存在する欠陥を検出する超音波探傷装置であって、複数の送信用振動子及び複数の受信用振動子を有し、前記送信用振動子を用いて前記被探傷材に超音波を送信し、前記受信用振動子を用いて前記被探傷材の内部で反射したエコーを受信する第1超音波探触子と、前記第1超音波探触子で受信したエコーに基づいて、前記被探傷材の内部の様子を画像化した第1画像を生成する第1画像生成部と、機械学習を用いて生成された予測モデルを有し、前記第1画像を前記予測モデルに入力することで、前記被探傷材の探傷性能が損なわれない、送信用振動子の数、送信用振動子の位置、受信用振動子の数、及び、受信用振動子の位置から構成される好適探傷条件、を推定する、探傷条件推定部と、送信用振動子及び受信用振動子の組み合わせの数が前記第1超音波探触子が有する送信用振動子及び受信用振動子の組み合わせの数より多い、複数の送信用振動子及び複数の受信用振動子を有し、前記複数の送信用振動子のうち、前記好適探傷条件で定まる送信用振動子だけを用いて前記被探傷材に超音波を送信し、前記複数の受信用振動子のうち、前記好適探傷条件で定まる受信用振動子だけを用いて前記被探傷材の内部で反射したエコーを受信する第2超音波探触子と、前記第2超音波探触子で受信したエコーに基づいて、前記被探傷材の内部の様子を画像化した第1開口合成画像を生成する第2画像生成部と、前記第1開口合成画像に基づいて、前記被探傷材の内部に存在する欠陥を検出する欠陥検出部と、を備える、超音波探傷装置を提供する。
【0009】
本発明において、「送信用振動子」及び「受信用振動子」は、それぞれ別の振動子であってもよいし、同じ振動子(すなわち、一の振動子が、超音波の送信に用いられると共にエコーの受信にも用いられる)であってもよい。
本発明において、「第1超音波探触子」は、必ずしも第2超音波探触子とは物理的に別体の超音波探触子に限るものではなく、第2超音波探触子が有する複数の送信用振動子及び複数の受信用振動子のうちの一部を、第1超音波探触子が有する複数の送信用振動子及び複数の受信用振動子として使用する場合も含む概念である。
本発明において、「第1画像」は、2次元画像であってもよいし、3次元画像であってもよい。また、「第1画像」は、開口合成画像であってもよいし、開口合成処理を施さない通常の輝度値で表される画像であってもよい。
本発明において、「好適探傷条件」は、第2超音波探触子が有する複数の送信用振動子及び複数の受信用振動子のうち、被探傷材の探傷性能が損なわれない、送信用振動子及び受信用振動子の数と、送信用振動子及び受信用振動子の位置とで構成される条件、換言すれば、探傷性能が損なわれない限度内で間引き数の大きな、間引き後の送信用振動子及び受信用振動子の数と、間引き後の送信用振動子及び受信用振動子の位置とで構成される条件を意味する。
本発明において、「探傷性能」としては、例えば、欠陥位置の検出性能、欠陥の大きさの検出性能、近接する2つの欠陥を2つに識別できる識別性能などを例示できる。「探傷性能が損なわれない」とは、第2超音波探触子が有する全ての送信用振動子及び全ての受信用振動子を用いて得られる開口合成画像に基づいて欠陥を検出する場合と、第2超音波探触子が有する全ての送信用振動子及び全ての受信用振動子のうち、好適探傷条件で定まる送信用振動子及び受信用振動子だけを用いて得られる開口合成画像(第1開口合成画像)に基づいて欠陥を検出する場合とを比較した場合に、両者の探傷性能の差が許容範囲内であることを意味する。
本発明において、「第1開口合成画像」は、2次元画像であってもよいし、3次元画像であってもよい。ただし、「第1画像」が2次元画像であるときには、「第1開口合成画像」も2次元画像とされ、「第1画像」が3次元画像であるときには、「第1開口合成画像」も3次元画像とされる。
【0010】
本発明によれば、第1画像生成部によって、第1超音波探触子で受信したエコーに基づいて、被探傷材の内部の様子を画像化した第1画像が生成される。そして、探傷条件推定部によって好適探傷条件が推定される。具体的には、探傷条件推定部が有する、機械学習を用いて生成された予測モデルに第1画像が入力されることで、予測モデルから好適探傷条件が出力される。
次に、本発明によれば、第2超音波探触子が有する複数の送信用振動子及び複数の受信用振動子のうち、好適探傷条件で定まる送信用振動子だけ(すなわち、間引きを行った後の送信用振動子だけ)を用いて被探傷材に超音波が送信され、好適探傷条件で定まる受信用振動子だけ(すなわち、間引きを行った後の受信用振動子だけ)を用いて被探傷材の内部で反射したエコーが受信され、第2画像生成部によって、第2超音波探触子で受信したエコーに基づいて、被探傷材の内部の様子を画像化した第1開口合成画像が生成される。
最後に、本発明によれば、欠陥検出部によって、第1開口合成画像に基づいて、被探傷材の内部に存在する欠陥が検出される。
以上のように、本発明によれば、被探傷材の内部に存在する欠陥の検出対象となる第1開口合成画像を、第2超音波探触子が有する複数の送信用振動子及び複数の受信用振動子のうち、好適探傷条件で定まる送信用振動子及び受信用振動子だけを用いて得られたエコーに基づいて生成するため、探傷性能を損なうことなく、計算負荷を低減可能で、探傷時間を短縮可能である。
(【0011】以降は省略されています)
この特許をJ-PlatPat(特許庁公式サイト)で参照する
関連特許
日本製鉄株式会社
棒鋼
19日前
日本製鉄株式会社
棒鋼
19日前
日本製鉄株式会社
鋳片
11日前
日本製鉄株式会社
耐力壁
4日前
日本製鉄株式会社
鋼部品
19日前
日本製鉄株式会社
溶接継手
25日前
日本製鉄株式会社
歯車装置
5日前
日本製鉄株式会社
表面処理鋼材
11日前
日本製鉄株式会社
溶鉄の製造方法
1か月前
日本製鉄株式会社
溶鉄の製造方法
1か月前
日本製鉄株式会社
機械構造用部品
20日前
日本製鉄株式会社
焼結鉱の製造方法
1か月前
日本製鉄株式会社
鋼の連続鋳造方法
19日前
日本製鉄株式会社
焼結鉱の製造方法
1か月前
日本製鉄株式会社
コイル巻き解き方法
12日前
日本製鉄株式会社
LF装置の操業方法
1か月前
日本製鉄株式会社
車両用フロントピラー
1か月前
日本製鉄株式会社
車両用センターピラー
1か月前
日本製鉄株式会社
仮設橋による施工方法
19日前
日本製鉄株式会社
腐食モニタリング装置
1か月前
日本製鉄株式会社
分析装置および分析方法
1か月前
日本製鉄株式会社
電気炉における精錬方法
11日前
日本製鉄株式会社
鋼板およびその製造方法
4日前
日本製鉄株式会社
鋼板およびその製造方法
4日前
日本製鉄株式会社
塊状耐火物の品質評価方法
13日前
日本製鉄株式会社
コークスの粉化量予測方法
1か月前
日本製鉄株式会社
成形体の曲げ性の評価方法
1か月前
日本製鉄株式会社
分離システム及び分離方法
1か月前
日本製鉄株式会社
内張補助装置及び施工方法
19日前
日本製鉄株式会社
分離システム及び分離方法
1か月前
日本製鉄株式会社
Cu含有鋼の連続鋳造方法
13日前
日本製鉄株式会社
鋼の連続鋳造鋳片の製造方法
1か月前
日本製鉄株式会社
鋼の連続鋳造鋳片の冷却方法
1か月前
日本製鉄株式会社
電気炉による溶鋼の製造方法
1か月前
日本製鉄株式会社
欠陥検査装置及び欠陥検査方法
1か月前
日本製鉄株式会社
コイルの巻き解き装置の管理方法
12日前
続きを見る
他の特許を見る