TOP
|
特許
|
意匠
|
商標
特許ウォッチ
Twitter
他の特許を見る
公開番号
2025176535
公報種別
公開特許公報(A)
公開日
2025-12-04
出願番号
2024082755
出願日
2024-05-21
発明の名称
画像形成装置、判定方法
出願人
京セラドキュメントソリューションズ株式会社
代理人
個人
,
個人
主分類
G03G
21/00 20060101AFI20251127BHJP(写真;映画;光波以外の波を使用する類似技術;電子写真;ホログラフイ)
要約
【課題】これまで判定できなかった紙詰まりの原因を判定可能な画像形成装置、及び判定方法を提供すること。
【解決手段】画像形成装置100は、搬送ローラーと、前記搬送ローラーによって搬送されるシートに画像を形成する画像形成部3と、画像形成部3を用いて前記シートに画像を形成する画像形成処理の実行中に、前記搬送ローラーによって搬送される前記シートが詰まる紙詰まりを検出する検出処理部81と、検出処理部81によって前記紙詰まりが検出された場合に、前記紙詰まりの発生区間に基づいて、前記紙詰まりの原因を判定する判定処理部82と、を備える。
【選択図】図4
特許請求の範囲
【請求項1】
シートを搬送するシート搬送部と、
前記シート搬送部によって搬送される前記シートに画像を形成する画像形成部と、
前記画像形成部を用いて前記シートに画像を形成する画像形成処理の実行中に、前記シート搬送部によって搬送される前記シートが詰まる紙詰まりを検出する検出処理部と、
前記検出処理部によって前記紙詰まりが検出された場合に、前記紙詰まりの発生区間に基づいて、前記紙詰まりの原因を判定する判定処理部と、
を備える画像形成装置。
続きを表示(約 1,400 文字)
【請求項2】
前記画像形成部は、前記シートに転写されたトナー像を当該シートに定着させる定着部を含み、
前記紙詰まりの原因は、前記シートにおける前記シートの搬送方向に直交する幅方向の両端部に設定される余白領域の幅が足りていない第1原因を含み、
前記判定処理部は、前記発生区間が前記定着部を含み、前記余白領域の幅が予め定められた基準値未満である場合に、前記紙詰まりの原因が前記第1原因であると判定する、
請求項1に記載の画像形成装置。
【請求項3】
前記紙詰まりの原因は、前記シートにおける前記シートの搬送方向のサイズが足りていない第2原因を含み、
前記判定処理部は、前記シートにおける前記搬送方向のサイズが前記発生区間に対応する基準サイズ未満である場合に、前記紙詰まりの原因が前記第2原因であると判定する、
請求項1に記載の画像形成装置。
【請求項4】
前記紙詰まりの原因は、前記シートにおける前記搬送方向のサイズが足りていない第2原因、及び前記シートの種類が前記シート搬送部による搬送に適していない第3原因を含み、
前記判定処理部は、前記シートにおける前記搬送方向のサイズが前記発生区間に対応する基準サイズ未満である場合に、前記紙詰まりの原因が前記第2原因であると判定し、前記紙詰まりの原因が前記第1原因及び前記第2原因ではなく、前記シートの種類が予め定められた特定種類のいずれかに該当する場合に、前記紙詰まりの原因が前記第3原因であると判定する、
請求項2に記載の画像形成装置。
【請求項5】
前記紙詰まりの原因は、前記発生区間に存在する前記シート搬送部が故障している第4原因を含み、
前記判定処理部は、前記紙詰まりの原因が前記第1原因、前記第2原因、及び前記第3原因ではない場合に、前記紙詰まりの原因が前記第4原因であると判定する、
請求項4に記載の画像形成装置。
【請求項6】
前記判定処理部によって前記紙詰まりの原因が前記第4原因であると判定された場合であって、前記画像形成処理の実行条件を変更することなく且つ故障していると判定された前記シート搬送部を経由することなく前記シートを搬送可能な第1搬送経路が存在する場合に、前記画像形成処理における前記シートの搬送経路を前記発生区間を経由する第2搬送経路から前記第1搬送経路に切り換える切替処理部を備える、
請求項5に記載の画像形成装置。
【請求項7】
前記判定処理部による判定結果を報知する報知処理部を備える、
請求項1~6のいずれかに記載の画像形成装置。
【請求項8】
シートを搬送するシート搬送部と、前記シート搬送部によって搬送される前記シートに画像を形成する画像形成部と、を備える画像形成装置で実行される判定方法であって、
前記画像形成部を用いて前記シートに画像を形成する画像形成処理の実行中に、前記シート搬送部によって搬送される前記シートが詰まる紙詰まりを検出する検出ステップと、
前記検出ステップによって前記紙詰まりが検出された場合に、前記紙詰まりの発生区間に基づいて、前記紙詰まりの原因を判定する判定ステップと、
を含む判定方法。
発明の詳細な説明
【技術分野】
【0001】
本発明は、画像形成装置、及び判定方法に関する。
続きを表示(約 1,700 文字)
【背景技術】
【0002】
プリンターなどの画像形成装置は、シート搬送部と、画像形成部とを備える。前記シート搬送部は、シートを搬送する。前記画像形成部は、前記シート搬送部によって搬送される前記シートに画像を形成する。
【0003】
この種の画像形成装置では、前記画像形成部を用いて前記シートに画像を形成する画像形成処理の実行中に、前記シート搬送部によって搬送される前記シートが詰まる紙詰まりが発生することがある。これに対し、前記シートのスキャン画像などに基づいて、前記紙詰まりの原因を判定する画像形成装置が関連技術として知られている。
【先行技術文献】
【特許文献】
【0004】
特開2017-225081号公報
【発明の概要】
【発明が解決しようとする課題】
【0005】
ところで、前記画像形成装置が電子写真方式で画像を形成する場合には、トナー像が転写された前記シートが定着ベルトなどの定着部材に巻き付くことにより、前記紙詰まりが発生することがある。また、前記画像形成装置では、前記シートが、前記シートの搬送方向に沿って並ぶ2つの搬送ローラーのうちの下流側の前記搬送ローラーに到達する前に上流側の前記搬送ローラーから離れることにより、前記紙詰まりが発生することがある。しかしながら、上述の関連技術に係る画像形成装置では、これら2つの前記紙詰まりの原因を判定することができない。
【0006】
本発明の目的は、これまで判定できなかった紙詰まりの原因を判定可能な画像形成装置、及び判定方法を提供することにある。
【課題を解決するための手段】
【0007】
本発明の一の局面に係る画像形成装置は、シート搬送部と、画像形成部と、検出処理部と、判定処理部とを備える。前記シート搬送部は、シートを搬送する。前記画像形成部は、前記シート搬送部によって搬送される前記シートに画像を形成する。前記検出処理部は、前記画像形成部を用いて前記シートに画像を形成する画像形成処理の実行中に、前記シート搬送部によって搬送される前記シートが詰まる紙詰まりを検出する。前記判定処理部は、前記検出処理部によって前記紙詰まりが検出された場合に、前記紙詰まりの発生区間に基づいて、前記紙詰まりの原因を判定する。
【0008】
本発明の他の局面に係る判定方法は、シートを搬送するシート搬送部と、前記シート搬送部によって搬送される前記シートに画像を形成する画像形成部と、を備える画像形成装置で実行され、検出ステップと、判定ステップとを含む。前記検出ステップでは、前記画像形成部を用いて前記シートに画像を形成する画像形成処理の実行中に、前記シート搬送部によって搬送される前記シートが詰まる紙詰まりが検出される。前記判定ステップでは、前記検出ステップによって前記紙詰まりが検出された場合に、前記紙詰まりの発生区間に基づいて、前記紙詰まりの原因が判定される。
【発明の効果】
【0009】
本発明によれば、これまで判定できなかった紙詰まりの原因を判定可能である。
【図面の簡単な説明】
【0010】
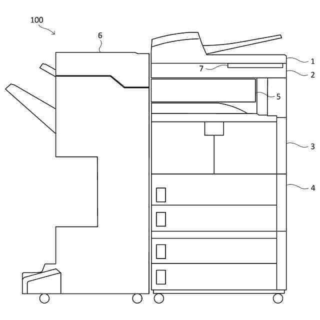
図1は、本発明の実施形態に係る画像形成装置の構成を示す図である。
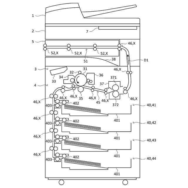
図2は、本発明の実施形態に係る画像形成装置の画像形成部、第1搬送部、及び第2搬送部の構成を示す図である。
図3は、本発明の実施形態に係る画像形成装置の後処理部の構成を示す図である。
図4は、本発明の実施形態に係る画像形成装置のシステム構成を示すブロック図である。
図5は、本発明の実施形態に係る画像形成装置で実行される画像形成動作制御処理の一例を示すフローチャートである。
図6は、本発明の実施形態に係る画像形成装置で実行される原因判定処理の一例を示すフローチャートである。
【発明を実施するための形態】
(【0011】以降は省略されています)
この特許をJ-PlatPat(特許庁公式サイト)で参照する
関連特許
個人
表示装置
1か月前
個人
雨用レンズカバー
1か月前
株式会社シグマ
絞りユニット
2か月前
キヤノン株式会社
撮像装置
2か月前
キヤノン株式会社
撮像装置
3か月前
キヤノン株式会社
撮像装置
1か月前
平和精機工業株式会社
雲台
3か月前
日本精機株式会社
車両用投射装置
1か月前
キヤノン株式会社
撮像装置
1か月前
キヤノン株式会社
撮像装置
6日前
キヤノン株式会社
撮像装置
1か月前
キヤノン株式会社
撮像装置
2か月前
株式会社リコー
画像形成装置
3か月前
株式会社リコー
画像形成装置
1か月前
株式会社リコー
画像形成装置
29日前
株式会社リコー
画像形成装置
2か月前
株式会社リコー
画像形成装置
1か月前
株式会社リコー
画像形成装置
3か月前
株式会社リコー
画像形成装置
2か月前
株式会社リコー
画像形成装置
20日前
株式会社リコー
画像形成装置
1か月前
株式会社リコー
画像形成装置
3か月前
キヤノン株式会社
画像形成装置
1か月前
株式会社オプトル
プロジェクタ
2か月前
キヤノン株式会社
画像形成装置
3か月前
キヤノン株式会社
トナー
1か月前
キヤノン株式会社
トナー
1か月前
キヤノン株式会社
画像形成装置
14日前
キヤノン株式会社
トナー
2か月前
シャープ株式会社
画像形成装置
3か月前
キヤノン株式会社
トナー
3か月前
ブラザー工業株式会社
再生方法
3か月前
キヤノン株式会社
画像形成装置
1か月前
キヤノン株式会社
画像形成装置
3か月前
株式会社オプトル
プロジェクタ
3か月前
キヤノン株式会社
画像形成装置
3か月前
続きを見る
他の特許を見る