TOP
|
特許
|
意匠
|
商標
特許ウォッチ
Twitter
他の特許を見る
公開番号
2025176033
公報種別
公開特許公報(A)
公開日
2025-12-03
出願番号
2025136900,2021558981
出願日
2025-08-20,2020-04-02
発明の名称
医療・美容用放射線の照射のための照射モジュールおよび装置および方法
出願人
ジェイケイ-ホールディング ゲーエムベーハー
代理人
個人
,
個人
,
個人
主分類
A61N
5/06 20060101AFI20251126BHJP(医学または獣医学;衛生学)
要約
【課題】キャリアに配置される複数のLEDを備える、医療・美容用放射線の照射のための装置で使用する照射モジュールを提供する。
【解決手段】収容部20、30内に収容された、医療・美容用放射線の照射のための複数の照射モジュール40を備える、使用者10を医療・美容用放射線で照射するための装置にも関する。さらに、蛍光管、LED、有機LED、および高圧ランプを含む群より選択される、医療・美容用放射線の照射のための複数の照射モジュール40を備える、使用者10を医療・美容用放射線で照射するための方法に関する。改善された照射結果を達成することができる照射モジュールおよび装置および方法を提供するために、UVAスペクトル内の放射線を放出する第1のLEDの第1の群と、UVBスペクトル内の放射線を放出する第2のLEDの第2の群とがキャリアに配置される。
【選択図】図1
特許請求の範囲
【請求項1】
明細書に記載の発明。
発明の詳細な説明
【技術分野】
【0001】
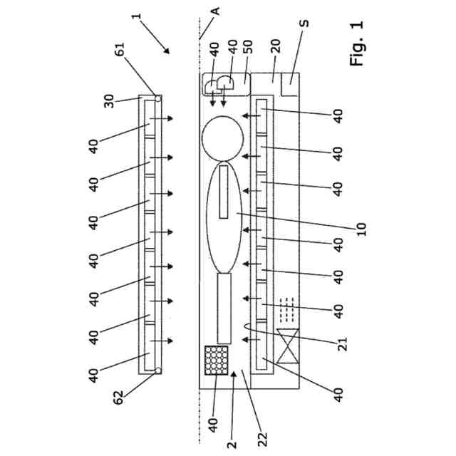
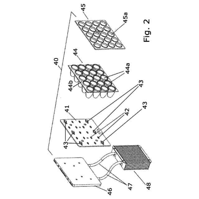
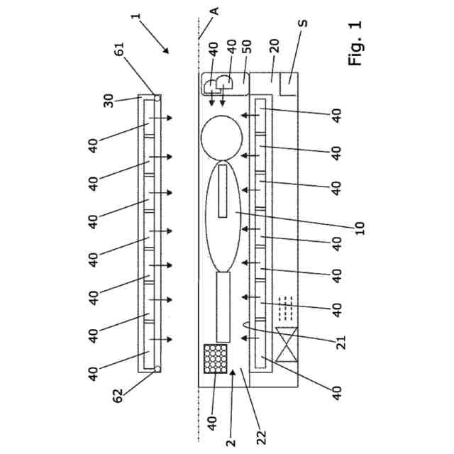
本発明は、キャリアに配置される複数のLEDを備える、医療・美容用放射線の照射のための装置で使用するための照射モジュールに関する。本発明はまた、収容部内に収容された、医療・美容用放射線の照射のための複数の照射モジュールを備える、医療・美容用放射線の照射のための装置および方法にも関する。
続きを表示(約 2,200 文字)
【背景技術】
【0002】
特にソラリウムとして形成された、肌を日焼けさせるために、使用者を特にUVAスペクトルおよびUVBスペクトルの紫外線放射に曝すための医療・美容用放射線の照射のための装置が、実際には公知である。この場合の照射モジュールは、ただし、比較的大きな収容部に収容する必要があり、かなりの空間を占める、低圧蛍光管または高圧ランプとして形成される。さらに、蛍光管および高圧ランプでは、所望の照射結果に合わせたカスタマイズされた調整がほとんど不可能であり、特に、これら公知の装置を異なる使用者に合わせて最適にカスタマイズすることができず、これは、照射の結果が痩せた人と太った人とで異なることを意味する。最後に、これら公知の装置は多くのエネルギーを消費する。
【0003】
皮膚の照射の分野では、医療・美容用放射線を放出するアセンブリが使用され、その放射線は、照射される人に光生物学的効果を引き起こす。人の皮膚はこの場合、医療・美容用放射線に曝されるが、放射線は特定の波長によって身体のより深い領域まで透過することができない。その効果には、例えば、肌の日焼けだけでなく、照射から生じるさらなる生理的効果および心理的効果も含まれる。医療・美容用放射線は、紫外線(UV)放射、可視(VIS)放射、および近赤外(NIR)放射のスペクトルを含む。この場合のUV放射は、100nm~約380nmのスペクトルの波長を有し、この場合のVIS放射は、約380nm~約780nmのスペクトルの波長を有し、この場合のNIR放射は、約780nm~1400nmのスペクトルの波長を有する。前述のスペクトルは重複し得る。医療および美容用途に応じて、照射は、前述のスペクトルの一部のスペクトルに集中され得る。この目的で、医療・美容用放射線を放出するアセンブリを、専用の個々の波長に、例えば、ビーム管によって生成されるUV放射などに割り当てることもできる。しかしながら、ビーム管の使用は必須ではない。その治療効果ゆえに、医療・美容用放射線を医療・美容用放射線治療とみなすこともできる。
【0004】
UVA放射のスペクトルは、約380nm~315nmの範囲であり、他方UVB放射のスペクトルは、約315nm~280nmの範囲である。280nm~約100nmは、人間に身体的害を引き起こす可能性があるUVC放射のスペクトルである。
【0005】
使用者の皮膚に影響を及ぼすための装置は、例えば、日焼けサロンで使用されるため、実際には公知であり、装置において被照射者は、色素沈着によって皮膚を日焼けさせる目的でリクライニング面または端面を形成するカバー上に横たわることができ、UV放射線を放出するアセンブリは、通常、複数のビーム管、特に蛍光管を用いてカバーの下に配置され、ビーム管にアクセスするためのカバーを取り外すかまたは枢動させることができる。そのような日焼け装置は、通常、人を両側から日焼けさせることができるように被照射者に対して一緒に枢動させることができるさらなるビーム管と第2のカバーとを有するさらなるモジュラーユニットも有する。
【0006】
被照射者がカバー上に水平に横たわるのではなく、垂直位置で、UV放射線を放出するアセンブリによって囲まれる、いわゆるスタンドアップ日焼けブースも実際には公知である。スタンドアップ日焼けブースでは、ビーム管は特に垂直方向に延在する。
【発明の概要】
【0007】
本発明の目的は、改善された照射結果がそれぞれ達成される照射モジュールまたは装置および照射方法を提供することである。
【0008】
この目的は、本発明によれば、独立請求項の特徴を有する照射モジュールまたは装置および照射方法によって達成される。
【0009】
本発明の一態様によれば、医療・美容用放射線の照射のための装置で使用するための放射モジュールであって、放射モジュールが、キャリアに配置される複数のLEDを備え、UVAスペクトルの放射線を放出する第1のLED群と、UVBスペクトルの放射線を放出する第2のLEDの第2の群とが配置された、放射モジュールが得られる。UVAスペクトルおよびUVBスペクトルからのLEDの混合配置により、特にUVBスペクトルのLEDがUVAスペクトルのLEDよりもはるかに高い光生物学的効果を有する有益な照射結果が達成される。照射モジュールを、照射のために装置内の様々な場所に、例えば、顔を照射するための領域、胴体を照射するための領域、および/または肩を照射するための領域に配置することができる。
【0010】
この場合のUVAスペクトルの第1のLEDとUVBスペクトルの第2のLEDとは、キャリアに配置された異なるチップとして形成されており、2つのLEDは放出特性に関しても異なる。この場合、LEDの接触も異なって実施され、第1の群のLEDは好ましくは一緒に作動され、第2の群のLEDもまた一緒に作動される。しかしながら、LEDを個別に作動させることも可能であり、または第1のLEDの複数の第1の群および第2のLEDの複数の第2の群を設けることさえも可能である。
(【0011】以降は省略されています)
この特許をJ-PlatPat(特許庁公式サイト)で参照する
関連特許
個人
貼付剤
1か月前
個人
簡易担架
20日前
個人
腋臭防止剤
20日前
個人
短下肢装具
4か月前
個人
足踏み器具
27日前
個人
嚥下鍛錬装置
5か月前
個人
前腕誘導装置
4か月前
個人
排尿補助器具
1か月前
個人
ウォート指圧法
1か月前
個人
汚れ防止シート
2か月前
個人
バッグ式オムツ
5か月前
個人
テスト肺
1日前
個人
矯正椅子
6か月前
個人
腰ベルト
1か月前
個人
歯の修復用材料
5か月前
個人
胸骨圧迫補助具
3か月前
個人
アイマスク装置
3か月前
個人
美容セット
29日前
個人
陣痛緩和具
5か月前
個人
湿布連続貼り機。
3か月前
個人
哺乳瓶冷まし容器
4か月前
個人
排尿排便補助器具
22日前
個人
シャンプー
7か月前
個人
歯の保護用シール
6か月前
株式会社コーセー
化粧料
1か月前
株式会社八光
剥離吸引管
6か月前
個人
性行為補助具
4か月前
個人
エア誘導コルセット
3か月前
株式会社大野
骨壷
5か月前
個人
治療用酸化防御装置
2か月前
株式会社松風
口腔用組成物
4か月前
株式会社ニデック
眼科装置
2か月前
株式会社ニデック
眼科装置
1か月前
個人
シリンダ式歩行補助具
4か月前
株式会社GSユアサ
歩行器
6か月前
個人
手指運動ツール
3か月前
続きを見る
他の特許を見る