TOP
|
特許
|
意匠
|
商標
特許ウォッチ
Twitter
他の特許を見る
10個以上の画像は省略されています。
公開番号
2025172085
公報種別
公開特許公報(A)
公開日
2025-11-20
出願番号
2025142036,2021193605
出願日
2025-08-28,2021-11-29
発明の名称
駐車支援方法および駐車支援装置
出願人
パナソニックオートモーティブシステムズ株式会社
代理人
弁理士法人酒井国際特許事務所
主分類
B60W
30/06 20060101AFI20251113BHJP(車両一般)
要約
【課題】走行経路に基づく車両の自動運転が可能となる位置を、運転者に容易に把握させることができる駐車支援方法および駐車支援装置を提供する。
【解決手段】本開示に係る駐車支援方法は、運転者による教師走行に基づいて、車両の自動走行を行う駐車支援方法であって、運転者による教師走行における走行経路に関する情報を記憶し、車両の周辺画像から抽出された特徴点に基づいて第1の位置情報を取得し、受信した衛星信号に基づいて第2の位置情報を取得し、第1の位置情報と、第2の位置情報と、走行経路とに基づいて、車両の駐車支援を行う。
【選択図】図5
特許請求の範囲
【請求項1】
運転者による教師走行に基づいて、車両の自動走行を行う駐車支援方法であって、
前記運転者による教師走行における走行経路に関する情報を記憶し、
前記車両の周辺画像から抽出された特徴点に基づいて第1の位置情報を取得し、
受信した衛星信号に基づいて第2の位置情報を取得し、
前記第1の位置情報と、前記第2の位置情報と、前記走行経路とに基づいて、前記車両の駐車支援を行う、
駐車支援方法。
続きを表示(約 930 文字)
【請求項2】
前記走行経路に基づき前記車両の駐車支援を行うことが可能な情報を表示させる、
請求項1に記載の駐車支援方法。
【請求項3】
操作ボタンにより駐車支援を開始する操作を行った場合に、前記自動走行を開始する、
請求項1に記載の駐車支援方法。
【請求項4】
タッチパネルにより駐車支援を開始する操作を行った場合に、前記自動走行を開始する、
請求項1に記載の駐車支援方法。
【請求項5】
前記走行経路における駐車位置から前記車両までの距離が閾値以下である場合に、前記駐車位置が近いことを報知する、
請求項1に記載の駐車支援方法。
【請求項6】
運転者による教師走行に基づいて、車両の自動走行を行う駐車支援装置であって、
前記運転者による教師走行における走行経路に関する情報を記憶する記憶部と、
前記車両の周辺画像から抽出された特徴点に基づいて第1の位置情報を推定する推定部と、
受信した衛星信号に基づいて第2の位置情報を取得する取得部と、
前記第1の位置情報と、前記第2の位置情報と、前記走行経路とに基づいて、前記車両の駐車支援を行う車両制御部と、
を備える駐車支援装置。
【請求項7】
前記走行経路に基づき前記車両の駐車支援を行うことが可能な情報を表示部に表示させる出力制御部、をさらに備える、
請求項6に記載の駐車支援装置。
【請求項8】
前記車両制御部は、操作ボタンにより駐車支援を開始する操作を行った場合に、前記自動走行を開始する、
請求項6に記載の駐車支援装置。
【請求項9】
前記車両制御部は、ユーザがタッチパネルにより駐車支援を開始する操作を行った場合に、前記自動走行を開始する、
請求項6に記載の駐車支援装置。
【請求項10】
前記走行経路における駐車位置から前記車両までの距離が閾値以下である場合に、前記駐車位置が近いことを報知する出力制御部、をさらに備える、
請求項6に記載の駐車支援装置。
発明の詳細な説明
【技術分野】
【0001】
本開示は、駐車支援方法および駐車支援装置に関する。
続きを表示(約 2,400 文字)
【背景技術】
【0002】
従来、車両の駐車の際に自動運転により車両を移動させる駐車支援の技術が知られている。このような駐車支援の1つに、運転者による教師走行に基づいて走行経路を学習し、当該学習結果を利用して、駐車支援を行う技術がある。当該技術は例えば運転者の自宅または勤務先等の駐車場など、決まった駐車位置への駐車を繰り返し行なう場合に利用される。
【先行技術文献】
【特許文献】
【0003】
特許第6022447号公報
【発明の概要】
【発明が解決しようとする課題】
【0004】
しかしながら、運転者が駐車支援を利用して車両を駐車させる際に、学習された走行経路からあまりに離れた位置に車両を停止させると、走行経路に基づく自動運転によって当該車両を移動させることが困難な場合がある。
【0005】
本開示は、走行経路に基づく車両の自動運転が可能となる位置を、運転者に容易に把握させることができる駐車支援方法および駐車支援装置を提供する。
【課題を解決するための手段】
【0006】
本開示に係る駐車支援方法は、運転者による教師走行に基づいて、車両の自動走行を行う駐車支援方法であって、運転者による教師走行における走行経路に関する情報を記憶し、車両の周辺画像から抽出された特徴点に基づいて第1の位置情報を取得し、受信した衛星信号に基づいて第2の位置情報を取得し、第1の位置情報と、第2の位置情報と、走行経路とに基づいて、車両の駐車支援を行う。
【発明の効果】
【0007】
本開示に係る駐車支援方法および駐車支援装置によれば、車両が走行経路に基づく自動運転によって駐車位置に移動可能な位置を、運転者に容易に把握させることができる。
【図面の簡単な説明】
【0008】
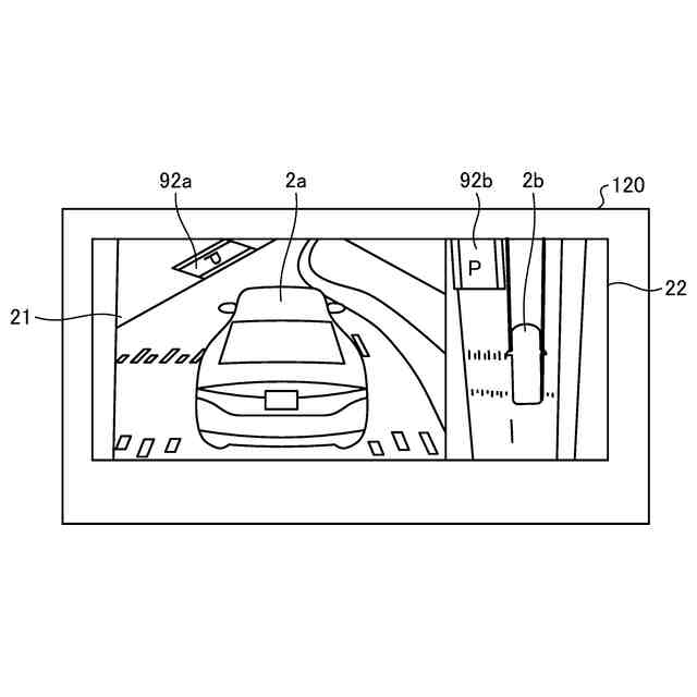
図1は、第1の実施形態に係る駐車支援装置を備える車両の一例を示す図である。
図2は、第1の実施形態に係る車両の運転席近傍の構成の一例を示す図である。
図3は、第1の実施形態に係る駐車支援の一例について説明する図である。
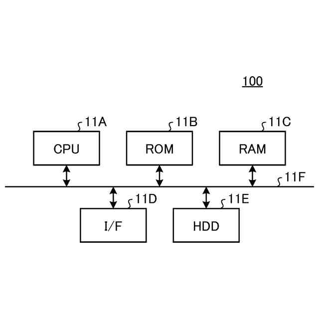
図4は、第1の実施形態に係る駐車支援装置のハードウェア構成の一例を示す図である。
図5は、第1の実施形態に係る駐車支援装置が備える機能一例を示すブロック図である。
図6は、第1の実施形態に係るヘッドアップディスプレイに表示された走行開始位置を示す画像の一例を示す図である。
図7は、第1の実施形態に係る表示装置に表示された走行開始位置を示す画像の一例を示す図である。
図8は、第1の実施形態に係る駐車支援装置で実行される駐車支援処理の流れの一例を示すフローチャートである。
図9は、第2の実施形態に係る駐車支援の一例について説明する図である。
図10は、第2の実施形態に係る駐車開始可能域に関する案内情報の一例を示す図である。
図11は、第2の実施形態に係る駐車開始可能域に関する案内情報の他の一例を示す図である。
図12は、第2の実施形態に係る駐車支援装置で実行される駐車支援処理の流れの一例を示すフローチャートである。
図13は、第3の実施形態に係る駐車支援の一例について説明する図である。
図14は、第3の実施形態に係る駐車支援装置で実行される駐車支援処理の流れの一例を示すフローチャートである。
図15は、変形例1に係るヘッドアップディスプレイに表示された走行開始位置を示す画像の一例を示す図である。
図16は、変形例2に係る表示装置に表示された走行開始位置を示す画像の一例を示す図である。
図17は、変形例3に係る表示装置に表示された走行開始位置を示す画像の一例を示す図である。
図18は、変形例4に係る表示装置に表示された第2の案内画像の一例を示す図である。
図19は、変形例5に係る表示装置に表示された第2の案内画像の一例を示す図である。
図20は、変形例6に係るヘッドアップディスプレイに表示された第1の案内画像の一例を示す図である。
図21は、第4の実施形態に係る車両が走行経路に合流可能な位置に到達する前に表示される案内情報の一例を示す図である。
図22は、第4の実施形態に係る車両が走行経路に合流可能な位置に到達した後に表示される案内情報の一例を示す図である。
図23は、第4の実施形態に係る車両が走行経路に沿った自動駐車を開始した後に表示される案内情報の一例を示す図である。
図24は、第4の実施形態に係る車両が走行経路に合流可能な位置に到達する前の状態の一例を示す図である。
図25は、第4の実施形態に係る車両が走行経路に合流可能な位置に到達した後の状態の一例を示す図である。
図26は、第4の実施形態に係る駐車支援装置で実行される駐車支援処理の流れの一例を示すフローチャートである。
図27は、第5の実施形態に係る案内情報の一例を示す図である。
【発明を実施するための形態】
【0009】
以下、図面を参照しながら、本開示に係る駐車支援方法および駐車支援装置の実施形態について説明する。
【0010】
(第1の実施形態)
図1は、第1の実施形態に係る駐車支援装置100を備える車両1の一例を示す図である。図1に示すように、車両1は、車体12と、車体12に所定方向に沿って配置された2対の車輪13とを備える。2対の車輪13は、1対のフロントタイヤ13f及び1対のリアタイヤ13rを備える。
(【0011】以降は省略されています)
この特許をJ-PlatPat(特許庁公式サイト)で参照する
関連特許
個人
カーテント
5か月前
個人
タイヤレバー
3か月前
個人
前輪キャスター
3か月前
個人
上部一体型自動車
1か月前
個人
空間形成装置
24日前
個人
ルーフ付きトライク
3か月前
個人
ホイルのボルト締結
4か月前
個人
タイヤ脱落防止構造
2か月前
個人
車輪清掃装置
5か月前
日本精機株式会社
表示装置
3か月前
日本精機株式会社
表示装置
3か月前
井関農機株式会社
作業車両
5か月前
日本精機株式会社
表示装置
3か月前
日本精機株式会社
照明装置
19日前
日本精機株式会社
表示装置
3か月前
井関農機株式会社
作業車両
5か月前
個人
マスタシリンダ
1か月前
個人
キャンピングトライク
5か月前
個人
車両通過構造物
3か月前
個人
乗合路線バスの客室装置
4か月前
個人
キャンピングトレーラー
5か月前
個人
車両用スリップ防止装置
5か月前
個人
常設収納型サンバイザー
1か月前
個人
アクセルのソフトウェア
5か月前
個人
ワイパーゴム性能保持具
6か月前
株式会社クラベ
ヒータユニット
6か月前
株式会社豊田自動織機
産業車両
3か月前
個人
円湾曲ホイール及び球体輪
4か月前
日本精機株式会社
画像投映装置
1か月前
個人
車載小物入れ兼雨傘収納具
4か月前
株式会社ニフコ
照明装置
3か月前
日本精機株式会社
車載表示装置
25日前
日本精機株式会社
車室演出装置
2か月前
日本精機株式会社
車載表示装置
27日前
日本精機株式会社
車載表示装置
1か月前
日本精機株式会社
車載表示装置
2か月前
続きを見る
他の特許を見る