TOP
|
特許
|
意匠
|
商標
特許ウォッチ
Twitter
他の特許を見る
10個以上の画像は省略されています。
公開番号
2025171978
公報種別
公開特許公報(A)
公開日
2025-11-20
出願番号
2025068055
出願日
2025-04-17
発明の名称
ブラケット
出願人
株式会社ヤマグチレッカー
代理人
個人
,
個人
主分類
B60P
7/06 20060101AFI20251113BHJP(車両一般)
要約
【課題】車両移動用台車の積み降ろしや固定を効率良く行うことができるブラケットを提供すること。
【解決手段】ブラケット1は、上側及び前側に開口する支持板11により車輪支持部材を支持する台車支持部10と、支持板11に支持された前記車輪支持部材の外周部を固定する扉板部20と、扉板部20を回動自在に支持する回動支持部30と、支持板11に対して扉板部20が閉じられると扉板部20の回動を規制し、前記規制が解除されると扉板部20の回動を許容するロック部40と、を備え、支持板11の前記前側から積まれた前記車両移動用台車が支持板11に支持され、支持板11に対して扉板部20が閉じられると、ロック部40により扉板部20の回動が規制された状態となり、前記規制が解除されて扉板部20の回動が許容された状態となり、支持板11に対して扉板部20が開かれると、前記車両移動用台車を前記前側から取り出し可能となる。
【選択図】図2
特許請求の範囲
【請求項1】
車輪支持部材の長手方向の両端側にそれぞれ車輪を備える車両移動用台車を固定するためのブラケットであって、
上側及び前側に開口する支持板によって、前記車輪支持部材を支持する台車支持部と、
前記支持板に支持された前記車輪支持部材の外周部を固定する扉板部と、
前記扉板部を回動自在に支持する回動支持部と、
前記支持板に対して前記扉板部が閉じられると前記扉板部の回動を規制し、前記規制が解除されると前記扉板部の回動を許容するロック部と、
を備え、
前記支持板の前記前側から積まれた前記車両移動用台車が前記支持板に支持され、前記支持板に対して前記扉板部が閉じられると、前記ロック部により前記扉板部の回動が規制された状態となり、
前記規制が解除されて前記扉板部の回動が許容された状態となり、前記支持板に対して前記扉板部が開かれると、前記車両移動用台車を前記前側から取り出し可能となるブラケット。
続きを表示(約 750 文字)
【請求項2】
前記支持板は、断面視で直交するように設けられた底板部及び背板部を備え、
前記扉板部は、断面視で直交するように設けられた前板部及び天板部を備え、
前記支持板の前記底板部及び前記背板部と、前記扉板部の前記前板部及び前記天板部とは、前記支持板に対して前記扉板部を閉じた状態において、前記車輪支持部材の外周部を覆うように配置される、
請求項1に記載のブラケット。
【請求項3】
前記ロック部は、
前記扉板部の内側に設けられた棒状部材と、
前記棒状部材と係合可能な鉤状部と、
前記台車支持部に設けられ、前記鉤状部を回動自在に支持する固定軸と、
前記鉤状部を前記棒状部材との係合を解除する方向に回動可能な操作レバーと、
前記鉤状部を、前記固定軸を中心として前記棒状部材と係合する方向に付勢する付勢部と、
を備え、
前記支持板に対して前記扉板部が閉じられると、前記鉤状部が前記棒状部材と係合して前記扉板部の回動を規制し、
前記操作レバーが前記鉤状部を前記棒状部材との係合を解除する方向に操作されると、前記鉤状部が前記付勢部の付勢力に抗して前記棒状部材との係合を解除する方向に回動する、
請求項1に記載のブラケット。
【請求項4】
前記支持板に対して前記扉板部が閉じられた状態において、前記扉板部の回動を抑制する施錠位置と、前記扉板部の回動を許容する開錠位置とに切り替え可能な鍵部を備える、
請求項3に記載のブラケット。
【請求項5】
前記支持板の前記背板部は、高さ方向の上側に傾斜部を有する、
請求項2に記載のブラケット。
発明の詳細な説明
【技術分野】
【0001】
本発明は、ブラケットに関する。
続きを表示(約 1,800 文字)
【背景技術】
【0002】
従来、車両をレッカー車で牽引して移動する場合、車両の後輪又は前輪を載せるドーリーと呼ばれる車両移動用台車が用いられている(例えば、特許文献1、2参照)。
【先行技術文献】
【特許文献】
【0003】
特開2014-76709号公報
特開2024-94647号公報
【発明の概要】
【発明が解決しようとする課題】
【0004】
一般的な小型レッカー車の荷台には、車両移動用台車を積載するためのブラケットが設置されている。従来のブラケットは、車両移動用台車を載せる部分が上側に開口した凹形状であった。そのため、車両移動用台車を積み下ろしする場合、作業者は、車両移動用台車をブラケットの開口よりも上に持ち上げながら作業をする必要があった。また、従来のブラケットは、搬送中の振動等により車両移動用台車が外れてしまうおそれがあった。そのため、作業者は、車両移動用台車とブラケットとをチェーン錠等で施錠したり、施錠を解除したりする必要があった。
本発明は、車両移動用台車の積み降ろしや固定を効率良く行うことができるブラケットを提供することを目的とする。
【課題を解決するための手段】
【0005】
本発明の一態様は、車輪支持部材の長手方向の両端側にそれぞれ車輪を備える車両移動用台車を固定するためのブラケットであって、上側及び前側に開口する支持板によって、前記車輪支持部材を支持する台車支持部と、前記支持板に支持された前記車輪支持部材の外周部を固定する扉板部と、前記扉板部を回動自在に支持する回動支持部と、前記支持板に対して前記扉板部が閉じられると前記扉板部の回動を規制し、前記規制が解除されると前記扉板部の回動を許容するロック部と、を備え、前記支持板の前記前側から積まれた前記車両移動用台車が前記支持板に支持され、前記支持板に対して前記扉板部が閉じられると、前記ロック部により前記扉板部の回動が規制された状態となり、前記規制が解除されて前記扉板部の回動が許容された状態となり、前記支持板に対して前記扉板部が開かれると、前記車両移動用台車を前記前側から取り出し可能となるブラケットである。
【発明の効果】
【0006】
本発明によれば、車両移動用台車の積み降ろしや固定を効率良く行うことができるブラケットを提供することができる。
【図面の簡単な説明】
【0007】
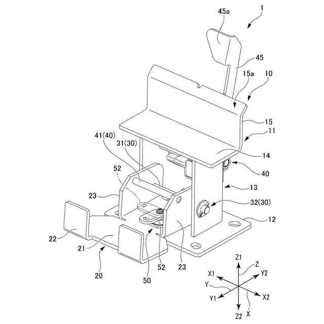
実施形態に係るブラケットが設置されたレッカー車及びブラケットに固定された車両移動用台車を示す概念図である。
扉板部を閉じたブラケットを正面側の斜め方向から視た斜視図である。
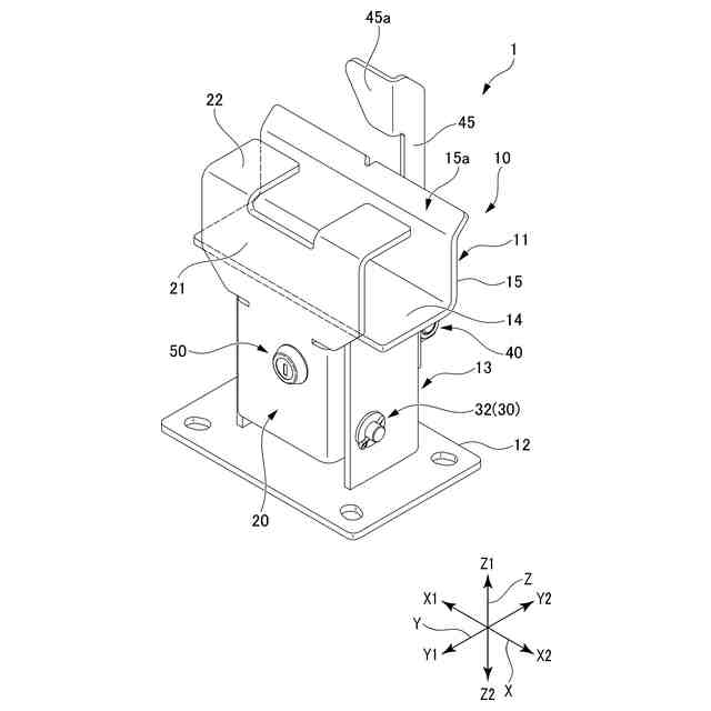
扉板部を開いたブラケットを正面側の斜め方向から視た斜視図である。
扉板部を閉じたブラケットを背面側の斜め方向から視た斜視図である。
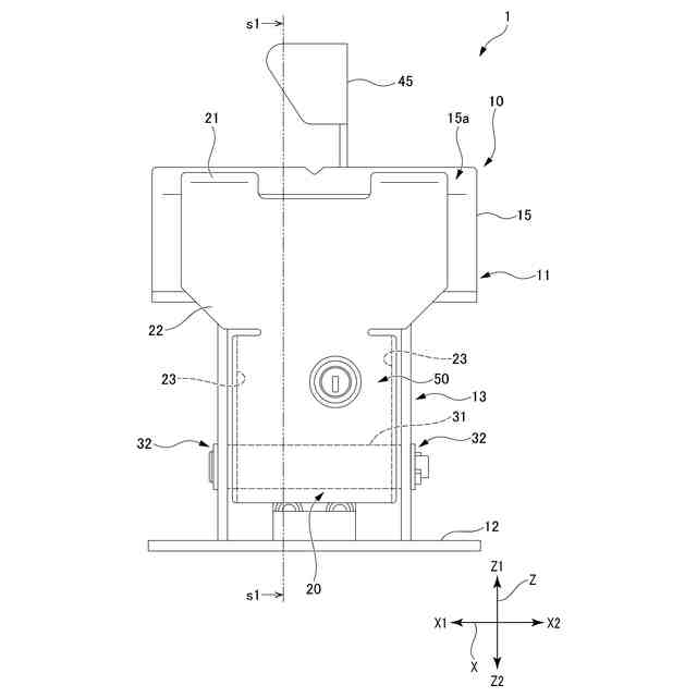
ブラケットの正面図である。
図5のs1-s1線断面図である。
ブラケットの背面図とその部分拡大図である。
ブラケットに車両移動用台車を載せた状態を示す斜視図である。
ブラケットに車両移動用台車を固定した状態を示す斜視図である。
【発明を実施するための形態】
【0008】
以下、本発明に係るブラケットの実施形態について説明する。なお、本明細書に添付した図面は、いずれも模式図であり、理解しやすさ等を考慮して、各部の形状、縮尺、縦横の寸法比等を、実物から変更又は誇張している。また、図面においては、部材の断面を示すハッチングを適宜に省略する。
【0009】
本明細書等において、形状、幾何学的条件、これらの程度を特定する用語、例えば、「直交」、「方向」等の用語については、その用語の厳密な意味に加えて、ほぼ直交等とみなせる程度の範囲、概ねその方向とみなせる範囲を含む。
【0010】
また、本明細書等においては、図1に示すように、ブラケット1をレッカー車5の荷台6に設置した状態において、ブラケット1を正面から見たときに、左右方向をX(X1-X2)方向、前後方向をY(Y1-Y2)方向、上下方向をZ(Z1-Z2)方向とする。なお、本明細書においては、「~方向」を適宜に「~側」ともいう。
(【0011】以降は省略されています)
この特許をJ-PlatPat(特許庁公式サイト)で参照する
関連特許
個人
タイヤレバー
4か月前
個人
前輪キャスター
3か月前
個人
上部一体型自動車
1か月前
個人
タイヤ脱落防止構造
3か月前
個人
空間形成装置
28日前
個人
ルーフ付きトライク
3か月前
個人
ホイルのボルト締結
4か月前
個人
車両通過構造物
4か月前
日本精機株式会社
表示装置
3か月前
日本精機株式会社
表示装置
3か月前
日本精機株式会社
表示装置
3か月前
日本精機株式会社
照明装置
23日前
個人
マスタシリンダ
2か月前
日本精機株式会社
表示装置
3か月前
個人
アクセルのソフトウェア
5か月前
個人
乗合路線バスの客室装置
4か月前
個人
車両用スリップ防止装置
5か月前
個人
常設収納型サンバイザー
1か月前
株式会社ニフコ
保持装置
4か月前
日本精機株式会社
車載表示装置
2か月前
日本精機株式会社
車載表示装置
29日前
株式会社ニフコ
収納装置
2か月前
個人
回転窓ワイパー装置
28日前
個人
音声ガイド、音声サービス
4か月前
日本精機株式会社
車載表示装置
1か月前
個人
円湾曲ホイール及び球体輪
4か月前
個人
車載小物入れ兼雨傘収納具
4か月前
日本精機株式会社
車載表示装置
1か月前
株式会社豊田自動織機
産業車両
3か月前
株式会社豊田自動織機
産業車両
23日前
株式会社ニフコ
照明装置
3か月前
日本精機株式会社
車載表示装置
5か月前
日本精機株式会社
画像投映装置
1か月前
日本精機株式会社
車室演出装置
3か月前
日本無線株式会社
取付金具
4か月前
日本精機株式会社
車両用表示装置
5か月前
続きを見る
他の特許を見る