TOP
|
特許
|
意匠
|
商標
特許ウォッチ
Twitter
他の特許を見る
10個以上の画像は省略されています。
公開番号
2025171775
公報種別
公開特許公報(A)
公開日
2025-11-20
出願番号
2024077432
出願日
2024-05-10
発明の名称
吸音材付タイヤ
出願人
TOYO TIRE株式会社
代理人
個人
,
個人
主分類
B60C
5/00 20060101AFI20251113BHJP(車両一般)
要約
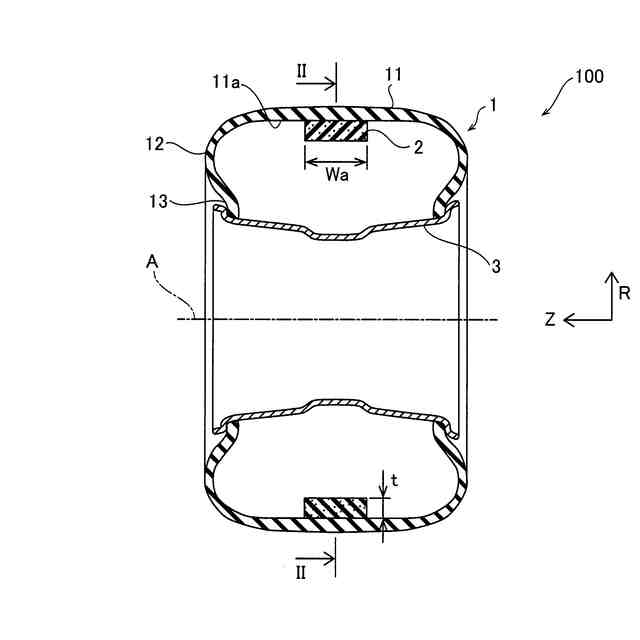
【課題】タイヤ本体内において吸音する部材から走行時にクズが発生するのを抑制することが可能な吸音材付タイヤを提供する。
【解決手段】この吸音材付きタイヤは、タイヤ本体1と、タイヤ本体1の内周面11aに貼り付けられ、タイヤ本体1の内周面11aの長さよりも短い周方向の長さを有する吸音材21と、タイヤ本体1の内周面11aに貼り付けられた状態の吸音材21の周方向の一方端21aと他方端21bとを接続するように配置された吸音補助片22と、を備える。吸音補助片22の周方向の長さL2は、タイヤ本体1の接地長LG以下である。
【選択図】図5
特許請求の範囲
【請求項1】
タイヤ本体と、
前記タイヤ本体の内周面に貼り付けられ、前記タイヤ本体の内周面の長さよりも短い周方向の長さを有する吸音材と、
前記タイヤ本体の内周面に貼り付けられた状態の前記吸音材の周方向の一方端と他方端とを接続するように配置された吸音補助片と、を備え、
前記吸音補助片の周方向の長さは、前記タイヤ本体の接地長以下である、吸音材付タイヤ。
続きを表示(約 870 文字)
【請求項2】
前記吸音材と前記吸音補助片とは、互いに周方向に対向する部分のうち、前記タイヤ本体の半径方向における内側部分が接着層により互いに接着されることにより相対的に移動するのが規制された状態で周方向において接続している、請求項1に記載の吸音材付タイヤ。
【請求項3】
前記吸音材と前記吸音補助片とは、互いに周方向に対向する部分のうち、前記タイヤ本体の半径方向における内側部分が互いに圧縮されることにより相対的に移動するのが規制された状態で周方向において接続している、請求項1に記載の吸音材付タイヤ。
【請求項4】
前記吸音材と前記吸音補助片とは、前記タイヤ本体の半径方向における内側部分の圧縮率が外側部分の圧縮率よりも大きい状態で互いに圧縮されて周方向において接続している、請求項3に記載の吸音材付タイヤ。
【請求項5】
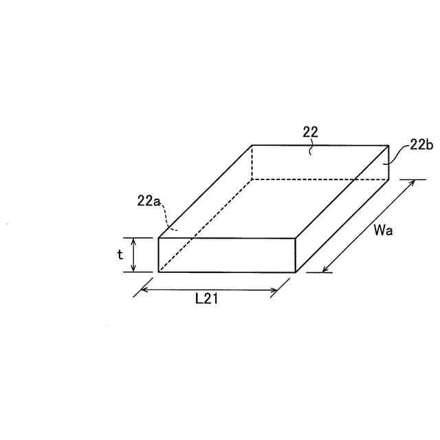
前記吸音補助片は、周方向において160mm以下の長さを有する、請求項1に記載の吸音材付タイヤ。
【請求項6】
前記吸音補助片は、周方向において30mm以上の長さを有する、請求項5に記載の吸音材付タイヤ。
【請求項7】
前記吸音補助片は、周方向における自然長が、幅方向の長さと略同じ長さを有し、半径方向に見て正方形形状を有する、請求項1に記載の吸音材付タイヤ。
【請求項8】
前記吸音材と前記吸音補助片とは、接着層により前記タイヤ本体の内周面に貼り付けられている、請求項1に記載の吸音材付タイヤ。
【請求項9】
前記吸音補助片は、第1吸音補助片および第2吸音補助片を含み、
前記第1吸音補助片および前記第2吸音補助片の各々は、前記吸音材に対して相対的に移動するのが規制された状態で周方向において接続している、請求項1に記載の吸音材付タイヤ。
【請求項10】
前記吸音材と前記吸音補助片とは、互いに同質のスポンジ材により形成されている、請求項1に記載の吸音材付タイヤ。
発明の詳細な説明
【技術分野】
【0001】
この発明は、吸音材付タイヤに関する。
続きを表示(約 1,800 文字)
【背景技術】
【0002】
従来、吸音材付タイヤが知られている(たとえば、特許文献1参照)。
【0003】
上記特許文献1には、タイヤの内周面に制音用の帯状シート(吸音材)が貼り付けられた空気入りタイヤ(吸音材付タイヤ)が開示されている。
【先行技術文献】
【特許文献】
【0004】
特開2003-063208号公報
【発明の概要】
【発明が解決しようとする課題】
【0005】
上記特許文献1では、制音用の帯状シートがタイヤの内周面に貼り付けられるため、周方向の端面同士が接していると考えられる。この場合、制音用の帯状シートの周方向の端面同士が走行時に擦れてしまうため、擦れに起因するクズが発生してしまう。そこで、タイヤ本体内において吸音する部材から走行時にクズが発生するのを抑制することが望まれている。
【0006】
この発明は、上記のような課題を解決するためになされたものであり、この発明の1つの目的は、タイヤ本体内において吸音する部材から走行時にクズが発生するのを抑制することが可能な吸音材付タイヤを提供することである。
【課題を解決するための手段】
【0007】
上記目的を達成するために、この発明の一の局面による吸音材付タイヤは、タイヤ本体と、タイヤ本体の内周面に貼り付けられ、タイヤ本体の内周面の長さよりも短い周方向の長さを有する吸音材と、タイヤ本体の内周面に貼り付けられた状態の吸音材の周方向の一方端と他方端とを接続するように配置された吸音補助片と、を備え、吸音補助片の周方向の長さは、タイヤ本体の接地長以下である。
【0008】
この発明の一の局面による吸音材付タイヤでは、上記のように、吸音材の周方向の一方端と他方端とを接続するように配置された吸音補助片の周方向の長さは、タイヤ本体の接地長以下である。これにより、吸音補助片の周方向の長さを短くすることができるので、タイヤ本体が接地していない場合の吸音補助片の周方向の形状を直線形状に近づけることができる。これにより、タイヤ本体が接地した際に吸音補助片が接地に倣う直線形状に変形した場合でも、変形量を小さくすることができる。これにより、タイヤ本体の接地による変形に起因して、吸音補助片が大きく変形することがないので、吸音補助片の周方向の端面が吸音材に対して擦れるのを抑制することができる。その結果、タイヤ本体内において吸音する部材から走行時にクズが発生するのを抑制することができる。また、吸音材の周方向の一方端と他方端とを接続するように吸音補助片を配置することにより、吸音補助片の長さを短くすることができる。これにより、吸音補助片の長さが短い分、吸音補助片の周方向の長さの形成誤差(切り出し時の誤差)を小さくすることができるので、吸音材の周方向の一方端と他方端との間に吸音補助片を適切かつ容易に組み付けることができる。その結果、吸音する部材を端部同士が密着するようにタイヤ本体の内周面に組み付ける作業を適切かつ容易に行うことができる。
【0009】
上記一の局面による吸音材付タイヤにおいて、好ましくは、吸音材と吸音補助片とは、互いに周方向に対向する部分のうち、タイヤ本体の半径方向における内側部分が接着層により互いに接着されることにより相対的に移動するのが規制された状態で周方向において接続している。このように構成すれば、タイヤ本体の接地により変形量が大きくなる半径方向内側において、吸音材および吸音補助片が接着層により互いに接着されるので、走行時に吸音補助片の周方向の端面が吸音材に対して擦れるのを効果的に抑制することができる。
【0010】
上記一の局面による吸音材付タイヤにおいて、好ましくは、吸音材と吸音補助片とは、互いに周方向に対向する部分のうち、タイヤ本体の半径方向における内側部分が互いに圧縮されることにより相対的に移動するのが規制された状態で周方向において接続している。このように構成すれば、吸音材の周方向の一方端と他方端との間に配置された吸音補助片が周方向に復元しようとする弾性力により、吸音材と吸音補助片とを周方向において確実に密着させることができる。その結果、走行時に吸音補助片の周方向の端面が吸音材に対して擦れるのを効果的に抑制することができる。
(【0011】以降は省略されています)
この特許をJ-PlatPat(特許庁公式サイト)で参照する
関連特許
個人
タイヤレバー
3か月前
個人
前輪キャスター
3か月前
個人
上部一体型自動車
1か月前
個人
空間形成装置
24日前
個人
タイヤ脱落防止構造
2か月前
個人
ルーフ付きトライク
3か月前
個人
ホイルのボルト締結
4か月前
日本精機株式会社
照明装置
19日前
日本精機株式会社
表示装置
3か月前
個人
車両通過構造物
3か月前
個人
マスタシリンダ
1か月前
個人
キャンピングトライク
5か月前
日本精機株式会社
表示装置
3か月前
日本精機株式会社
表示装置
3か月前
日本精機株式会社
表示装置
3か月前
個人
乗合路線バスの客室装置
4か月前
個人
常設収納型サンバイザー
1か月前
個人
アクセルのソフトウェア
5か月前
個人
車両用スリップ防止装置
5か月前
個人
キャンピングトレーラー
5か月前
日本精機株式会社
車室演出装置
2か月前
株式会社豊田自動織機
産業車両
19日前
日本精機株式会社
車載表示装置
27日前
株式会社ニフコ
保持装置
4か月前
個人
音声ガイド、音声サービス
4か月前
株式会社ニフコ
収納装置
2か月前
個人
車載小物入れ兼雨傘収納具
4か月前
日本精機株式会社
車載表示装置
4か月前
日本精機株式会社
車載表示装置
1か月前
日本精機株式会社
車載表示装置
2か月前
株式会社豊田自動織機
産業車両
3か月前
個人
円湾曲ホイール及び球体輪
4か月前
株式会社ニフコ
照明装置
3か月前
日本精機株式会社
画像投映装置
1か月前
個人
回転窓ワイパー装置
24日前
日本精機株式会社
車載表示装置
25日前
続きを見る
他の特許を見る