TOP
|
特許
|
意匠
|
商標
特許ウォッチ
Twitter
他の特許を見る
公開番号
2025171451
公報種別
公開特許公報(A)
公開日
2025-11-20
出願番号
2024076811
出願日
2024-05-09
発明の名称
皮膚温調整装置
出願人
株式会社富士通ゼネラル
代理人
弁理士法人ドライト国際特許事務所
主分類
A61F
7/00 20060101AFI20251113BHJP(医学または獣医学;衛生学)
要約
【課題】利用者の皮膚に良好に「冷え」を継続して感じさせることができる皮膚温調整装置を提供する。
【解決手段】皮膚温調整装置11は、人体の皮膚に接触する伝熱体28、31と、伝熱体28、31に熱的に結合され、電流の供給に応じて吸熱し、最大冷却時に飽和冷却温度まで伝熱体28、31の温度を降下させるペルティエ素子と、電流を制御し、第1時間で飽和冷却温度から飽和冷却温度よりも高い刺激温度に伝熱体28、31の温度を昇温する昇温制御に続き、第1時間よりも長い第2時間で刺激温度から飽和冷却温度まで伝熱体28、31を冷却する降温制御を実施する制御部とを備える。
【選択図】図1
特許請求の範囲
【請求項1】
人体の皮膚に接触する伝熱体と、
前記伝熱体に熱的に結合され、電流の供給に応じて吸熱し、最大冷却時に飽和冷却温度まで前記伝熱体の温度を降下させるペルティエ素子と、
前記電流を制御し、第1時間で前記飽和冷却温度から前記飽和冷却温度よりも高い刺激温度に前記伝熱体の温度を昇温する昇温制御に続き、前記第1時間よりも長い第2時間で前記刺激温度から前記飽和冷却温度まで前記伝熱体を冷却する降温制御を実施する制御部と
を備えることを特徴とする皮膚温調整装置。
続きを表示(約 1,400 文字)
【請求項2】
請求項1に記載の皮膚温調整装置において、前記飽和冷却温度は、環境温度に対して20度以上の温度差で低い温度に設定されることを特徴とする皮膚温調整装置。
【請求項3】
請求項1に記載の皮膚温調整装置において、前記第1時間および前記第2時間は予め決められた値に設定されることを特徴とする皮膚温調整装置。
【請求項4】
請求項3に記載の皮膚温調整装置において、前記第2時間は、最大限に前記電流が供給される際に前記伝熱体が前記飽和冷却温度に達する時間以上に設定されることを特徴とする皮膚温調整装置。
【請求項5】
人体の皮膚に接触する伝熱体と、
前記伝熱体に熱的に結合され、電流の供給に応じて吸熱し、前記伝熱体の温度を降下させるペルティエ素子と、
前記電流を制御し、環境温度に対して20度以上の温度差で低い冷却温度から前記冷却温度よりも高い刺激温度に前記伝熱体の温度を昇温する昇温制御に続き、前記刺激温度から前記冷却温度まで前記伝熱体を冷却する降温制御を実施する制御部と
を備えることを特徴とする皮膚温調整装置。
【請求項6】
請求項5に記載の皮膚温調整装置において、前記昇温制御の時間および前記降温制御の時間は予め決められた値に設定されることを特徴とする皮膚温調整装置。
【請求項7】
請求項6に記載の皮膚温調整装置において、前記降温制御の時間は、最大限に前記電流が供給される際に前記伝熱体が前記冷却温度に達する時間以上に設定されることを特徴とする皮膚温調整装置。
【請求項8】
頸動脈の位置で人体の皮膚に接触する第1伝熱体と、
前記第1伝熱体に熱的に結合され、電流の供給に応じて吸熱し、前記第1伝熱体の温度を降下させる第1ペルティエ素子と、
前記人体の首後ろで皮膚に接触する第2伝熱体と、
前記第2伝熱体に熱的に結合され、電流の供給に応じて吸熱し、前記第2伝熱体の温度を降下させる第2ペルティエ素子と、
前記電流を制御し、前記第1伝熱体よりも前記第2伝熱体に低い温度を設定する第1モード、および、前記第2伝熱体よりも前記第1伝熱体に低い温度を設定する第2モードを切り替える制御部と
を備えることを特徴とする皮膚温調整装置。
【請求項9】
請求項8に記載の皮膚温調整装置において、前記第2モード中に、前記第1ペルティエ素子は、最大冷却時に飽和冷却温度まで前記第1伝熱体の温度を降下させ、前記制御部は、前記電流を制御し、第1時間で前記飽和冷却温度から前記飽和冷却温度よりも高い刺激温度に前記第1伝熱体の温度を昇温する昇温制御に続き、前記第1時間よりも長い第2時間で前記刺激温度から前記飽和冷却温度まで前記第1伝熱体を冷却する降温制御を実施することを特徴とする皮膚温調整装置。
【請求項10】
請求項8に記載の皮膚温調整装置において、前記第2モード中に、前記第1ペルティエ素子は、最大冷却時に飽和冷却温度まで前記第1伝熱体の温度を降下させ、前記制御部は、前記電流を制御し、環境温度に対して20度以上の温度差で低い冷却温度から前記冷却温度よりも高い刺激温度に前記第1伝熱体の温度を昇温する昇温制御に続き、前記刺激温度から前記冷却温度まで前記第1伝熱体を冷却する降温制御を実施することを特徴とする皮膚温調整装置。
発明の詳細な説明
【技術分野】
【0001】
本発明は、人体の皮膚に接触する伝熱体と、伝熱体に熱的に結合され、電流の供給に応じて吸熱するペルティエ素子とを備える皮膚温調整装置に関する。
続きを表示(約 1,800 文字)
【背景技術】
【0002】
特許文献1は身体温冷装置を開示する。身体温冷装置は、人体の皮膚に接触する伝熱体(プレート)と、伝熱体に熱的に結合され、電流の供給に応じて吸熱するペルティエ素子とを備える。制御部は、外気温から決められた温度差だけ低い目標温度を設定する。ペルティエ素子の吸熱に応じて伝熱体の温度は目標温度まで下降する。目標温度に到達後、決められた時間が経過すると、電流の供給は停止される。電流の供給が停止されると、伝熱体の温度は徐々に上昇していく。伝熱体の温度が上限温度に達すると、ペルティエ素子に電流は供給される。伝熱体は急激に冷却される。
【先行技術文献】
【特許文献】
【0003】
特開2021-186263号公報
【発明の概要】
【発明が解決しようとする課題】
【0004】
皮膚の冷覚は温度に順応する。ペルティエ素子が最大限に伝熱体を冷却していても、伝熱体が一定の温度に維持されると、皮膚は「冷え」を感じなくなってしまう(冷やされているという感覚を得にくくなる)。特許文献1の身体温冷装置では、伝熱体は目標温度まで急激に冷却される一方で、伝熱体の温度は目標温度から徐々に上昇する。伝熱体の温度が上昇する間に皮膚は「冷え」を感じることはできない。
【0005】
本発明は、利用者の皮膚に良好に「冷え」を継続して感じさせることができる皮膚温調整装置を提供することを目的とする。
【課題を解決するための手段】
【0006】
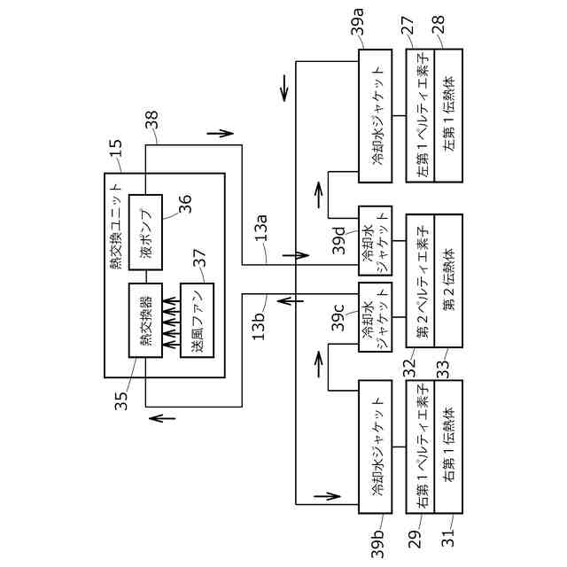
本発明の第1形態によれば、人体の皮膚に接触する伝熱体と、前記伝熱体に熱的に結合され、電流の供給に応じて吸熱し、最大冷却時に飽和冷却温度まで前記伝熱体の温度を降下させるペルティエ素子と、前記電流を制御し、第1時間で前記飽和冷却温度から前記飽和冷却温度よりも高い刺激温度に前記伝熱体の温度を昇温する昇温制御に続き、前記第1時間よりも長い第2時間で前記刺激温度から前記飽和冷却温度まで前記伝熱体を冷却する降温制御を実施する制御部とを備える皮膚温調整装置は提供される。ここで飽和冷却温度とは、所定の電圧(あるいは所定のデューティー比)でペルティエ素子に電流を供給した場合に、温度が平衡状態に達した状態の温度を指す。
【0007】
伝熱体の温度は飽和冷却温度からいちど上昇した後に再び飽和冷却温度に向かって下降していく。こうした温度変化は冷覚の順応を破壊することができる。温度が下降していく間に冷覚は刺激される。皮膚は「冷え」を感じることができる。その一方で、伝熱体が最大冷却時の飽和冷却温度に一定に維持されても、皮膚の冷覚は温度に順応することから皮膚は「冷え」を感じなくなってしまう。
【0008】
前記飽和冷却温度は、環境温度に対して20度以上の温度差で低い温度に設定されてもよい。環境温度に対して20度以上の温度差があると、昇温制御に応じて伝熱体の温度は短時間に昇温することができる。その一方で、環境温度との温度差が大きいと、ペルティエ素子に対して放熱の効率が低下することから、ペルティエ素子は徐々にしか降温することはできない。したがって、第2時間は第1時間に比べて十分に長く確保されることができる。
【0009】
前記第1時間および前記第2時間は予め決められた値に設定されればよい。PI制御といったフィードバック制御と違って、決められた時間間隔で確実に温度変化は実現されることができる。冷覚の順応は破壊されることができる。皮膚は「冷え」を感じ続けることができる。
【0010】
前記第2時間は、最大限に前記電流が供給される際に前記伝熱体が前記飽和冷却温度に達する時間以上に設定されればよい。こうして第2時間内に伝熱体は飽和冷却温度まで確実に冷却されることができる。降温制御に続き再び昇温制御が実施されても、過度の温度上昇は阻止されることができる。良好に昇温制御および降温制御は繰り返されることができる。仮に第2時間内で伝熱体が飽和冷却温度まで降下しないと、昇温制御および降温制御の繰り返しに応じて環境温度に関係なく冷却温度は上がってしまう。
(【0011】以降は省略されています)
この特許をJ-PlatPat(特許庁公式サイト)で参照する
関連特許
個人
貼付剤
1か月前
個人
簡易担架
18日前
個人
短下肢装具
4か月前
個人
腋臭防止剤
18日前
個人
足踏み器具
25日前
個人
前腕誘導装置
4か月前
個人
排尿補助器具
1か月前
個人
嚥下鍛錬装置
4か月前
個人
洗井間専家。
8か月前
個人
胸骨圧迫補助具
2か月前
個人
ホバーアイロン
7か月前
個人
ウォート指圧法
1か月前
個人
腰ベルト
1か月前
個人
矯正椅子
6か月前
個人
アイマスク装置
3か月前
個人
バッグ式オムツ
5か月前
個人
歯の修復用材料
5か月前
個人
汚れ防止シート
2か月前
個人
歯の保護用シール
6か月前
個人
哺乳瓶冷まし容器
4か月前
個人
排尿排便補助器具
20日前
個人
陣痛緩和具
4か月前
個人
シャンプー
7か月前
個人
湿布連続貼り機。
3か月前
個人
美容セット
27日前
株式会社八光
剥離吸引管
6か月前
個人
治療用酸化防御装置
2か月前
個人
エア誘導コルセット
3か月前
株式会社コーセー
化粧料
1か月前
個人
性行為補助具
4か月前
株式会社大野
骨壷
5か月前
個人
服薬支援装置
8か月前
株式会社ニデック
眼科装置
2か月前
個人
精力増強キット
2か月前
株式会社松風
口腔用組成物
4か月前
個人
シリンダ式歩行補助具
4か月前
続きを見る
他の特許を見る