TOP
|
特許
|
意匠
|
商標
特許ウォッチ
Twitter
他の特許を見る
公開番号
2025171277
公報種別
公開特許公報(A)
公開日
2025-11-20
出願番号
2024076441
出願日
2024-05-09
発明の名称
マッサージ機用エアセル及びマッサージ機
出願人
ファミリーイナダ株式会社
代理人
主分類
A61H
7/00 20060101AFI20251113BHJP(医学または獣医学;衛生学)
要約
【課題】エアセルに消音手段を一体的に設けたマッサージ用エアセル及び当該マッサージ用エアセルを備えたマッサージ機を提供することを目的とする。
【解決手段】空気の給排気により膨張収縮するエアセルであって、前記エアセルは、空気を給気するための給気口と、空気を排気するための排気口と、を有し、前記給気口には、空気を給気するための第1配管が接続されており、前記排気口には、空気を排気するための第2配管が接続されており、前記第1配管は、前記エアセルの内側に向かって所定の距離伸びていることを特徴とする。
【選択図】 図3
特許請求の範囲
【請求項1】
空気の給排気により膨張収縮するエアセルであって、
前記エアセルは、
空気を給気するための給気口と、
空気を排気するための排気口と、を有し、
前記給気口には、空気を給気するための第1配管が接続されており、
前記排気口には、空気を排気するための第2配管が接続されており、
前記第1配管は、前記エアセルの内側に向かって所定の距離伸びていることを特徴とするマッサージ機用エアセル。
続きを表示(約 750 文字)
【請求項2】
空気の給排気により膨張収縮するエアセルであって、
前記エアセルは、
空気を給気するための給気口と、
空気を排気するための排気口と、を有し、
前記給気口には、空気を給気するための第1配管が接続されており、
前記排気口には、空気を排気するための第2配管が接続されており、
前記第2配管は、前記エアセルの内側に向かって所定の距離伸びていることを特徴とするマッサージ機用エアセル。
【請求項3】
前記給気口と前記排気口は、同一直線上とならないよう位置ずれして設けられていることを特徴とする請求項1又は2に記載のマッサージ機用エアセル。
【請求項4】
前記位置ずれは、前記第1配管と前記第2配管とが互いに平行となるように構成されていることを特徴とする請求項3に記載のマッサージ機用エアセル。
【請求項5】
前記第1配管及び/又は前記第2配管には、給気音及び/又は排気音を消音するための消音機構が設けられていることを特徴とする請求項1又は2に記載のマッサージ機用エアセル。
【請求項6】
前記第1配管における所定の距離は、前記エアセルの中心よりも前記排気口よりに伸びていることを特徴とする請求項4に記載のマッサージ機用エアセル。
【請求項7】
前記第2配管における所定の距離は、前記エアセルの中心よりも前記給気口よりに伸びていることを特徴とする請求項4に記載のマッサージ機用エアセル。
【請求項8】
前記エアセルには、給気音及び/又は排気音を消音するための消音機構が設けられていることを特徴とする請求項1又は2に記載のマッサージ機用エアセル。
発明の詳細な説明
【技術分野】
【0001】
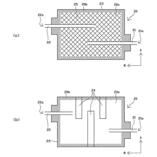
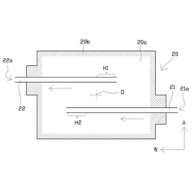
本発明はマッサージ機用エアセル及びマッサージ機に関する。
続きを表示(約 1,300 文字)
【背景技術】
【0002】
従来、エアセルにエアを給排気する際の給排気音の消音を図るため、エア給排気装置とエアセルの間に消音手段を備えたエアマッサージ機が提案されている(例えば、特許文献1参照)。
【先行技術文献】
【特許文献】
【0003】
特開平8-308895号公報
【発明の概要】
【発明が解決しようとする課題】
【0004】
上記特許文献1に記載の椅子型電動マッサージ機にあっては、エア給排気装置と接続されたエアホースと、エアセルと接続されたエアホースと、の間に消音手段が設けられているため、エア給排気装置やエアセルとは別に、消音手段を設けなければならないという問題がある。
そこで本発明は、上述した問題を解消するためになされたものであり、エアセルに消音手段を一体的に設けたマッサージ機用エアセル及び当該マッサージ機用エアセルを備えたマッサージ機を提供することを目的とする。
【課題を解決するための手段】
【0005】
本発明は、空気の給排気により膨張収縮するエアセルであって、前記エアセルは、空気を給気するための給気口と、空気を排気するための排気口と、を有し、前記給気口には、空気を給気するための第1配管が接続されており、前記排気口には、空気を排気するための第2配管が接続されており、前記第1配管は、前記エアセルの内側に向かって所定の距離伸びていることを特徴とする。
このような構成とすることにより、エアセルに給気する際に給気音を消音することができる。
【0006】
空気の給排気により膨張収縮するエアセルであって、前記エアセルは、空気を給気するための給気口と、空気を排気するための排気口と、を有し、前記給気口には、空気を給気するための第1配管が接続されており、前記排気口には、空気を排気するための第2配管が接続されており、前記第2配管は、前記エアセルの内側に向かって所定の距離伸びていることを特徴とする。
このような構成とすることにより、エアセルに排気する際に排気音を消音することができる。
【0007】
また、前記給気口と前記排気口は、同一直線上とならないよう位置ずれして設けられていることが好ましい。
このような構成とすることにより、消音効果を発揮することができる。
【0008】
また、前記位置ずれは、前記第1配管と前記第2配管とが互いに平行となるように構成されていることが好ましい。
このような構成とすることにより、消音効果を発揮することができる。
【0009】
また、前記第1配管及び/又は前記第2配管には、給気音及び/又は排気音を消音するための消音機構が設けられていることが好ましい。
このような構成とすることにより、エアセルからの排気音を消音することができる。
【0010】
また、前記第1配管における所定の距離は、前記エアセルの中心よりも前記排気口よりに伸びていることが好ましい。
このような構成とすることにより、給気の際の消音効果を高めることができる。
(【0011】以降は省略されています)
特許ウォッチbot のツイートを見る
この特許をJ-PlatPat(特許庁公式サイト)で参照する
関連特許
ファミリーイナダ株式会社
マッサージ機
今日
個人
貼付剤
1か月前
個人
簡易担架
25日前
個人
足踏み器具
1か月前
個人
短下肢装具
4か月前
個人
腋臭防止剤
25日前
個人
嚥下鍛錬装置
5か月前
個人
前腕誘導装置
4か月前
個人
排尿補助器具
1か月前
個人
洗井間専家。
8か月前
個人
胸骨圧迫補助具
3か月前
個人
ウォート指圧法
1か月前
個人
テスト肺
6日前
個人
歯の修復用材料
5か月前
個人
ホバーアイロン
8か月前
個人
汚れ防止シート
2か月前
個人
バッグ式オムツ
5か月前
個人
アイマスク装置
3か月前
個人
腰ベルト
1か月前
個人
矯正椅子
6か月前
個人
水分吸収性物品
4日前
個人
哺乳瓶冷まし容器
4か月前
個人
排尿排便補助器具
27日前
個人
歯の保護用シール
6か月前
個人
陣痛緩和具
5か月前
個人
介護移乗アシスト
4日前
個人
湿布連続貼り機。
3か月前
個人
美容セット
1か月前
個人
シャンプー
7か月前
個人
治療用酸化防御装置
2か月前
個人
エア誘導コルセット
3か月前
個人
性行為補助具
4か月前
株式会社八光
剥離吸引管
6か月前
株式会社コーセー
化粧料
1か月前
個人
服薬支援装置
8か月前
株式会社大野
骨壷
5か月前
続きを見る
他の特許を見る