TOP
|
特許
|
意匠
|
商標
特許ウォッチ
Twitter
他の特許を見る
10個以上の画像は省略されています。
公開番号
2025171220
公報種別
公開特許公報(A)
公開日
2025-11-20
出願番号
2024076325
出願日
2024-05-09
発明の名称
マッサージ機
出願人
ファミリーイナダ株式会社
代理人
個人
主分類
A61H
7/00 20060101AFI20251113BHJP(医学または獣医学;衛生学)
要約
【課題】マッサージ機において、エアクッションを採用しつつも、エアクッションがマッサージ動作に与える影響を抑える。
【解決手段】マッサージ部を制御するコントローラは、前記マッサージ部の非動作時においては、給排気装置からエアクッションへ空気を供給させて前記エアクッションを膨張状態とし、前記膨張状態の前記エアクッションによって使用者を支持させるよう前記給排気装置を制御する第1制御と、前記マッサージ部の動作時においては、前記エアクッションから空気が排出されて前記膨張状態よりも前記エアクッションが収縮した収縮状態とするよう前記給排気装置を制御する第2制御と、を実行する。
【選択図】図10
特許請求の範囲
【請求項1】
使用者の身体を支持する身体支持部と、
前記身体支持部に設けられたエアクッションと、
前記エアクッションに対する給排気によって前記エアクッションを膨張収縮させる給排気装置と、
前記身体支持部に設けられており、前記使用者に対するマッサージ動作をするマッサージ部と、
前記マッサージ部を制御するコントローラと、
を備え、
前記コントローラは、
前記マッサージ部の非動作時においては、前記給排気装置から前記エアクッションへ空気を供給させて前記エアクッションを膨張状態とし、前記膨張状態の前記エアクッションによって前記使用者を支持させるよう前記給排気装置を制御する第1制御と、
前記マッサージ部の動作時においては、前記エアクッションから空気が排出されて前記膨張状態よりも前記エアクッションが収縮した収縮状態とするよう前記給排気装置を制御する第2制御と、
を実行するよう構成されている
マッサージ機。
続きを表示(約 1,400 文字)
【請求項2】
前記第1制御は、少なくとも、電源投入によって前記マッサージ機が起動すると自動的に実行が開始され、
前記第2制御は、少なくとも、前記マッサージ機の操作装置において前記マッサージ部を動作させる操作がなされると実行が開始される、
請求項1に記載のマッサージ機。
【請求項3】
前記コントローラは、電源投入によって前記マッサージ機が起動すると、前記第1制御を実行するとともに、前記マッサージ機の操作装置の表示装置に前記マッサージ部の操作画面を表示させ、
前記第2制御は、前記操作画面に従って前記マッサージ部を動作させる操作が前記操作装置においてなされると実行が開始される、
請求項1に記載のマッサージ機。
【請求項4】
前記コントローラは、前記第2制御を実行することで前記エアクッションから空気が排出されている途中のタイミングで、前記マッサージ動作が開始されるよう前記マッサージ部を制御する、
請求項1から請求項3のいずれか1項に記載のマッサージ機。
【請求項5】
前記コントローラは、前記エアクッションが前記膨張状態であるときに、前記マッサージ機の操作装置においてマッサージコースを選択する操作がなされると、前記第2制御の実行を開始するよう構成され、
前記マッサージコースは、
前記マッサージコースの目的に応じたマッサージを前記使用者に施すために行われるコースマッサージ動作と、
前記コースマッサージ動作に先立って実行され、前記コースマッサージ動作の開始の準備のための前記マッサージ機の動作である準備動作と、
を含み、
前記第2制御と前記準備動作は、少なくとも一部のタイミングにおいて並行して実行される、
請求項1に記載のマッサージ機。
【請求項6】
前記コースマッサージ動作は、前記第2制御を実行することで前記エアクッションから空気が排出されている途中のタイミングで実行が開始される、
請求項5に記載のマッサージ機。
【請求項7】
前記エアクッションは、前記使用者を支持する側の正面と、前記正面の反対側の背面と、を備え、
前記マッサージ部は、前記エアクッションの前記背面側に設けられている、
請求項1に記載のマッサージ機。
【請求項8】
前記膨張状態は、前記エアクッションの最大膨張状態へさらに膨張する余地がある中途膨張状態であり、
前記給排気装置は、前記第1制御によって、前記エアクッションが前記中途膨張状態になると前記エアクッションへの空気の供給を停止し、前記第2制御が実行開始されるまで前記エアクッションから空気が排出されないよう前記中途膨張状態を保持するよう構成されている
請求項1に記載のマッサージ機。
【請求項9】
前記コントローラは、前記エアクッションの膨張量を前記使用者が調整できるよう構成されている、
請求項1に記載のマッサージ機。
【請求項10】
前記エアクッションは複数備わっており、
前記コントローラは、前記複数のエアクッション毎に膨張量を前記使用者が調整できるように構成されている
請求項1に記載のマッサージ機。
発明の詳細な説明
【技術分野】
【0001】
本開示は、マッサージ機に関する。
続きを表示(約 1,700 文字)
【背景技術】
【0002】
特許文献1は、空気の給排により膨張収縮するエアセルを、マッサージのために備えたマッサージ機を開示している。
【先行技術文献】
【特許文献】
【0003】
特開2016-202589号公報
【発明の概要】
【0004】
本発明者は、マッサージ機においてエアクッションを採用するという着想を得た。エアクッションによるクッション性によって、マッサージ機に支持される使用者は心地よさを得ることができる。
【0005】
ただし、マッサージ機にエアクッションを採用する場合、エアクッションがマッサージ機のマッサージ動作に与える影響を抑える必要がある。したがって、エアクッションを採用しつつも、エアクッションがマッサージ機のマッサージ動作に与える影響を抑えることが望まれる。
【0006】
本開示のある側面は、マッサージ機である。開示のマッサージ機は、使用者の身体を支持する身体支持部と、前記身体支持部に設けられたエアクッションと、前記エアクッションに対する給排気によって前記エアクッションを膨張収縮させる給排気装置と、前記身体支持部に設けられており、前記使用者に対するマッサージ動作をするマッサージ部と、前記マッサージ部を制御するコントローラと、を備え、前記コントローラは、前記マッサージ部の非動作時においては、前記給排気装置から前記エアクッションへ空気を供給させて前記エアクッションを膨張状態とし、前記膨張状態の前記エアクッションによって前記使用者を支持させるよう前記給排気装置を制御する第1制御と、前記マッサージ部の動作時においては、前記エアクッションから空気が排出されて前記膨張状態よりも前記エアクッションが収縮した収縮状態とするよう前記給排気装置を制御する第2制御と、を実行するよう構成されている。
【0007】
更なる詳細は、後述の実施形態として説明される。
【図面の簡単な説明】
【0008】
図1は、マッサージ機の斜視図である。
図2は、マッサージ機の概略構成図である。
図3は、マッサージ機の制御ブロック図である。
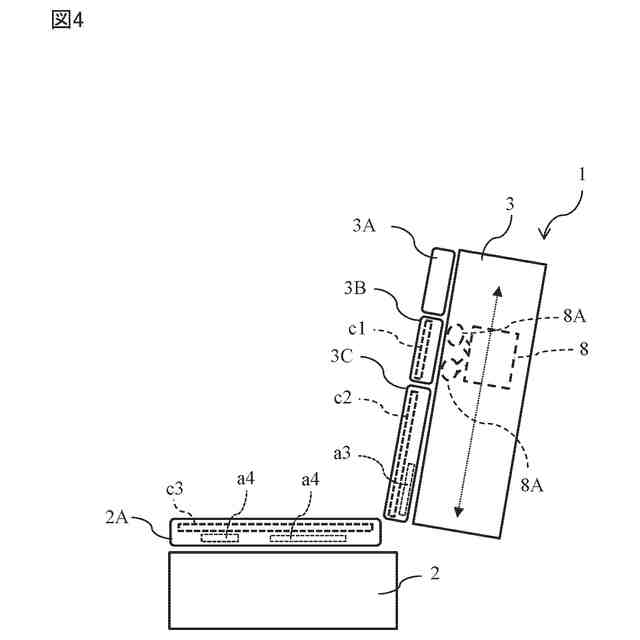
図4は、エアクッションの説明図である。
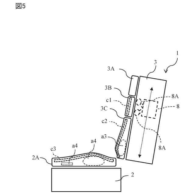
図5は、エアクッションの説明図である。
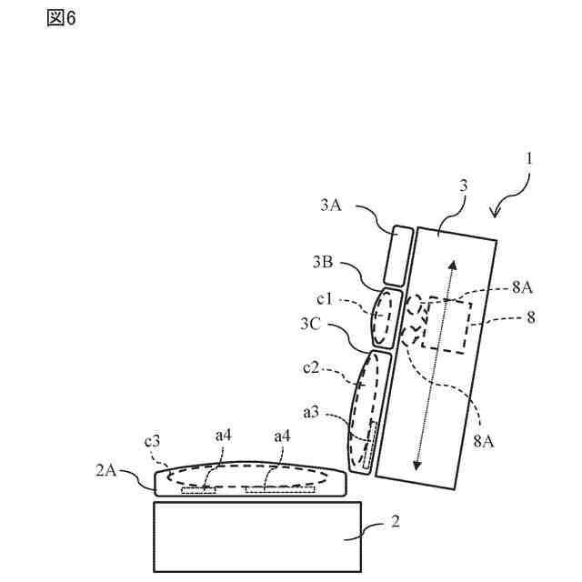
図6は、エアクッションの説明図である。
図7は、エアクッションの膨張/収縮の説明図である。
図8は、クッション膨張設定データを示す図である。
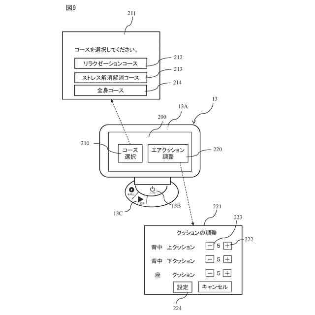
図9は、操作装置の説明図である。
図10は、マッサージ機の動作を示すフローチャートである。
【発明を実施するための形態】
【0009】
<1.マッサージ機の概要>
【0010】
(1)実施形態に係るマッサージ機は、使用者の身体を支持する身体支持部と、前記身体支持部に設けられたエアクッションと、前記エアクッションに対する給排気によって前記エアクッションを膨張収縮させる給排気装置と、前記身体支持部に設けられており、前記使用者に対するマッサージ動作をするマッサージ部と、前記マッサージ部を制御するコントローラと、を備え得る。前記コントローラは、前記マッサージ部の非動作時においては、前記給排気装置から前記エアクッションへ空気を供給させて前記エアクッションを膨張状態とし、前記膨張状態の前記エアクッションによって前記使用者を支持させるよう前記給排気装置を制御する第1制御と、前記マッサージ部の動作時においては、前記エアクッションから空気が排出されて前記膨張状態よりも前記エアクッションが収縮した収縮状態とするよう前記給排気装置を制御する第2制御と、を実行するよう構成され得る。このマッサージ機によれば、エアクッションを採用しつつも、マッサージ動作時にはエアクッションが収縮するため、エアクッションがマッサージ機のマッサージ動作に与える影響を抑えることができる。
(【0011】以降は省略されています)
この特許をJ-PlatPat(特許庁公式サイト)で参照する
関連特許
ファミリーイナダ株式会社
マッサージ機
1日前
個人
貼付剤
1か月前
個人
簡易担架
26日前
個人
短下肢装具
4か月前
個人
腋臭防止剤
26日前
個人
足踏み器具
1か月前
個人
排尿補助器具
1か月前
個人
嚥下鍛錬装置
5か月前
個人
前腕誘導装置
4か月前
個人
バッグ式オムツ
5か月前
個人
汚れ防止シート
2か月前
個人
矯正椅子
6か月前
個人
歯の修復用材料
5か月前
個人
ホバーアイロン
8か月前
個人
胸骨圧迫補助具
3か月前
個人
水分吸収性物品
5日前
個人
テスト肺
7日前
個人
アイマスク装置
3か月前
個人
ウォート指圧法
1か月前
個人
腰ベルト
1か月前
個人
排尿排便補助器具
28日前
個人
シャンプー
7か月前
個人
歯の保護用シール
6か月前
個人
介護移乗アシスト
5日前
個人
美容セット
1か月前
個人
哺乳瓶冷まし容器
4か月前
個人
湿布連続貼り機。
3か月前
個人
陣痛緩和具
5か月前
個人
エア誘導コルセット
3か月前
株式会社コーセー
化粧料
1か月前
個人
治療用酸化防御装置
3か月前
株式会社八光
剥離吸引管
6か月前
株式会社大野
骨壷
5か月前
個人
性行為補助具
4か月前
個人
形見の製造方法
5か月前
株式会社ニデック
検眼装置
5か月前
続きを見る
他の特許を見る