TOP
|
特許
|
意匠
|
商標
特許ウォッチ
Twitter
他の特許を見る
公開番号
2025170017
公報種別
公開特許公報(A)
公開日
2025-11-14
出願番号
2025141483,2024017303
出願日
2025-08-27,2015-03-03
発明の名称
車両用シート
出願人
テイ・エス テック株式会社
代理人
個人
,
個人
主分類
B60N
2/005 20060101AFI20251107BHJP(車両一般)
要約
【課題】構成部品同士の溶接強度を向上させ、溶接作業が容易なレール装置付きの車両用シートを提供する。
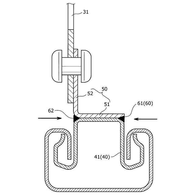
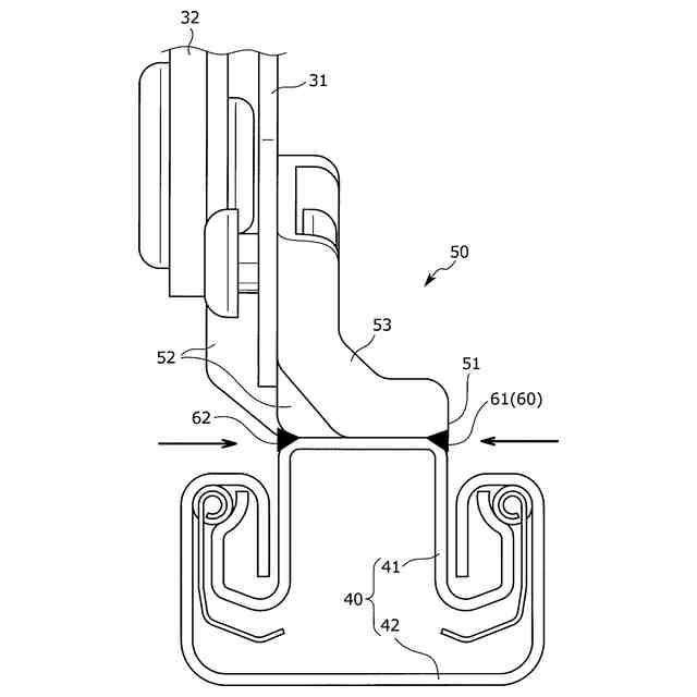
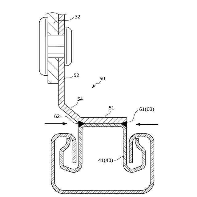
【解決手段】車両用シートSは、シート本体を前後移動可能に支持するレール装置40付きのシートであって、クッションフレーム10とアッパレール42とを連結するための連結ブラケット50を備えている。連結ブラケット50及びアッパレール42が上下に当接した部分の外周部分がシート幅方向の両側からレーザー溶接されることで溶接痕60が形成されている。溶接痕60は、外周部分のうち、シート幅方向の外側面に沿って延びている第1溶接部61と、シート幅方向の内側面に沿って延びている第2溶接部62と、を備えている。
【選択図】図3
特許請求の範囲
【請求項1】
着座部となるシートクッションと、
車体フロア上に取り付けられ、所定方向に延びるロアレールと、該ロアレールに沿って摺動可能に取り付けられ、前記シートクッションを支持するアッパレールと、
該アッパレールと前記シートクッションを連結するために前記アッパレール上に取り付けられる連結ブラケットと、を備え、
該連結ブラケットは、前記アッパレールに設けられた被当接部に当接する当接部を有し、
該当接部及び前記被当接部が当接した部分の外周部分が溶接されることで、前記当接部及び前記被当接部の少なくとも一方に溶接痕が形成され、
該溶接痕は、前記外周部分に沿わせて延びていることを特徴とする車両用シート。
続きを表示(約 1,100 文字)
【請求項2】
前記当接部は、前記被当接部に対して上下方向に当接し、
前記連結ブラケットは、前記外周部分がシート幅方向の少なくとも一方側からレーザー溶接されることで、前記アッパレール上に取り付けられていることを特徴とする請求項1に記載の車両用シート。
【請求項3】
前記溶接痕は、前記外周部分のうち、シート幅方向の外側面に沿って延びている第1溶接部と、シート幅方向の内側面に沿って延びている第2溶接部と、を備えていることを特徴とする請求項1又は2に記載の車両用シート。
【請求項4】
前記当接部において前記外周部分の一部には、切り欠きが形成され、
前記溶接痕は、前記切り欠きを含む前記外周部分に沿って延びていることを特徴とする請求項1乃至3のいずれか1項に記載の車両用シート。
【請求項5】
前記連結ブラケットは、前記アッパレールの上面に当接する底壁部と、該底壁部のシート幅方向の内側部分から連続して上方に延出し、前記シートクッション側が取り付けられる側壁部と、を有し、
前記切り欠きは、前記底壁部においてシート幅方向の外側部分に形成されていることを特徴とする請求項4に記載の車両用シート。
【請求項6】
前記シートクッションと前記連結ブラケットをそれぞれ連結し、該連結ブラケットに対して回動可能となるように取り付けられる第1リンク及び第2リンクを備え、
前記第1リンクは、前記第2リンクよりもシート前方に配置され、かつ、前記第2リンクとシート幅方向において異なる位置に配置されていることを特徴とする請求項5に記載の車両用シート。
【請求項7】
前記切り欠きは、シート前後方向において前記第1リンクと前記第2リンクの間に複数形成されていることを特徴とする請求項6に記載の車両用シート。
【請求項8】
前記側壁部は、前記第1リンクが取り付けられる部分から前記第2リンクが取り付けられる部分に向かうに従って、前記底壁部からシート幅方向において遠ざかる向きに屈曲して形成され、
前記連結ブラケットは、前記底壁部と、前記側壁部において前記第2リンクが取り付けられる部分とを連結し、前記底壁部から前記側壁部に向かって上方に延びる補強壁部を有していることを特徴とする請求項7に記載の車両用シート。
【請求項9】
前記補強壁部は、前記底壁部から前記側壁部に向かって上方傾斜しており、
前記補強壁部には、上方に向かって突出し、前記底壁部に連続した部分から前記側壁部に連続した部分まで延びている補強凸部が形成されていることを特徴とする請求項8に記載の車両用シート。
発明の詳細な説明
【技術分野】
【0001】
本発明は、車両用シートに係り、特に、シート本体をシート前後方向に移動可能に支持するレール装置を備えた車両用シートに関する。
続きを表示(約 2,000 文字)
【背景技術】
【0002】
従来、車体フロアに対してシート本体をシート前後方向に移動可能に支持するレール装置を備えた車両用シートにおいては、シート本体とレール装置を連結するために略L字形状体の連結ブラケットが用いられている。
当該連結ブラケットは、一般にレール装置のアッパレール上面にボルトやリベット等を用いて取り付けられているものの、部品点数の削減やシート軽量化を目的として新たにレーザー溶接で接合する技術が知られているところである(特許文献1、2参照)。
【0003】
特許文献1や特許文献2に記載の車両用シートでは、当該連結ブラケットとアッパレール(可動レール)が上下方向に当接した状態で、連結ブラケットの上方からレーザー溶接されることで互いに接合されている。
そして、レーザー溶接による接合強度を確保しながらも、溶接作業を簡単にするために溶接箇所が考慮されており、レーザー溶接によって形成される溶接ビード(溶接痕)が、連結ブラケット上面において所定形状をなすように延びている。
【先行技術文献】
【特許文献】
【0004】
特開2009-202814号公報
特開2013-107558号公報
【発明の概要】
【発明が解決しようとする課題】
【0005】
しかしながら、特許文献1、2では、連結ブラケットの真上から連結ブラケット及びアッパレールに向けてレーザー光線を照射することで、主に連結ブラケットの一部が溶けてアッパレールに接合されているため、例えば連結ブラケットとアッパレールが接触している部分に直接レーザー光線を照射した場合と比較して溶接強度が低下する虞があった。
また、一般に連結ブラケットは、アッパレールよりも板厚が大きいため、連結ブラケットの真上からレーザー溶接すると溶接強度が低下してしまう虞や、レーザーの照射強度を上げる必要が生じて熱の影響を受け易くなる虞があった。
そのため、レーザー溶接による接合強度を一層向上させて、溶接作業を容易にすることが可能な技術が求められていた。
【0006】
また、上記車両用シートの中には、シート本体を昇降可能に支持するハイトリンク装置やリクライニング装置をさらに備えたものがあり、これら装置の構成部品との配置関係を考慮してレーザー溶接作業を含む組み付け作業を行う必要があった。
【0007】
本発明は、上記の課題に鑑みてなされたものであり、本発明の目的は、構成部品同士の溶接による接合強度を向上させ、溶接作業を容易にすることが可能なレール装置付きの車両用シートを提供することにある。
また、本発明の他の目的は、ハイトリンク装置等の構成部品との配置関係を考慮して、溶接作業を含む組み付け作業をすることが可能なレール装置付きの車両用シートを提供することにある。
【課題を解決するための手段】
【0008】
前記課題は、本発明の車両用シートによれば、着座部となるシートクッションと、車体フロア上に取り付けられ、所定方向に延びるロアレールと、該ロアレールに沿って摺動可能に取り付けられ、前記シートクッションを支持するアッパレールと、該アッパレールと前記シートクッションを連結するために前記アッパレール上に取り付けられる連結ブラケットと、を備え、該連結ブラケットは、前記アッパレールに設けられた被当接部に当接する当接部を有し、該当接部及び前記被当接部が当接した部分の外周部分が溶接されることで、前記当接部及び前記被当接部の少なくとも一方に溶接痕が形成され、該溶接痕は、前記外周部分に沿わせて延びていること、により解決される。
【0009】
上記のように、アッパレールの被当接部と、連結ブラケットの当接部が当接した部分の外周部分が溶接されているため、従来例と比較して、アッパレールと連結ブラケットが当接している部分を直接的に溶接することができるため、溶接による接合強度を向上させることができる。
また、溶接によって形成された溶接痕が、互いに当接した部分の外周部分に沿って延びているため、溶接強度を一層向上できる。
【0010】
このとき、前記当接部は、前記被当接部に対して上下方向に当接し、前記連結ブラケットは、前記外周部分がシート幅方向の少なくとも一方側からレーザー溶接されることで、前記アッパレール上に取り付けられていると良い。
上記のように、シート幅方向の外側又は内側からレーザー溶接することで、比較的スペースが確保し易い位置から溶接作業を行うことができる。
また、各種溶接方法のうち、レーザー溶接を選択することで、溶接作業を一層容易に行うことができる。
(【0011】以降は省略されています)
この特許をJ-PlatPat(特許庁公式サイト)で参照する
関連特許
個人
タイヤレバー
3か月前
個人
前輪キャスター
2か月前
個人
上部一体型自動車
1か月前
個人
タイヤ脱落防止構造
2か月前
個人
ルーフ付きトライク
3か月前
個人
ホイルのボルト締結
4か月前
個人
空間形成装置
18日前
日本精機株式会社
照明装置
13日前
日本精機株式会社
表示装置
3か月前
日本精機株式会社
表示装置
3か月前
日本精機株式会社
表示装置
3か月前
個人
マスタシリンダ
1か月前
日本精機株式会社
表示装置
3か月前
個人
車両通過構造物
3か月前
個人
常設収納型サンバイザー
24日前
個人
乗合路線バスの客室装置
4か月前
株式会社豊田自動織機
産業車両
13日前
日本精機株式会社
車載表示装置
2か月前
日本精機株式会社
車載表示装置
26日前
日本精機株式会社
車室演出装置
2か月前
個人
車載小物入れ兼雨傘収納具
4か月前
個人
回転窓ワイパー装置
18日前
株式会社豊田自動織機
産業車両
3か月前
株式会社ニフコ
照明装置
2か月前
個人
音声ガイド、音声サービス
3か月前
株式会社ニフコ
保持装置
4か月前
日本精機株式会社
画像投映装置
1か月前
日本精機株式会社
車載表示装置
21日前
個人
円湾曲ホイール及び球体輪
4か月前
日本精機株式会社
車載表示装置
19日前
株式会社ニフコ
収納装置
2か月前
極東開発工業株式会社
車両
3か月前
株式会社SUBARU
車両
1か月前
日本精機株式会社
車両用表示装置
1か月前
日本無線株式会社
取付金具
3か月前
日本精機株式会社
車両用投射装置
1か月前
続きを見る
他の特許を見る