TOP
|
特許
|
意匠
|
商標
特許ウォッチ
Twitter
他の特許を見る
10個以上の画像は省略されています。
公開番号
2025170006
公報種別
公開特許公報(A)
公開日
2025-11-14
出願番号
2025141054,2025112064
出願日
2025-08-27,2013-11-27
発明の名称
表示装置
出願人
株式会社半導体エネルギー研究所
代理人
主分類
G09F
9/00 20060101AFI20251107BHJP(教育;暗号方法;表示;広告;シール)
要約
【課題】信頼性を向上しうる、新規な表示装置を提供する。
【解決手段】第1の配線と第2の配線との間に設けられた絶縁層を有し、絶縁層は、第1
の絶縁層、及び第1の絶縁層に重畳して設けられた第2の絶縁層を有し、絶縁層は、第2
の絶縁層の一部が除去された領域を有し、該領域は保護回路として機能する表示装置とす
る。また、絶縁層とトランジスタが有する半導体層とが重畳する領域では、第1の絶縁層
及び第2の絶縁層を有する表示装置とする。また、第1の配線と第2の配線とを直接接続
する領域では、第1の絶縁層及び第2の絶縁層が除去された領域を有する表示装置とする
。
【選択図】図2
特許請求の範囲
【請求項1】
第1の配線と第2の配線との間に設けられた絶縁層を有し、
前記絶縁層は、第1の絶縁層、及び前記第1の絶縁層に重畳して設けられた第2の絶縁層を有し、
前記絶縁層は、前記第2の絶縁層の一部が除去された領域を有し、
前記領域は保護回路として機能するを特徴とする表示装置。
発明の詳細な説明
【技術分野】
【0001】
本発明は、物(プロダクト。機械(マシン)、製品(マニュファクチャ)、組成物(コ
ンポジション・オブ・マター)を含む。)、及び方法(プロセス。単純方法及び生産方法
を含む。)に関する。特に、本発明の一態様は、半導体装置、表示装置、発光装置、電子
機器、それらの駆動方法、または、それらの製造方法に関する。特に、本発明の一態様は
、酸化物半導体を有する半導体装置、表示装置、電子機器、または、発光装置に関する。
続きを表示(約 2,500 文字)
【0002】
なお、表示装置とは、表示素子を有する装置のことをいう。なお、表示装置は、複数の
画素を駆動させる駆動回路等を含む。なお、表示装置は、別の基板上に配置された制御回
路、電源回路、信号生成回路等を含む。
【背景技術】
【0003】
液晶表示装置に代表される表示装置は、近年の技術革新の結果、素子及び配線の微細化
が進み、量産技術も各段に進歩してきている。今後はより、製造歩留まりの向上を図るこ
とで、低コストを図ることが求められている。
【0004】
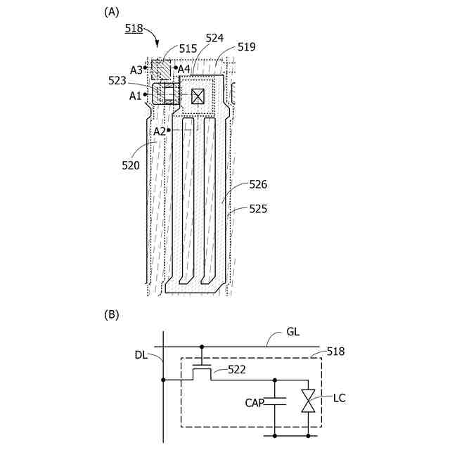
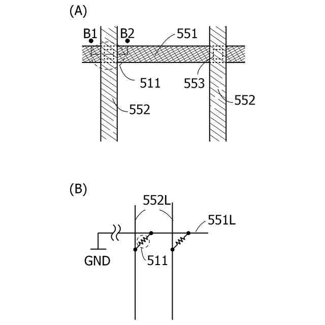
表示装置に静電気等によるサージ電圧が印加されると、素子が破壊してしまい、正常な
表示ができなくなる。そのため、製造歩留まりが悪化するおそれがある。その対策として
、表示装置には、サージ電圧を別の配線に逃がすための保護回路が設けられている(例え
ば特許文献1乃至7を参照)。
【先行技術文献】
【特許文献】
【0005】
特開2010-92036号公報
特開2010-92037号公報
特開2010-97203号公報
特開2010-97204号公報
特開2010-107976号公報
特開2010-107977号公報
特開2010-113346号公報
【発明の概要】
【発明が解決しようとする課題】
【0006】
表示装置では、保護回路に代表されるように、信頼性の向上を目的とした構成が重要で
ある。
【0007】
そこで、本発明の一態様では、信頼性を向上しうる、新規な構成の表示装置を提供する
ことを課題の一とする。または、本発明の一態様では、静電破壊を低減することができる
、新規な構成の表示装置を提供することを課題の一とする。または、本発明の一態様では
、静電気の影響を低減することができる、新規な構成の表示装置を提供することを課題の
一とする。または、本発明の一態様では、壊れにくい、新規な構成の表示装置を提供する
ことを課題の一とする。または、本発明の一態様では、ラビング工程において、トランジ
スタに与える影響を低減することができる、新規な構成の表示装置を提供することを課題
の一とする。または、本発明の一態様では、検査工程において、トランジスタに与える影
響を低減することができる、新規な構成の表示装置を提供することを課題の一とする。ま
たは、本発明の一態様では、タッチセンサを使用したときの不具合の影響を低減すること
ができる、新規な構成の表示装置を提供することを課題の一とする。または、本発明の一
態様では、トランジスタの特性の変動または劣化を低減することができる、新規な構成の
表示装置を提供することを課題の一とする。または、本発明の一態様では、トランジスタ
のしきい値電圧の変動または劣化を低減することができる、新規な構成の表示装置を提供
することを課題の一とする。または、本発明の一態様では、トランジスタのノーマリオン
状態を低減することができる、新規な構成の表示装置を提供することを課題の一とする。
または、本発明の一態様では、トランジスタの製造歩留まりを向上することができる、新
規な構成の表示装置を提供することを課題の一とする。または、本発明の一態様では、ト
ランジスタをシールドすることができる、新規な構成の表示装置を提供することを課題の
一とする。または、本発明の一態様では、画素電極に溜まった電荷を放電することできる
、新規な構成の表示装置を提供することを課題の一とする。または、本発明の一態様では
、配線に溜まった電荷を放電することできる、新規な構成の表示装置を提供することを課
題の一とする。または、本発明の一態様では、導電率の向上した酸化物半導体層を有する
、新規な構成の表示装置を提供することを課題の一とする。または、本発明の一態様では
、酸化物半導体層の導電率を制御することができる、新規な構成の表示装置を提供するこ
とを課題の一とする。または、本発明の一態様では、ゲート絶縁膜の導電率を制御するこ
とができる、新規な構成の表示装置を提供することを課題の一とする。または、本発明の
一態様では、正常な表示が出来やすくすることができる、新規な構成の表示装置を提供す
ることを課題の一とする。
【0008】
なお、これらの課題の記載は、他の課題の存在を妨げるものではない。なお、本発明の
一態様は、これらの課題の全てを解決する必要はないものとする。なお、上記以外の課題
は、明細書、図面、請求項などの記載から、自ずと明らかとなるものであり、明細書、図
面、請求項などの記載から、上記以外の課題を抽出することが可能である。
【課題を解決するための手段】
【0009】
本発明の一態様は、第1の配線と第2の配線との間に設けられた絶縁層を有し、前記絶
縁層は、第1の絶縁層、及び前記第1の絶縁層に重畳して設けられた第2の絶縁層を有し
、前記絶縁層は、前記第2の絶縁層の一部が除去された領域を有する保護回路を有する表
示装置である。
【0010】
本発明の一態様は、第1の配線と第2の配線との間に設けられた絶縁層を有し、前記絶
縁層は、第1の絶縁層、及び前記第1の絶縁層に重畳して設けられた第2の絶縁層を有し
、前記絶縁層は、前記第2の絶縁層の一部が除去された領域を有する保護回路を有し、前
記絶縁層とトランジスタが有する半導体層とが重畳する領域では、前記第1の絶縁層及び
前記第2の絶縁層を有する表示装置である。
(【0011】以降は省略されています)
この特許をJ-PlatPat(特許庁公式サイト)で参照する
関連特許
個人
教育のAI化
10日前
個人
英語教材
26日前
個人
回転式カード学習具
2か月前
日本精機株式会社
表示装置
13日前
個人
時刻表示機能つき手帳
3か月前
日本精機株式会社
表示装置
3か月前
日本精機株式会社
表示装置
1か月前
個人
計算用教具
1か月前
中国電力株式会社
標示旗
1か月前
日本精機株式会社
車両用表示装置
3か月前
日本精機株式会社
車両用表示装置
3か月前
日本精機株式会社
車両用表示装置
19日前
個人
インフィニティミラー
11日前
日本精機株式会社
車両用表示装置
3か月前
日本精機株式会社
車両用センサ装置
1か月前
個人
モデルで薔薇の花嫁様を描く為
2か月前
個人
微細構造を模した理科学習教材
1か月前
日榮新化株式会社
対象物質感知シート
10日前
シャープ株式会社
表示装置
2か月前
ニチレイマグネット株式会社
サイン器具
24日前
株式会社一弘社
情報表示板
2か月前
個人
音楽教材
2か月前
株式会社ウメラボ
学習支援システム
1か月前
株式会社ウメラボ
学習支援システム
1か月前
朝日インテック株式会社
ラベルシート
24日前
日本精機株式会社
表示装置及びその製造方法
13日前
ニチレイマグネット株式会社
磁着式電飾装置
1か月前
株式会社半導体エネルギー研究所
半導体装置
3か月前
リンテック株式会社
表示体
1か月前
株式会社リコー
画像投射システム
2か月前
シャープ株式会社
表示装置
25日前
株式会社イリオスNOTO
シート保管具
24日前
朝日インテック株式会社
生体モデル装置
13日前
シチズンファインデバイス株式会社
液晶表示装置
2か月前
BEST株式会社
吊り下げ表示部材
2か月前
株式会社サンゲツ
見本帳
3か月前
続きを見る
他の特許を見る