TOP
|
特許
|
意匠
|
商標
特許ウォッチ
Twitter
他の特許を見る
10個以上の画像は省略されています。
公開番号
2025168632
公報種別
公開特許公報(A)
公開日
2025-11-11
出願番号
2024189579
出願日
2024-10-29
発明の名称
限られたハードウェアリソースで画像解凍を実行する方法、関連する画像処理回路、及び関連する電子デバイス
出願人
瑞いー半導體股ふん有限公司
,
Realtek Semiconductor Corporation
代理人
個人
,
個人
,
個人
,
個人
,
個人
主分類
H04N
19/90 20140101AFI20251104BHJP(電気通信技術)
要約
【課題】限られたハードウェアリソースで画像解凍を実行する方法、画像処理回路及び電子デバイスを提供する。
【解決手段】方法は、画像処理回路内の逆量子化回路を利用して、所定画像の圧縮データを搬送するビットストリームに従って逆量子化処理を実行して、第一の処理結果を生成するステップと、画像処理回路内のアップサンプリング回路を利用して、第一の処理結果にアップサンプリング処理を実行して、所定画像の再生バージョンとして解凍画像を生成するために、第二の処理結果を生成するステップと、を含む。画像処理回路は、ビットストリームに従って解凍画像を生成する間に、任意のエントロピー復号回路、任意の量子化テーブル、任意のデジグザグ回路並びに前述の任意のエントロピー復号回路、前述の任意の量子化テーブル及び前述の任意のデジグザグ回路に関連する任意の逆変換回路の使用を回避する。
【選択図】図2
特許請求の範囲
【請求項1】
限られたハードウェアリソースで画像解凍を実行する画像処理回路であって、前記画像処理回路は、
ビットストリームに従って逆量子化処理を実行して、第一の処理結果を生成するように構成された逆量子化回路であって、前記ビットストリームは、所定画像の圧縮データを搬送する、逆量子化回路と、
前記逆量子化回路に結合され、前記第一の処理結果にアップサンプリング処理を実行して、前記所定画像の再生バージョンとして解凍画像を生成するために、第二の処理結果を生成するように構成されたアップサンプリング回路と、
を備え、
前記ビットストリームに従って前記解凍画像を生成する間に、前記画像処理回路は、任意のエントロピー復号回路、任意の量子化テーブル、任意のデジグザグ回路、及び前記任意のエントロピー復号回路、前記任意の量子化テーブル、及び前記任意のデジグザグ回路に関連する任意の逆変換回路の使用を回避できるように構成される、画像処理回路。
続きを表示(約 2,500 文字)
【請求項2】
前記画像処理回路において、前記任意のエントロピー復号回路、前記任意の量子化テーブル、前記任意のデジグザグ回路及び前記任意の逆変換回路は、存在しない、請求項1に記載の画像処理回路。
【請求項3】
前記アップサンプリング回路に結合され、前記第二の処理結果に画像フォーマット変換を実行して、前記解凍画像を生成するために、第三の処理結果を生成するように構成された変換回路
をさらに備える、請求項1に記載の画像処理回路。
【請求項4】
前記逆量子化回路に結合され、前記ビットストリームに辞書復号を実行して、予備処理結果を生成するように構成された辞書復号回路
をさらに備え、
前記逆量子化回路は、前記予備処理結果に前記逆量子化処理を実行して、前記第一の処理結果を生成するように構成される、請求項1に記載の画像処理回路。
【請求項5】
前記所定画像は、所定アイコン画像を表す、請求項1に記載の画像処理回路。
【請求項6】
前記逆量子化処理を実行することは、量子化されたダウンサンプリングされた輝度及びクロミナンスデータの複数のセットに逆量子化を実行して、ダウンサンプリングされた輝度及びクロミナンスデータの複数のセットを生成することを含み、前記第一の処理結果は、量子化されたダウンサンプリングされた輝度及びクロミナンスデータの前記複数のセットに対応するダウンサンプリングされた輝度及びクロミナンスデータの前記複数のセットを含み、前記第二の処理結果は、ダウンサンプリングされた輝度及びクロミナンスデータの前記複数のセットに対応する輝度及びクロミナンスデータの複数のセットを含む、請求項1に記載の画像処理回路。
【請求項7】
前記画像処理回路は、
前記圧縮データを受信するように構成された受信(RX)ファーストインファーストアウト(FIFO)バッファと、
前記RX FIFOバッファに結合され、前記圧縮データを搬送する前記ビットストリームをバッファリングするように構成されたビットストリームバッファと、
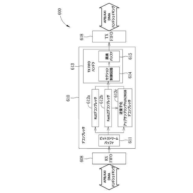
前記ビットストリームバッファに結合され、解凍を実行するように構成された複数のデコンプレッサであって、前記逆量子化回路及び前記アップサンプリング回路は、前記複数のデコンプレッサのうちの第一のデコンプレッサに配置される、複数のデコンプレッサと、
前記解凍画像のデータを出力するように構成された送信(TX)FIFOバッファと、
前記複数のデコンプレッサと前記TX FIFOバッファとの間に結合され、前記複数のデコンプレッサのうちのデコンプレッサの少なくとも一部からの第一の解凍データを一時的に記憶し、前記第一の解凍データ内のどの解凍データが前記TX FIFOバッファに送信され、第二の解凍データになるかを制御するように構成される、TX FIFOハンドラと、
を備え、
前記TX FIFOバッファは、前記第二の解凍データを出力するように構成され、前記第二の解凍データは、前記解凍画像の前記データを含む、請求項1に記載の画像処理回路。
【請求項8】
前記複数のデコンプレッサのうちの任意のデコンプレッサは、複数のハンドシェイキング信号を使用して、前ステージ及び後ステージのそれぞれとのハンドシェイキングを実行するように構成され、前記複数のハンドシェイキング信号は、前記前ステージに対応する複数の第一のハンドシェイキング信号及び前記後ステージに対応する複数の第二のハンドシェイキング信号を含み、前記画像処理回路のパイプラインアーキテクチャが正しく動作することを可能にし、前記画像処理回路は、画像解凍を実行するために前記複数のデコンプレッサのうちの少なくとも1つのデコンプレッサを選択的に有効にするように構成され、前記ビットストリームバッファ及び前記TX FIFOハンドラは、それぞれ前記少なくとも1つのデコンプレッサの前及び後に配置され、前記RX FIFOバッファは、前記ビットストリームバッファの前に配置され、前記TX FIFOバッファは、前記TX FIFOハンドラの後に配置される、請求項7に記載の画像処理回路。
【請求項9】
請求項1に記載の画像処理回路を備える電子デバイスであって、前記電子デバイスは、
前記電子デバイスの動作を制御するように構成された処理回路と、
前記処理回路に結合され、前記電子デバイスのための情報を記憶するように構成されストレージデバイスであって、前記情報が前記圧縮データを含む、ストレージデバイスと、
を備え、
前記処理回路は、前記電子デバイスのディスプレイに表示されるために、前記ビットストリームに従って前記解凍画像を生成するように構成される、電子デバイス。
【請求項10】
限られたハードウェアリソースで画像解凍を実行する方法であって、前記方法は、画像処理回路に適用可能であり、前記方法は、
前記画像処理回路内の逆量子化回路を利用して、ビットストリームに従って逆量子化処理を実行して、第一の処理結果を生成するステップであって、前記ビットストリームは、所定画像の圧縮データを搬送する、ステップと、
前記画像処理回路内のアップサンプリング回路を利用して、前記第一の処理結果にアップサンプリング処理を実行して、前記所定画像の再生バージョンとして解凍画像を生成するために、第二の処理結果を生成するステップと、
を含み、
前記ビットストリームに従って前記解凍画像を生成する間に、前記画像処理回路は、任意のエントロピー復号回路、任意の量子化テーブル、任意のデジグザグ回路、及び前記任意のエントロピー復号回路、前記任意の量子化テーブル、及び前記任意のデジグザグ回路に関連する任意の逆変換回路の使用を回避できるように構成される、方法。
発明の詳細な説明
【技術分野】
【0001】
本発明は、画像処理に関し、より具体的には、限られたハードウェアリソースで画像解凍を実行する方法、関連する画像処理回路、及び関連する電子デバイスに関する。
続きを表示(約 2,800 文字)
【背景技術】
【0002】
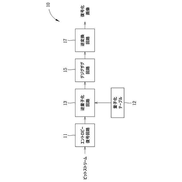
画像圧縮において、従来のほとんどの提案は、画像の圧縮率及び圧縮品質に焦点を当てているが、これは、ハードウェアコストが高く、設計が複雑であり、性能が劣る等の問題を伴いやすい。例えば、図1に示す画像復号装置10は、エントロピー復号回路11と、量子化テーブル12と、逆量子化回路13と、デジグザグ回路15と、逆変換回路17とを備え、その複雑なアーキテクチャにより、上記の問題が生じやすい。加えて、関連するコストを削減するための関連技術には、適切な技術的解決策が存在しないようである。
【先行技術文献】
【非特許文献】
【0003】
S. E. Tsai, et al., "A Fast DCT Algorithm for Watermarking in Digital Signal Processor", Mathematical Problems in Engineering, Volume 2017, Article ID 7401845, (2017/02/09), https://doi.org/10.1155/2017/7401845
Borko Furht, "IMAGE PRESENTATION AND COMPRESSION" (1999/01), https://www.researchgate.net/publication/229038449_IMAGE_PRESENTATION_AND_COMPRESSION
【発明の概要】
【発明が解決しようとする課題】
【0004】
本発明の目的は、上記課題を解決するために、限られたハードウェアリソースで画像解凍を実行する方法、関連する画像処理回路、及び関連する電子デバイスを提供することである。
【課題を解決するための手段】
【0005】
本発明の少なくとも1つの実施形態は、限られたハードウェアリソースで画像解凍を実行する方法を提供することであって、この方法は、画像処理回路に適用可能であり、この方法は、画像処理回路内の逆量子化回路を利用して、ビットストリームに従って逆量子化処理を実行して、第一の処理結果を生成するステップであって、ビットストリームは、所定画像の圧縮データを搬送する、ステップと、画像処理回路内のアップサンプリング回路を利用して、第一の処理結果にアップサンプリング処理を実行して、所定画像の再生バージョンとして解凍画像を生成するために、第二の処理結果を生成するステップと、を含んでもよく、ビットストリームに従って解凍画像を生成する間に、画像処理回路は、任意のエントロピー復号回路、任意の量子化テーブル、任意のデジグザグ回路、及び前述の任意のエントロピー復号回路、前述の任意の量子化テーブル、及び前述の任意のデジグザグ回路に関連する任意の逆変換回路の使用を回避するように構成される。
【0006】
本発明の少なくとも一実施形態は、限られたハードウェアリソースで画像解凍を実行する画像処理回路を提供する。画像処理回路は、逆量子化回路と、逆量子化回路に結合されたアップサンプリング回路とを備えてもよい。例えば、逆量子化回路は、ビットストリームに従って逆量子化処理を実行して、第一の処理結果を生成するように構成されてもよく、ビットストリームは、所定画像の圧縮データを搬送し、アップサンプリング回路は、第一の処理結果にアップサンプリング処理を実行して、所定画像の再生バージョンとして解凍画像を生成するために、第二の処理結果を生成するように構成されてもよく、画像処理回路は、任意のエントロピー復号回路、任意の量子化テーブル、任意のデジグザグ回路、及び前述の任意のエントロピー復号回路、前述の任意の量子化テーブル、及び前述の任意のデジグザグ回路に関連する任意の逆変換回路の使用を回避するように構成される。
【0007】
本発明の少なくとも一実施形態は、上述の画像処理回路を備える電子デバイスを提供することであって、電子デバイスは、処理回路と、処理回路に接続されストレージデバイスとをさらに備える。処理回路は、電子デバイスの動作を制御するように構成されてもよく、ストレージデバイスは、電子デバイスのための情報を記憶するように構成されてもよく、情報は、圧縮データを含む。さらに、処理回路は、電子デバイスのディスプレイに表示されるために、ビットストリームに従って解凍画像を生成するように構成されてもよい。
【発明の効果】
【0008】
本発明の利点は、適切な設計によって、本発明の方法、関連する画像処理回路、及び関連する電子デバイスが、前述の任意のエントロピー復号回路、前述の任意の量子化テーブル、前述の任意のデジグザグ回路、及び前述の任意の逆変換回路が存在しない状況において、正常に動作することができ、圧縮/解凍は、特にアイコンについて、非常に良好に機能できることである。例えば、経済的な予算の下で、本発明の方法に従って動作する製品は、最適化された性能を達成することができる。さらに、本発明に従って実装する場合、関連するコストが低く、圧縮アルゴリズムが簡単で、使用制限がなく、データ間の依存関係がないため、複数のハードウェアを並列処理に用いて高速化を図るのに非常に適している。
【0009】
本発明のこれら及び他の目的は、様々な図及び図面に示す好ましい実施形態の以下の詳細な説明を読んだ後に、当業者には疑いなく明らかになるであろう。
【図面の簡単な説明】
【0010】
従来技術の画像復号装置の図である。
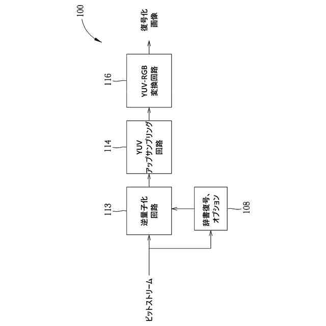
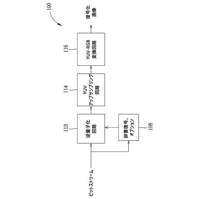
本発明の一実施形態による画像処理回路の図であり、画像処理回路は、本発明における限られたハードウェアリソースで画像解凍を実行する方法に基づいて動作する。
本発明の一実施形態による方法の圧縮手順及び解凍手順を示す図である。
本発明の一実施形態による、図3に示す圧縮手順及び解凍手順のいくつかの実装の詳細を示す。
図4Aに示す実施形態による、図3に示す圧縮手順及び解凍手順のいくつかの他の実装の詳細を示す。
本発明の別の実施形態による方法の圧縮手順及び解凍手順を示す図である。
本発明の別の実施形態による画像処理回路の図である。
本発明の一実施形態による図6に示す画像処理回路のいくつかの実装の詳細を示す。
本発明の一実施形態による電子デバイスの図である。
本発明の一実施形態による方法のフローチャートを示す。
【発明を実施するための形態】
(【0011】以降は省略されています)
この特許をJ-PlatPat(特許庁公式サイト)で参照する
関連特許
個人
イヤーピース
4日前
個人
イヤーマフ
18日前
個人
監視カメラシステム
27日前
キーコム株式会社
光伝送線路
28日前
個人
スイッチシステム
12日前
サクサ株式会社
中継装置
1か月前
サクサ株式会社
中継装置
1か月前
WHISMR合同会社
収音装置
2か月前
個人
スキャン式車載用撮像装置
27日前
アイホン株式会社
電気機器
1か月前
キヤノン株式会社
撮像装置
2か月前
キヤノン電子株式会社
画像読取装置
4日前
ヤマハ株式会社
放音制御装置
12日前
個人
ワイヤレスイヤホン対応耳掛け
1か月前
株式会社リコー
画像形成装置
2か月前
キヤノン電子株式会社
画像読取装置
26日前
個人
映像表示装置、及びARグラス
13日前
サクサ株式会社
無線システム
1か月前
株式会社リコー
画像形成装置
20日前
キヤノン電子株式会社
画像読取装置
2か月前
株式会社リコー
画像形成装置
2か月前
キヤノン電子株式会社
画像読取装置
12日前
サクサ株式会社
無線通信装置
1か月前
サクサ株式会社
無線通信装置
1か月前
個人
発信機及び発信方法
1か月前
キヤノン株式会社
画像処理装置
7日前
日本電気株式会社
海底分岐装置
28日前
キヤノン電子株式会社
シート搬送装置
4日前
キヤノン株式会社
撮像システム
1か月前
シャープ株式会社
端末装置
25日前
大日本印刷株式会社
写真撮影装置
1か月前
国立大学法人電気通信大学
小型光学装置
2か月前
株式会社NTTドコモ
端末
28日前
シャープ株式会社
表示装置
4日前
シャープ株式会社
表示装置
4日前
株式会社小糸製作所
画像照射装置
2か月前
続きを見る
他の特許を見る