TOP
|
特許
|
意匠
|
商標
特許ウォッチ
Twitter
他の特許を見る
公開番号
2025168588
公報種別
公開特許公報(A)
公開日
2025-11-07
出願番号
2025149227,2021141306
出願日
2025-09-09,2021-08-31
発明の名称
パンツ型吸収性物品
出願人
ユニ・チャーム株式会社
代理人
個人
,
個人
,
個人
,
個人
主分類
A61F
13/49 20060101AFI20251030BHJP(医学または獣医学;衛生学)
要約
【課題】装着時の引き上げ動作において股下部を適切に引き上げ、モレ等の発生を抑制すること。
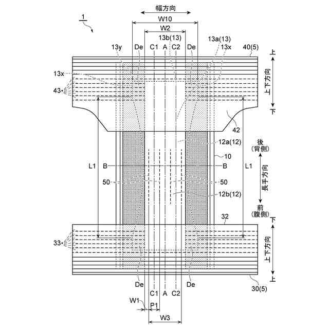
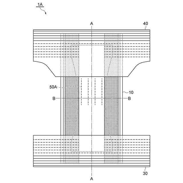
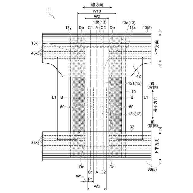
【解決手段】パンツ型吸収性物品1は、液吸収性の吸収性コア13aを有する吸収性本体10と、吸収性本体10の長手方向の一端側に位置する腹側胴回り部30と、吸収性本体10の長手方向の他端側に位置する背側胴回り部40と、を有するベルト部5と、吸収性コア13aに配置されて長手方向に延びる複数の股間用弾性部材50と、を備え、吸収性コア13aにおける、長手方向に交差する幅方向に三等分した各領域には、それぞれ、少なくとも1つ以上の股間用弾性部材50が配置されている。
【選択図】図2
特許請求の範囲
【請求項1】
液吸収性の吸収性コアを有する吸収性本体と、
前記吸収性本体の長手方向の一端側に位置する腹側胴回り部と、前記吸収性本体の前記長手方向の他端側に位置する背側胴回り部と、を有するベルト部と、
前記吸収性コアに配置されて前記長手方向に延びる複数の股間用弾性部材と、を備え、
前記吸収性コアにおける、前記長手方向に交差する幅方向に三等分した各領域には、それぞれ、少なくとも1つ以上の前記股間用弾性部材が配置されている、パンツ型吸収性物品。
続きを表示(約 1,100 文字)
【請求項2】
前記複数の股間用弾性部材は、前記吸収性コアにおける前記長手方向に交差する二つ折り線であって装着時において股下下端部となる中央線を跨ぐように配置されている、請求項1記載のパンツ型吸収性物品。
【請求項3】
前記複数の股間用弾性部材は、前記中央線を基準として、前記腹側胴回り部側又は前記背側胴回り部側に偏倚して配置されている、請求項2記載のパンツ型吸収性物品。
【請求項4】
前記複数の股間用弾性部材は、前記腹側胴回り部及び前記背側胴回り部の内、相対的に収縮力が低い側に偏倚して配置されている、請求項3記載のパンツ型吸収性物品。
【請求項5】
前記複数の股間用弾性部材は、前記腹側胴回り部及び前記背側胴回り部のいずれとも重ならないように配置されるか、或いは、前記腹側胴回り部及び前記背側胴回り部の一方に重なり他方に重ならないように配置される、請求項1~4のいずれか一項記載のパンツ型吸収性物品。
【請求項6】
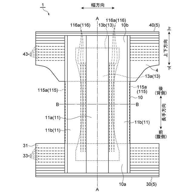
前記吸収性コアの前記長手方向の中央部分は、前記幅方向の内側に凹む括れ形状に形成されており、
前記吸収性本体を展開した状態において、前記股間用弾性部材の前記長手方向における有効長は、前記括れ形状に形成された部分の前記長手方向における長さよりも短い、請求項5記載のパンツ型吸収性物品。
【請求項7】
前記吸収性コアにおける前記長手方向に交差する二つ折り線であって装着時において股下下端部となる中央線では、前記複数の股間用弾性部材に含まれる前記幅方向の最外端の前記股間用弾性部材から前記吸収性コアの前記幅方向の端部までの距離が、前記複数の股間用弾性部材に含まれる隣り合う2つの前記股間用弾性部材の離間距離よりも短い、請求項1~6のいずれか一項記載のパンツ型吸収性物品。
【請求項8】
前記吸収性本体は、前記幅方向におけるその両端部において、前記長手方向に伸縮可能な足回り弾性部材を有し、
前記股間用弾性部材は、前記足回り弾性部材よりも弾性率が高い、請求項1~7のいずれか一項記載のパンツ型吸収性物品。
【請求項9】
前記吸収性本体と前記腹側胴回り部とが重なる領域、及び、前記吸収性本体と前記背側胴回り部とが重なる領域の少なくともいずれか一方には、装着時における引き上げポイントを示す引き上げデザインが形成されている、請求項1~8のいずれか一項記載のパンツ型吸収性物品。
【請求項10】
前記引き上げデザインは、前記吸収性コアの前記幅方向における最大幅部分の前記長手方向の線上に形成されている、請求項9記載のパンツ型吸収性物品。
(【請求項11】以降は省略されています)
発明の詳細な説明
【技術分野】
【0001】
本発明の一態様は、パンツ型吸収性物品に関する。
続きを表示(約 2,200 文字)
【背景技術】
【0002】
特許文献1には、着用者の胴回りのうち腹側を覆う腹側外装シートと背側を覆う背側外装シートとからなり、腹側外装シートの幅方向両側縁の接合部と背側外装シートの幅方向両側縁の接合部とが接合されて形成された筒状の胴回り部と、前端部が腹側外装シートの幅方向中央部内面に連結されるとともに、後端部が背側外装シートの幅方向中央部内面に連結され、且つ背側から股間部を通り腹側までを覆う吸収性本体とを備えたパンツ型吸収性物品が記載されている。
【先行技術文献】
【特許文献】
【0003】
特開2008-178682号公報
【発明の概要】
【発明が解決しようとする課題】
【0004】
上述したようなパンツ型吸収性物品の装着時においては、筒状の胴回り部(ベルト)の引き上げ動作が実施される。ここで、ベルトの引き上げ動作によっても、吸収性本体の内、ベルトに重ならない(ベルトより下端の)股下部等の領域については、引き上げる力が伝わりづらく、引き上がり難い。股下部が十分に引き上がらないことにより、モレ等が発生するおそれがある。
【0005】
本発明の一態様は上記実情に鑑みてなされたものであり、装着時の引き上げ動作において股下部を適切に引き上げ、モレ等の発生を抑制することができるパンツ型吸収性物品を提供することを目的とする。
【課題を解決するための手段】
【0006】
本発明の一態様に係るパンツ型吸収性物品は、液吸収性の吸収性コアを有する吸収性本体と、吸収性本体の長手方向の一端側に位置する腹側胴回り部と、吸収性本体の長手方向の他端側に位置する背側胴回り部と、を有するベルト部と、吸収性コアに配置されて長手方向に延びる複数の股間用弾性部材と、を備え、吸収性コアにおける、長手方向に交差する幅方向に三等分した各領域には、それぞれ、少なくとも1つ以上の股間用弾性部材が配置されている。
【0007】
本発明の一態様に係るパンツ型吸収性物品では、吸収性コアに、長手方向に延びる複数の股間用弾性部材が配置されている。このような構成によれば、装着時にベルト部を引き上げる引き上げ動作において、引き上げる力が、股間用弾性部材を介して吸収性コアを含む股下部に伝わりやすくなる。そして、本発明の一態様に係るパンツ型吸収性物品では、吸収性コアにおける幅方向に三等分した各領域(すなわち、中央領域及び左右端部領域)のそれぞれに1つ以上の股間用弾性部材が配置されており、幅方向において広域に股間用弾性部材が配置されているため、引き上げ動作において、吸収性コアを含む股下部を全体的に面で引き上げることができる。以上のように、本発明の一態様に係るパンツ型吸収性物品によれば、装着時の引き上げ動作において、股下部を全体的に引き上げることができ、モレ等の発生を効果的に抑制できる。このような効果は、例えば新生児等の寝ている着用者に関してより顕著に奏される。すなわち、新生児等の寝ている着用者については、引き上げ動作によって股下部を所望の位置まで引き上げることが困難であるところ、吸収性コアにおける幅方向に三等分した各領域に股間用弾性部材が配置されていることにより、引き上げ動作における引き上げ性能を向上させ、新生児等の寝ている着用者であっても、股下部を全体的に引き上げることができ、モレ等の発生を効果的に抑制できる。
【0008】
複数の股間用弾性部材は、吸収性コアにおける長手方向に交差する二つ折り線であって装着時において股下下端部となる中央線を跨ぐように配置されていてもよい。このように、股間用弾性部材が股下下端部となる中央線を跨ぐように配置されていることにより、引き上げ動作において、股間用弾性部材を介して股下下端部を引き上げることができ、股下部をより効果的に引き上げることができる。
【0009】
複数の股間用弾性部材は、中央線を基準として、腹側胴回り部側又は背側胴回り部側に偏倚して配置されていてもよい。吸収性コアについては、腹側胴回り部側及び背側胴回り部側の一方が引きあがりにくい場合がある。この点、腹側胴回り部側及び背側胴回り部側の内、引き上がりにくい側に偏倚して股間用弾性部材が配置されることにより、股間用弾性部材を介して、引き上がりにくい側を重点的に引き上げることができる。そして、股間用弾性部材が腹側胴回り部側に偏倚して配置されることにより、吸収性コアの股間部付近のフィット性を向上させることができる。また、股間用弾性部材が背側胴回り部に偏倚して配置されることにより、寝姿勢での後ろ身頃の引き上げやすさを向上させることができる。
【0010】
複数の股間用弾性部材は、腹側胴回り部及び背側胴回り部の内、相対的に収縮力が低い側に偏倚して配置されていてもよい。腹側胴回り部及び背側胴回り部の内、相対的に収縮力が低い側については、装着時の引き上げ動作において連動して引き上がりにくい。この点、例えば収縮力が低い側に偏倚して股間用弾性部材が配置されることにより、収縮力が低い側について引き上げ動作に対する連動性を重点的に上げ、引き上げ動作において効果的に引き上げることができる。
(【0011】以降は省略されています)
この特許をJ-PlatPat(特許庁公式サイト)で参照する
関連特許
個人
貼付剤
14日前
個人
短下肢装具
3か月前
個人
足踏み器具
3日前
個人
前腕誘導装置
3か月前
個人
排尿補助器具
27日前
個人
嚥下鍛錬装置
4か月前
個人
バッグ式オムツ
4か月前
個人
胸骨圧迫補助具
2か月前
個人
歯の修復用材料
4か月前
個人
腰ベルト
17日前
個人
ウォート指圧法
25日前
個人
ホバーアイロン
7か月前
個人
汚れ防止シート
1か月前
個人
矯正椅子
5か月前
個人
アイマスク装置
2か月前
個人
美容セット
5日前
個人
陣痛緩和具
4か月前
個人
歯の保護用シール
5か月前
個人
シャンプー
6か月前
個人
哺乳瓶冷まし容器
3か月前
個人
湿布連続貼り機。
2か月前
個人
エア誘導コルセット
2か月前
株式会社コーセー
化粧料
24日前
個人
治療用酸化防御装置
2か月前
株式会社八光
剥離吸引管
5か月前
株式会社大野
骨壷
4か月前
個人
性行為補助具
3か月前
株式会社GSユアサ
歩行器
5か月前
株式会社ニデック
眼科装置
4か月前
個人
手指運動ツール
2か月前
株式会社ニデック
検眼装置
4か月前
株式会社松風
口腔用組成物
4か月前
個人
こむら返り応急治し具
3日前
個人
形見の製造方法
4か月前
株式会社ニデック
眼科装置
1か月前
個人
シリンダ式歩行補助具
3か月前
続きを見る
他の特許を見る