TOP
|
特許
|
意匠
|
商標
特許ウォッチ
Twitter
他の特許を見る
10個以上の画像は省略されています。
公開番号
2025168506
公報種別
公開特許公報(A)
公開日
2025-11-07
出願番号
2025146570,2023132364
出願日
2025-09-03,2014-03-20
発明の名称
無線通信装置及び無線通信方法
出願人
1FINITY株式会社
代理人
弁理士法人酒井国際特許事務所
主分類
H04W
28/06 20090101AFI20251030BHJP(電気通信技術)
要約
【課題】送受信されるユーザデータの不整合を防止すること。
【解決手段】無線通信装置は、第1の通信装置から送信されるデータの一部を当該第1の通信装置との間の無線回線を含む第1の経路を介して受信するとともに、前記第1の通信装置から送信されるデータの他の一部を第2の通信装置を経由する第2の経路を介して受信する受信部と、前記第2の経路を介したデータ通信の状態に応じて通信制御を行う制御部と、前記制御部による前記第2の経路を介したデータ通信の状態に応じた制御によって、前記受信部によって受信済みのデータ又は未受信のデータを特定する受信状態情報を前記第1の経路を介して前記第1の通信装置へ送信する送信部とを有する。
【選択図】図2
特許請求の範囲
【請求項1】
第1の通信装置と、第2の通信装置と無線接続し、無線通信を行うことができる通信部と、
前記第1の通信装置から前記無線接続の変更を指示する第1の情報を含む、RRC(Radio Resource Control)信号を前記通信部が受信した場合、前記無線通信の接続変更の制御を行うことができる制御部と、を有し、
前記制御部は、前記RRC(Radio Resource Control)信号に受信状態情報の報告を指示する第2の情報が含まれる場合、第1の受信状態情報を送信する制御を行い、
前記第1の受信状態情報は、前記第1の通信装置または前記第2の通信装置から送信されたデータのうち受信済みのデータまたは未受信のデータを特定する情報である、
ことを特徴とする無線通信装置。
続きを表示(約 1,400 文字)
【請求項2】
前記通信部は、
前記受信状態情報を前記接続変更の後に、前記第1の通信装置から受信することができることを特徴とする請求項1記載の無線通信装置。
【請求項3】
前記制御部は、前記第1の通信装置と前記第2の通信装置との間のネットワークインタフェースにおいてデータロスが発生した場合に前記第2の通信装置から前記第1の通信装置へ送信されるエラー検出通知に応じて、前記通信部が、前記RRC(Radio Resource Control)信号を受信した場合、前記無線通信の接続変更の制御を行うことができることを特徴とする請求項1記載の無線通信装置。
【請求項4】
前記第1の情報は、前記無線接続を、前記第1の通信装置と前記第2の通信装置とに接続する2元接続から、前記第1の通信装置に接続する1元接続に変更することを指示する情報であり、
前記通信部は、前記第1の受信状態情報を前記第1の通信装置に送信することを特徴とする請求項1記載の無線通信装置。
【請求項5】
前記制御部は、前記接続変更に応じて前記通信部が受信した場合に第2の受信状態情報に応じた処理を実行する制御を行い、
前記第2の受信状態情報は、前記第1の通信装置または前記第2の通信装置に送信されたデータのうち受信済みのデータまたは未受信のデータを特定する情報である、
ことを特徴とする請求項1記載の無線通信装置。
【請求項6】
無線通信装置であって、
第1の通信装置と、第2の通信装置と接続し、前記第1の通信装置と無線通信を行うことができる通信部と、
前記第1の通信装置との無線接続に関する制御を行うことができる制御部と、を有し、
前記通信部は、接続変更を指示する第1の情報と、第1の受信状態情報の報告を指示する第2の情報とを含む、RRC(Radio Resource Control)信号を前記第1の通信装置に送信することができ、
前記通信部は、前記第2の情報に応じて、前記第1の通信装置から送信された前記第1の受信状態情報を、前記第1の通信装置から受信し、
前記第1の受信状態情報は、前記無線通信装置または前記第2の通信装置から、前記第1の通信装置に送信されたデータのうち受信済みのデータまたは未受信のデータを特定する情報であることを特徴とする無線通信装置。
【請求項7】
前記制御部は、前記無線通信装置と前記第2の通信装置との間のネットワークインタフェースにおいてデータロスが発生した場合に、前記第2の通信装置から前記無線通信装置に送信されるエラー検出通知に応じて、前記RRC(Radio Resource Control)信号を送信するように制御を行うことができることを特徴とする請求項6記載の無線通信装置。
【請求項8】
前記制御部は、前記接続変更に応じて、前記通信部を介して第2の受信状態情報を送信する処理を実行する制御を行い、
前記第2の受信状態情報は、前記第1の通信装置または前記第2の通信装置に送信されたデータのうち受信済みのデータまたは未受信のデータを特定する情報である、
ことを特徴とする請求項6記載の無線通信装置。
発明の詳細な説明
【技術分野】
【0001】
本発明は、無線通信装置及び無線通信方法に関する。
続きを表示(約 5,200 文字)
【背景技術】
【0002】
従来、無線通信システムにおける伝送容量(以下「システム容量」という)を増大させるために、様々な工夫がなされている。例えば、3GPP(登録商標) LTE(3rd Generation Partnership Project Radio Access Network Long Term Evolution)では、マクロセルの他にスモールセル(小セル)を活用してシステム容量を増大させる技術に関する議論が行われている。ここで、セルとは、無線端末が無線信号を送受信するために、無線基地局がカバーする範囲を指す。そして、マクロセルは、送信電力が比較的高く、電波到達範囲が比較的大きい基地局のセルである。また、スモールセルは、送信電力が比較的低く、電波到達範囲が比較的小さい基地局のセルである。
【0003】
3GPP(登録商標) LTE-Advanced(LTE-A)では、無線通信システムの構成として、例えば、マクロセルの中に複数のスモールセルが含まれる構成が検討されている。そして、移動局がマクロセル及びスモールセルに同時に接続する技術が検討されている。他にも、移動局が異なる2つのスモールセルに同時に接続する技術が検討されている。このように、移動局が、2つの異なるセルに同時に接続して実施する通信は、2元接続(Dual Connectivity)と呼ばれることがある。
【0004】
移動局がマクロセル及びスモールセルに同時に接続する場合、例えば、伝送路の設定やハンドオーバーの制御などのレイヤ3の制御情報を含む制御プレーンの信号は、マクロセルの基地局(以下「マクロ基地局」という)との間で送受信される。また、例えば、ユーザデータを含むデータプレーンの信号は、マクロ基地局及びスモールセルの基地局(以下「スモール基地局」という)の双方との間で送受信される。ここで、制御プレーンは、コントロールプレーン(Control Plane:Cプレーン)又はSRB(Signaling Radio Bearer)などと呼ばれることがある。また、データプレーンは、ユーザプレーン(User Plane:Uプレーン)又はDRB(Data Radio Bearer)などとも呼ばれる。
【0005】
一方、移動局が異なる2つのスモールセルに同時に接続する場合、例えば、制御プレーンの信号は、一方のスモール基地局との間で送受信され、データプレーンの信号は、他方のスモール基地局との間で送受信される。データプレーンの信号は、両方のスモール基地局との間で送受信されても良い。
【0006】
このような2元接続において、制御プレーンが接続される基地局をプライマリ基地局と呼ぶことがある。また、プライマリ基地局と協調して通信しデータプレーンが接続される基地局をセカンダリ基地局と呼ぶことがある。また、これらの基地局は、アンカー無線基地局及びアシスティング無線基地局や、マスター無線基地局及びスレーブ無線基地局と呼ばれることもある。なお、LTE-Aの最新動向では、それぞれ、マスター基地局及びセカンダリ基地局と呼ばれている。本願では、それぞれ第1の通信装置及び第2の通信装置と呼ぶことがある。
【0007】
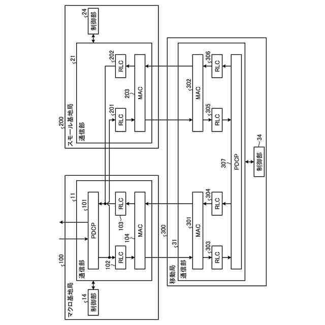
2元接続におけるプライマリ基地局及びセカンダリ基地局への機能分担については、データプレーンの信号をどのレイヤで分岐させるかにより、様々な構成が提案されている。例えば、PDCP(Packet Data Convergence Protocol)レイヤの前段でデータプレーンの信号を分岐させる構成がある。また、例えば、PDCPレイヤとRLC(Radio Link Control)レイヤの間でデータプレーンの信号を分岐させる構成がある。また、例えば、RLCレイヤとMAC(Medium Access Control)レイヤの間でデータプレーンの信号を分岐させる構成がある。これらに限らず、各レイヤ内でデータプレーンの信号を分岐させる構成も可能である。また、例えば、PDCPレイヤの一部の機能はプライマリ基地局に割り当て、PDCPレイヤの残りの機能はセカンダリ基地局に割り当てるという構成も可能である。これは、RLCレイヤ及びMACレイヤの機能についても同様である。なお、LTE-Aの最新動向では、PDCPレイヤとRLCレイヤの間でデータプレーンの信号を分岐する構成(Architecture 3C)と、マスター基地局およびスモール基地局それぞれがPDCPレイヤ、RLCレイヤ、MACレイヤを有する構成(Architecture 1C)を採用することになっている。
【0008】
このように機能分担するプライマリ基地局及びセカンダリ基地局は、互いに有線又は無線のリンクで接続される。そして、このリンクを経由して、プライマリ基地局で分岐したデータプレーンの信号がセカンダリ基地局へ送信される。
【先行技術文献】
【非特許文献】
【0009】
3GPP TS 36.300 V12.0.0 (2013-12), 3rd Generation Partnership Project; Technical Specification Group Radio Access Network; Evolved Universal Terrestrial Radio Access (E-UTRA) and Evolved Universal Terrestrial Radio Access Network (E-UTRAN); Overall description; Stage 2
3GPP TS36.211 V12.0.0(2013-12), 3rd Generation Partnership Project; Technical Specification Group Radio Access Network; Evolved Universal Terrestrial Radio Access (E-UTRA); Physical channels and modulation
3GPP TS36.212 V12.0.0(2013-12) , 3rd Generation Partnership Project; Technical Specification Group Radio Access Network; Evolved Universal Terrestrial Radio Access (E-UTRA); Multiplexing and channel coding
3GPP TS36.213 V12.0.0(2013-12) , 3rd Generation Partnership Project; Technical Specification Group Radio Access Network; Evolved Universal Terrestrial Radio Access (E-UTRA); Physical layer procedures
3GPP TS36.321 V12.0.0(2013-12) , 3rd Generation Partnership Project; Technical Specification Group Radio Access Network; Evolved Universal Terrestrial Radio Access (E-UTRA); Medium Access Control (MAC) protocol specification
3GPP TS36.322 V11.0.0(2012-09) , 3rd Generation Partnership Project; Technical Specification Group Radio Access Network; Evolved Universal Terrestrial Radio Access (E-UTRA); Radio Link Control (RLC) protocol specification
3GPP TS 36.323 V11.2.0 (2013-03), 3rd Generation Partnership Project; Technical Specification Group Radio Access Network; Evolved Universal Terrestrial Radio Access (E-UTRA); Packet Data Convergence Protocol (PDCP) specification
3GPP TS36.331 V12.0.0(2013-12) , 3rd Generation Partnership Project; Technical Specification Group Radio Access Network; Evolved Universal Terrestrial Radio Access (E-UTRA); Radio Resource Control (RRC); Protocol specification
3GPP TS36.413 V12.0.0(2013-12) , 3rd Generation Partnership Project; Technical Specification Group Radio Access Network; Evolved Universal Terrestrial Radio Access Network (E-UTRAN); S1 Application Protocol (S1AP)
3GPP TS36.423 V12.0.0(2013-12) , 3rd Generation Partnership Project; Technical Specification Group Radio Access Network; Evolved Universal Terrestrial Radio Access Network (E-UTRAN); X2 Application Protocol (X2AP)
3GPP TR36.842 V12.0.0(2013-12) , 3rd Generation Partnership Project; Technical Specification Group Radio Access Network; Study on Small Cell enhancements for E-UTRA and E-UTRAN; Higher layer aspects
【発明の概要】
【発明が解決しようとする課題】
【0010】
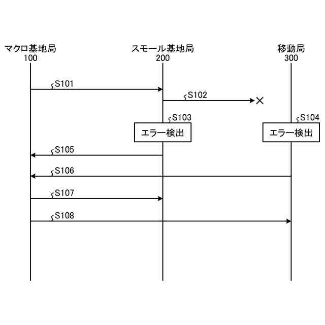
ところで、2元接続の実施中に、例えばセカンダリ基地局と移動局の間の通信において通信状態が変化した場合には、2元接続を解除して1元接続への切り替えが発生することが考えられる。すなわち、移動局がマクロ基地局及びスモール基地局と同時に接続している際に移動局とスモール基地局の間の通信状態に変化があると、2元接続が解除され、移動局がマクロ基地局のみと通信を行うようになることが考えられる。通信状態の変化の一例としては、例えばデータ通信に関する不具合やエラーの発生及び無線品質の劣化などが挙げられる。
(【0011】以降は省略されています)
この特許をJ-PlatPat(特許庁公式サイト)で参照する
関連特許
1FINITY株式会社
適応フィルタを有するエルビウム添加ファイバー光増幅器
24日前
1FINITY株式会社
無線通信装置及び無線通信方法
3日前
個人
イヤーピース
3日前
個人
イヤーマフ
17日前
個人
監視カメラシステム
26日前
キーコム株式会社
光伝送線路
27日前
個人
スイッチシステム
11日前
サクサ株式会社
中継装置
1か月前
サクサ株式会社
中継装置
1か月前
WHISMR合同会社
収音装置
2か月前
個人
スキャン式車載用撮像装置
26日前
アイホン株式会社
電気機器
1か月前
キヤノン株式会社
撮像装置
2か月前
ヤマハ株式会社
放音制御装置
11日前
キヤノン電子株式会社
画像読取装置
25日前
キヤノン電子株式会社
画像読取装置
3日前
サクサ株式会社
無線通信装置
1か月前
サクサ株式会社
無線通信装置
1か月前
キヤノン電子株式会社
画像読取装置
2か月前
株式会社リコー
画像形成装置
2か月前
個人
映像表示装置、及びARグラス
12日前
サクサ株式会社
無線システム
1か月前
キヤノン電子株式会社
画像読取装置
11日前
株式会社リコー
画像形成装置
2か月前
株式会社リコー
画像形成装置
19日前
株式会社リコー
画像形成装置
3か月前
個人
ワイヤレスイヤホン対応耳掛け
1か月前
キヤノン株式会社
画像処理装置
6日前
日本電気株式会社
海底分岐装置
27日前
個人
発信機及び発信方法
1か月前
株式会社ニコン
撮像装置
3か月前
キヤノン株式会社
撮像システム
1か月前
キヤノン電子株式会社
シート搬送装置
3日前
ブラザー工業株式会社
読取装置
2か月前
株式会社NTTドコモ
端末
27日前
株式会社NTTドコモ
端末
27日前
続きを見る
他の特許を見る