TOP
|
特許
|
意匠
|
商標
特許ウォッチ
Twitter
他の特許を見る
10個以上の画像は省略されています。
公開番号
2025168475
公報種別
公開特許公報(A)
公開日
2025-11-07
出願番号
2025145840,2024503979
出願日
2025-09-03,2022-07-19
発明の名称
半導体又はフラットパネルディスプレイ製造のための寄生成分を決定する方法及びシステム
出願人
ディー・ツー・エス・インコーポレイテッド
,
D2S, INC.
代理人
個人
,
個人
,
個人
主分類
G06F
30/27 20200101AFI20251030BHJP(計算;計数)
要約
【課題】寄生パラメータを計算するための改良された方法を提供する。
【解決手段】半導体設計において定義されるワイヤ構造の寄生パラメータを計算するための方法、半導体設計において定義され、複数の直線形状を含む第1のワイヤ構造について、複数の曲線形状を含む第2のワイヤ構造を生成することと、第2のワイヤ構造を使用して、半導体設計の第1のワイヤ構造のうちの少なくとも1つのワイヤが受ける寄生効果のセットを指定する寄生パラメータのセットを生成することと、を含む。
【選択図】図6B
特許請求の範囲
【請求項1】
半導体設計において定義されるワイヤ構造の寄生パラメータを計算するための方法であって、
前記半導体設計において定義され、複数の直線形状を含む第1のワイヤ構造について、複数の曲線形状を含む第2のワイヤ構造を生成することと、
前記第2のワイヤ構造を使用して、前記半導体設計の前記第1のワイヤ構造のうちの少なくとも1つのワイヤが受ける寄生効果のセットを指定する寄生パラメータのセットを生成することと、
を含む、方法。
続きを表示(約 1,100 文字)
【請求項2】
前記曲線形状を有する前記第2のワイヤ構造は、前記第1のワイヤ構造が製造されると生成されることが予測される構造であり、したがって、前記第1のワイヤ構造の予測される製造構造である、請求項1に記載の方法。
【請求項3】
前記第2のワイヤ構造を生成することは、前記第1のワイヤ構造を機械訓練されたネットワークに供給して、前記第2のワイヤ構造を生成することを含む、請求項2に記載の方法。
【請求項4】
前記機械訓練されたネットワークは、複数の機械訓練されたニューロンを有するニューラルネットワークである、請求項3に記載の方法。
【請求項5】
前記第2のワイヤ構造を生成することは、ソフトウェアシミュレータを使用して、前記第1のワイヤ構造のための前記予測される製造構造として前記第2のワイヤ構造を生成することを含む、請求項2に記載の方法。
【請求項6】
前記第1のワイヤ構造は、2次元(2D)形状を含み、前記方法は、
前記半導体設計に関連付けられた製造プロセス技術情報のセットを受信することと、
前記製造プロセス技術情報のセットを使用して、前記第2のワイヤ構造のための3次元(3D)形状を生成することと、
前記3D形状から前記1つ以上の寄生パラメータのセットを生成することと、をさらに含む、請求項2に記載の方法。
【請求項7】
前記3D形状から前記寄生パラメータのセットを生成することは、前記3D形状をフィールドソルバに提供して、前記寄生パラメータを生成することを含む、請求項6に記載の方法。
【請求項8】
前記製造プロセス技術情報のセットは、ワイヤ高さ及び誘電体厚さを含む、請求項6に記載の方法。
【請求項9】
前記第2のワイヤ構造を生成することは、
前記半導体設計から前記第1のワイヤ構造を抽出することと、
前記第1のワイヤ構造をラスタライズして、前記第1のワイヤ構造のピクセルベースの定義を生成することと、
前記ピクセルベースの定義を機械訓練されたネットワークに供給して、前記第2のワイヤ構造を生成することと、を含む、請求項1に記載の方法。
【請求項10】
前記第2のワイヤ構造を使用することは、
前記生成された第2のワイヤ構造について、複数の寄生係数を計算することと、
前記生成された寄生係数を使用して、前記第1のワイヤ構造の少なくとも1つのワイヤに対する寄生効果を表す寄生パラメータを計算することと、を含む、請求項9に記載の方法。
(【請求項11】以降は省略されています)
発明の詳細な説明
【技術分野】
【0001】
本開示は、半導体又はフラットパネルディスプレイ製造のための寄生成分を決定する方法及びシステムに関する。
続きを表示(約 3,200 文字)
【背景技術】
【0002】
荷電粒子ビームリソグラフィの3つの一般的なタイプは、非成形(ガウス)ビームリソグラフィ、成形荷電粒子ビームリソグラフィ、及びマルチビームリソグラフィである。全てのタイプの荷電粒子ビームリソグラフィにおいて、荷電粒子ビームは、レジストをコーティングした表面にエネルギーを照射して、レジストを露光する。
【0003】
集積回路などの半導体デバイスの生産又は製造において、光リソグラフィを使用して半導体デバイスを製造することができる。光リソグラフィは、レチクルから製造されたリソグラフィマスク又はフォトマスクを使用して、半導体又はシリコンウェハなどの基板上にパターンを形成して集積回路を作成する、印刷プロセスである。他の基板は、フラットパネルディスプレイ、又は更に他のレチクルを含むことができる。また、極紫外線(extreme ultraviolet、EUV)又はX線リソグラフィは、光リソグラフィの一種と考えられている。1つ又は複数のレチクルは、集積回路の個々の層に対応する回路パターンを含むことができ、このパターンを、フォトレジスト又はレジストとして知られている放射線感受性材料の層でコーティングされた基板上のある領域に撮像することができる。パターン化された層が作成されると、層は、エッチング、イオン注入(ドーピング)、メタライゼーション、酸化、及び研磨などの様々な他のプロセスを経ることができる。これらのプロセスは、基板内の個々の層を仕上げるために使用される。いくつかの層が必要とされる場合、プロセス全体又はそのバリエーションが、新しい層ごとに繰り返される。最終的に、複数のデバイス又は集積回路の組合せが、基板上に存在することになる。次いで、これらの集積回路は、ダイシング又はソーイングによって互いに分離され得、次いで、個々のパッケージに実装され得る。より一般的な場合には、基板上のパターンを使用して、表示ピクセル又は磁気記録ヘッドなどのアーティファクトを規定することができる。
【0004】
集積回路などの半導体デバイスの生産又は製造において、マスクレス直接書き込みを使用して半導体デバイスを製造することもできる。マスクレス直接書き込みは、半導体又はシリコンウェハなどの基板上にパターンを形成して集積回路を作成するために、荷電粒子ビームリソグラフィが使用される印刷プロセスである。他の基板は、フラットパネルディスプレイ、ナノインプリント用のインプリントマスク、又は更にレチクルを含むことができる。層の所望のパターンは、この場合は基板でもある表面上に直接書き込まれる。パターン化された層が作成されると、層は、エッチング、イオン注入(ドーピング)、メタライゼーション、酸化、及び研磨などの様々な他のプロセスを経ることができる。これらのプロセスは、基板内の個々の層を仕上げるために使用される。いくつかの層が必要とされる場合、プロセス全体又はそのバリエーションが、新しい層ごとに繰り返される。層のうちのいくつかは、光リソグラフィを使用して書き込まれてもよく、その一方で他の層は、同じ基板を製造するためにマスクレス直接書き込みを使用して書き込まれてもよい。最終的に、複数のデバイス又は集積回路の組合せが、基板上に存在することになる。次いで、これらの集積回路は、ダイシング又はソーイングによって互いに分離され、次いで、個々のパッケージに実装される。より一般的な場合には、表面上のパターンを使用して、表示ピクセル又は磁気記録ヘッドなどのアーティファクトを規定することができる。
【0005】
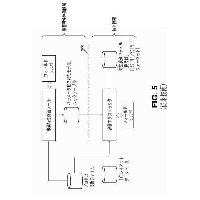
IC設計における寄生効果をモデル化することは、非常に重要である。寄生効果とは、IC設計における構成要素上(例えば、ワイヤセグメント上)の望ましくない寄生容量、抵抗、及びインダクタンスを指す。様々な寄生効果は、回路遅延、エネルギー消費、及び電力分配に影響を与え得る。それらはまた、信頼性に影響を与えるノイズ源及び他の効果をもたらす可能性もある。回路性能に対する相互接続寄生成分の効果を評価するために、それらを正確にモデル化する必要がある。
【0006】
製造技術がより複雑になるにつれて、望ましくない容量、抵抗、及びインダクタンスを含む寄生成分をモデル化するために、様々な技術が時間とともに進化してきた。しかしながら、近年では、寄生成分のモデリング及び抽出は、より小さいプロセスジオメトリ及びより新しいプロセスノードにおいてより困難になっている。困難の多くは、より小さいジオメトリにおいて、製造プロセス変動(variation)及び他のタイプの製造性の問題の効果が増大することから生じる。既存の技術はまた、寄生パラメータの計算が比較的遅い。
【発明の概要】
【0007】
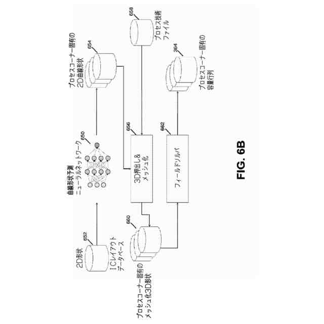
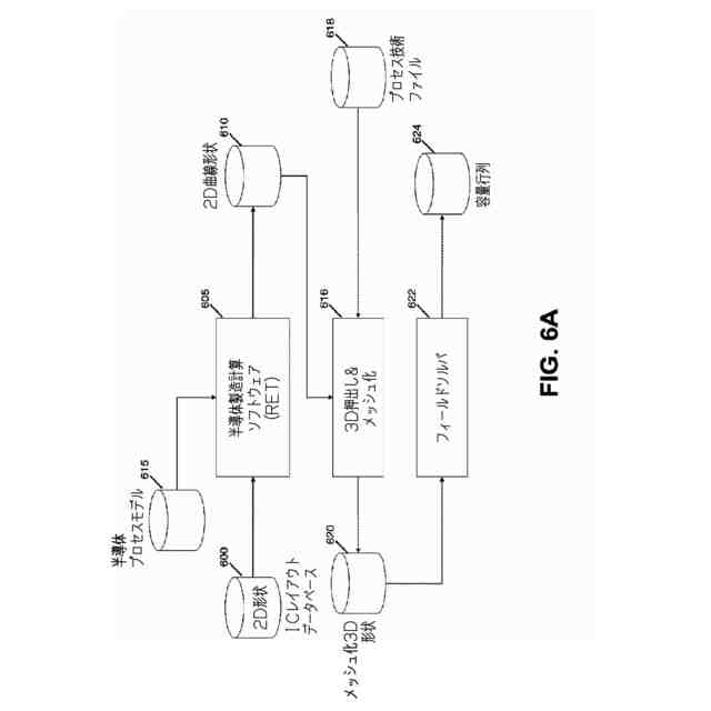
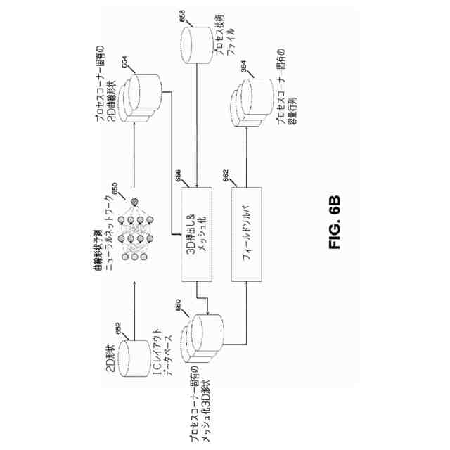
いくつかの実施形態は、集積回路(Integrated Circuit、IC)基板上に製造されるパターンの寄生パラメータを計算するための方法を提供する。本方法は、ワイヤ(wire)構造の定義を入力として受け取る。本方法は、ワイヤ構造をラスタライズして(例えば、ワイヤ構造のピクセルベースの定義を生成して)、いくつかの画像を生成する。ワイヤ構造をラスタライズする前に、本方法は、いくつかの実施形態では、ワイヤ構造をいくつかの構成要素(例えば、いくつかのワイヤ、ワイヤセグメント、又はワイヤ構造部分)に分解し、次いで、それらを個々にラスタライズする。次いで、本方法は、ニューラルネットワークへの入力として画像を使用し、次いで、ニューラルネットワークは、ワイヤ構造に関連付けられた寄生パラメータを計算する。いくつかの実施形態では、寄生パラメータは、ワイヤ構造に及ぼされる望ましくない寄生容量効果を含む。これに加えて又は代替的に、これらのパラメータは、ワイヤ構造への望ましくない寄生抵抗及び/又はインダクタンス効果を含む。
【0008】
いくつかの実施形態は、半導体設計から寄生容量を抽出するようにニューラルネットワークを訓練するための方法を提供する。この方法は、いくつかのワイヤ構造を含む半導体設計を入力として受け取る。本方法は、各ワイヤ構造をいくつかの2D画像にラスタライズする、ラスタライゼーション動作を実行する。各ワイヤ構造について、本方法は、ワイヤ構造を表すための1つ以上の曲線形状を生成する機械訓練されたネットワーク(例えば、ニューラルネットワーク)への入力として、これらの画像を使用する。次いで、本方法は、各ワイヤセグメントの曲線形状のセットを使用して、ニューラルネットワークを訓練する。
【0009】
上記の「発明の概要」は、本発明のいくつかの実施形態の簡単な紹介として役立つことを意図している。それは、本明細書に開示される全ての発明の主題の紹介又は概要であることを意図したものではない。以下の「発明を実施するための形態」、及び「発明を実施するための形態」で参照される「図面」は、「発明の概要」で説明される実施形態だけでなく他の実施形態も更に説明する。したがって、本明細書によって説明される全ての実施形態を理解するためには、「発明の概要」、「発明を実施するための形態」、「図面」、及び「特許請求の範囲」を十分に考察する必要がある。更に、特許請求される主題は、「発明の概要」、「発明を実施するための形態」、及び「図面」における例示的な詳細によって限定されるものではない。
【0010】
本発明の新規な特徴を、添付の特許請求の範囲に記載する。しかしながら、説明の目的のために、本発明のいくつかの実施形態を以下の図に記載する。
【図面の簡単な説明】
(【0011】以降は省略されています)
この特許をJ-PlatPat(特許庁公式サイト)で参照する
関連特許
個人
詐欺保険
27日前
個人
縁伊達ポイン
27日前
個人
5掛けポイント
3日前
個人
RFタグシート
14日前
個人
QRコードの彩色
1か月前
個人
ペルソナ認証方式
11日前
個人
地球保全システム
1か月前
個人
自動調理装置
13日前
個人
情報処理装置
6日前
個人
冷凍食品輸出支援構造
2か月前
個人
為替ポイント伊達夢貯
2か月前
個人
残土処理システム
1か月前
個人
表変換編集支援システム
2か月前
個人
農作物用途分配システム
26日前
個人
タッチパネル操作指代替具
20日前
個人
インターネットの利用構造
10日前
個人
知的財産出願支援システム
1か月前
個人
知財出願支援AIシステム
2か月前
個人
携帯端末障害問合せシステム
19日前
個人
スケジュール調整プログラム
19日前
個人
AIによる情報の売買の仲介
2か月前
個人
行動時間管理システム
2か月前
個人
パスワード管理支援システム
2か月前
個人
システム及びプログラム
1か月前
個人
AIキャラクター制御システム
2か月前
個人
海外支援型農作物活用システム
1か月前
株式会社キーエンス
受発注システム
1か月前
株式会社キーエンス
受発注システム
1か月前
個人
パスポートレス入出国システム
2か月前
株式会社アジラ
進入判定装置
2か月前
個人
エリアガイドナビAIシステム
11日前
株式会社キーエンス
受発注システム
1か月前
個人
食品レシピ生成システム
1か月前
日本精機株式会社
施工管理システム
2か月前
株式会社ワコム
電子ペン
5日前
キヤノン株式会社
表示システム
1か月前
続きを見る
他の特許を見る